TOP
|
特許
|
意匠
|
商標
特許ウォッチ
Twitter
他の特許を見る
10個以上の画像は省略されています。
公開番号
2025134448
公報種別
公開特許公報(A)
公開日
2025-09-17
出願番号
2024032349
出願日
2024-03-04
発明の名称
トリポード型等速自在継手
出願人
NTN株式会社
代理人
個人
,
個人
主分類
F16D
3/205 20060101AFI20250909BHJP(機械要素または単位;機械または装置の効果的機能を生じ維持するための一般的手段)
要約
【課題】首部の高強度化を確保でき、トリポード型等速自在継手として、高作動角化を達成でき、しかも、脚軸の研削加工性の向上を達成できるトリボード型等速自在継手を提供できる。
【解決手段】ダブルローラタイプのトリポード型等速自在継手である。脚軸の外周面に、縦断面及び横断面において、トルク伝達方向両側に膨出した凸曲線とされ、かつ、縦断面における凸曲線の曲率中心は、その凸曲線と反対側にオフセットし、横断面における凸曲面の曲率中心は、その凸曲線側にオフセットし、縦断面における凸曲線の曲率半径をrとし、横断面における凸曲面の曲率半径をRとしたときに、r>Rとして、脚軸の横断面形状が長円形状とされる。トリポード部材は、胴部と、脚軸よりも小形の脚軸首部を介して継手半径方向に突出した脚軸とからなり、脚軸首部は、横断面形状が長円形状とされ、脚軸首部の外周部と脚軸の外周部との間に径差が設けられている。
【選択図】図3
特許請求の範囲
【請求項1】
継手軸方向に延びる三本のトラック溝が内周面に形成され、各トラック溝に、継手円周方向に対向する一対のローラ案内面が設けられた外側継手部材と、前記外側継手部材の内周に配され、前記トラック溝に向けて継手半径方向に突出した三つの脚軸を有するトリポード部材と、前記脚軸の外周に配され前記脚軸に回転可能且つ揺動可能な状態で支持されたインナリング及び前記トラック溝に配置され前記インナリングの外径側に配置されたローラ及び前記インナリングと前記ローラの間に配置され前記インナリングと前記アウタリングの間に配置された複数の転動体からなるローラユニット三つとを備えたトリポード型等速自在継手において、
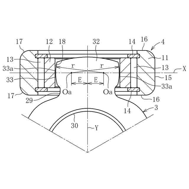
前記脚軸の外周面は、縦断面及び横断面において、トルク伝達方向両側に膨出した凸曲線とされ、かつ、縦断面における凸曲線の曲率中心は、前記脚軸の中心軸に対してその凸曲線と反対側にオフセットし、横断面における凸曲面の曲率中心は、前記脚軸の中心軸に対してその凸曲線側かつ前記トリポード部材の回転方向にオフセットし、縦断面における凸曲線の曲率半径をrとし、横断面における凸曲面の曲率半径をRとしたときに、r>Rとして、前記脚軸の横断面形状が長円形状とされ、
前記トリポード部材は、胴部と、前記脚軸よりも小形の脚軸首部を介して継手半径方向に突出した前記脚軸を有し、前記脚軸首部は、横断面形状が長円形状とされ、前記脚軸首部の外周部の円弧形状部分と脚軸の外周部の円弧形状部分との間に径差が設けられていることを特徴とするトリポード型等速自在継手。
続きを表示(約 700 文字)
【請求項2】
前記インナリングの内周を円筒としたことを特徴とする請求項1に記載のトリポード型等速自在継手。
【請求項3】
ローラの外周面が円筒面形状を有すると共に、前記ローラ案内面が平坦面を有することを特徴とする請求項1に記載のトリポード型等速自在継手。
【請求項4】
前記脚軸首部の横断面形状における凸曲部の曲率中心を、前記脚軸の横断面形状における端部円弧部の曲率中心と一致させ、前記脚軸首部の横断面形状における端部円弧部の曲率半径をR´とし、脚軸の横断面形状における凸曲部の曲率半径とRとしたときに、R´<Rとしたことを特徴とする請求項1に記載のトリポード型等速自在継手。
【請求項5】
R´/Rを、0.80~0.95としたことを特徴とする請求項4に記載のトリポード型等速自在継手。
【請求項6】
前記脚軸首部の横断面形状における短軸方向である首部幅寸法をW´とし、脚軸の横断面形状における円弧部間寸法である脚軸径をDとしたときに、W´/Dを、0.70~0.90とことを特徴とする請求項1に記載のトリポード型等速自在継手。
【請求項7】
前記脚軸の横断面形状における短軸方向である首部幅寸法をWとし、前記脚軸首部の横断面形状における直線部間隔である首部幅寸法をW´としたときに、W´=Wとしたことを特徴とする請求項1に記載のトリポード型等速自在継手。
【請求項8】
脚軸首部の横断面形状における短軸側辺が、直線状乃至微小曲率の円弧形状であることを特徴とする請求項1に記載のトリポード型等速自在継手。
発明の詳細な説明
【技術分野】
【0001】
本発明は、トリポード型等速自在継手に関する。
続きを表示(約 2,900 文字)
【背景技術】
【0002】
自動車の動力伝達系で使用されるドライブシャフトにおいては、インボード側(車幅方向の中央側)に摺動式等速自在継手を設け、アウトボード側(車幅方向の外側)に固定式等速自在継手を設ける場合が多い。ここでいう摺動式等速自在継手は、二軸間の角度変位および軸方向相対移動の双方を許容するものであり、固定式等速自在継手は、二軸間での角度変位を許容するが、二軸間の軸方向相対移動は許容しないものである。
【0003】
摺動式等速自在継手としてトリポード型等速自在継手が公知である。このトリポード型等速自在継手としては、シングルローラタイプとダブルローラタイプとが存在する。シングルローラタイプのトリポード型等速自在継手は、外側継手部材のトラック溝に挿入されるローラを、トリポード部材の脚軸に複数の針状ころを介して回転可能に取り付けたものである。ダブルローラタイプのトリポード型等速自在継手は、図16及び図17に示すように、外側継手部材102のトラック溝105内に配されるローラ111と、トリポード部材103の脚軸132に外嵌してローラ111を回転自在に支持するインナリング112とを備えるものである(例えば、特許文献1参照)。
【0004】
ダブルローラタイプのトリポード型等速自在継手では、図18に示すように、脚軸132の横断面(脚軸の軸線と直交する断面)を楕円形状とすると共に、図16に示すように、インナリング112の内周面を断面凸円弧形状としている。これにより、図19に示すように、ローラ111を脚軸132に対して揺動させることが可能となるため、シングルローラタイプに比べ、誘起スラスト(継手内部での部品間の摩擦により誘起される軸力)とスライド抵抗を低減できるという利点を有する。また、図18に示すように、脚軸132は横断面形状が楕円形状をなすが、この場合、その長軸aがトルク負荷方向と平行に配置され、短軸bがトルク負荷方向と直交する方向に配置される。
【先行技術文献】
【特許文献】
【0005】
特開2000-320563号公報
【発明の概要】
【発明が解決しようとする課題】
【0006】
上記のトリポード型等速自在継手では、図17に示すように、ローラ111の外周面115が円弧状の母線を有する凸曲面であり、これと接触するローラ案内面106は、ローラ111の外周面115の形状に倣った断面凹形状(ゴシックアーチ形状)を有し、これらがアンギュラコンタクトをなしている。そのため、構造上、等速自在継手が作動角を取った状態で回転する際に、図20に示すような継手軸方向と直交する断面で、ローラ111及びインナリング112を含むローラユニット104が矢印B方向に傾く現象(以下、「左右傾き」と言う。)や、図21に示すような継手軸方向と平行な断面で、ローラユニット104が矢印C方向に傾く現象(以下、「前後傾き」と言う。)が発生する。ローラユニット104に左右傾きや前後傾きが発生すると、ローラ111とローラ案内面106との接触部における転がり摺動抵抗や、ローラユニット104の脚軸32に対する回転抵抗が大きくなる。さらに、ローラユニット104内の針状ころ117がローラ案内面106に対し、外側継手部材102の軸線方向に転がることができなくなるため、摺動抵抗が増加する。これらの要因が著しい場合、誘起スラストやスライド抵抗が大きくなり、等速自在継手のNVH(Noise,Vibration,Harshness)特性が悪化するという問題がある。
【0007】
また、上記のトリポード型等速自在継手では、脚軸132の横断面が楕円形状であり、且つ、インナリング112の内周面が断面凸円弧形状であるため、インナリング112と脚軸132との接触が略点接触となり、脚軸132の動きに伴ってローラユニット104を傾かせるように作用する摩擦モーメントを抑制できる。また、継手が角度を取ったときでも、脚軸132が、インナリング112の幅方向(脚軸132の軸線方向)中央部と接触するため、左右傾きを抑制する構造になっている。しかし、継手が大きな角度を取ったとき、脚軸132の横断面が楕円形であることで、ローラユニット104に前後傾き(図21参照)を発生させる力が生じる。また、脚軸132とインナリング112との接触面積が小さいため、極めて厳しい車両使用条件などによる高トルク負荷時などにおいて両者の接触面の面圧が大きくなり、脚軸132の耐久性への影響が懸念される。
【0008】
そこで、本発明は、首部の高強度化を確保でき、トリポード型等速自在継手として、高作動角化を達成でき、しかも、脚軸の研削加工性の向上を達成できるトリボード型等速自在継手を提供できる。
【課題を解決するための手段】
【0009】
本発明のトリポード等速自在継手は、継手軸方向に延びる三本のトラック溝が内周面に形成され、各トラック溝に、継手円周方向に対向する一対のローラ案内面が設けられた外側継手部材と、前記外側継手部材の内周に配され、前記トラック溝に向けて継手半径方向に突出した三つの脚軸を有するトリポード部材と、前記脚軸の外周に配され前記脚軸に回転可能且つ揺動可能な状態で支持されたインナリング及び前記トラック溝に配置され前記インナリングの外径側に配置されたローラ及び前記インナリングと前記ローラの間に配置され前記インナリングと前記アウタリングの間に配置された複数の転動体からなるローラユニット三つとを備えたトリポード型等速自在継手において、前記脚軸の外周面は、縦断面及び横断面において、トルク伝達方向両側に膨出した凸曲線とされ、かつ、縦断面における凸曲線の曲率中心は、前記脚軸の中心軸に対してその凸曲線と反対側にオフセットし、横断面における凸曲面の曲率中心は、前記脚軸の中心軸に対してその凸曲線側かつ前記トリポード部材の回転方向にオフセットし、縦断面における凸曲線の曲率半径をrとし、横断面における凸曲面の曲率半径をRとしたときに、r>Rとして、前記脚軸の横断面形状が長円形状とされ、前記トリポード部材は、胴部と、前記脚軸よりも小形の脚軸首部を介して継手半径方向に突出した前記脚軸を有し、前記脚軸首部は、横断面形状が長円形状とされ、前記脚軸首部の外周部の円弧形状部分と脚軸の外周部の円弧形状部分との間に径差が設けられているものである。
【0010】
本発明のトリポード等速自在継手によれば、トリポード部材の首部は、横断面形状においてトルク負荷側の肉厚が大となる長円形状となり、トリポード部材のトルク負荷方向に対して首部の肉厚を厚くすることができる。また、逆にトルク負荷方向と直交する方向の寸法(幅寸法)を小さくすることができ、高作動角時の首部とローラカセットの内径(つまり、インナリングの内径)との干渉を回避することが可能となる。
(【0011】以降は省略されています)
この特許をJ-PlatPat(特許庁公式サイト)で参照する
関連特許
NTN株式会社
基板
6日前
NTN株式会社
玉軸受
14日前
NTN株式会社
玉軸受
1か月前
NTN株式会社
玉軸受
15日前
NTN株式会社
玉軸受
7日前
NTN株式会社
ハンド
1日前
NTN株式会社
密封装置
1か月前
NTN株式会社
ころ軸受
2か月前
NTN株式会社
軸受装置
13日前
NTN株式会社
ころ軸受
2か月前
NTN株式会社
ころ軸受
2か月前
NTN株式会社
把持装置
1日前
NTN株式会社
把持装置
1日前
NTN株式会社
転がり軸受
1か月前
NTN株式会社
転がり軸受
1か月前
NTN株式会社
転がり軸受
7日前
NTN株式会社
転がり軸受
1日前
NTN株式会社
深溝玉軸受
1か月前
NTN株式会社
転がり軸受
1か月前
NTN株式会社
状態監視装置
2か月前
NTN株式会社
軸受用保持器
27日前
NTN株式会社
等速自在継手
13日前
NTN株式会社
円筒ころ軸受
15日前
NTN株式会社
焼結合金軸受
2か月前
NTN株式会社
状態監視装置
今日
NTN株式会社
円筒ころ軸受
1か月前
NTN株式会社
球面滑り軸受
1か月前
NTN株式会社
基板取付構造
13日前
NTN株式会社
車輪用軸受装置
1か月前
NTN株式会社
車輪用軸受装置
1か月前
NTN株式会社
車輪用軸受装置
1か月前
NTN株式会社
車輪用軸受装置
15日前
NTN株式会社
電動モータ装置
15日前
NTN株式会社
絶縁転がり軸受
29日前
NTN株式会社
車輪用軸受装置
2か月前
NTN株式会社
保持器付きころ
3日前
続きを見る
他の特許を見る