TOP
|
特許
|
意匠
|
商標
特許ウォッチ
Twitter
他の特許を見る
公開番号
2025135949
公報種別
公開特許公報(A)
公開日
2025-09-19
出願番号
2024034051
出願日
2024-03-06
発明の名称
自動販売機
出願人
サンデン・リテールシステム株式会社
代理人
個人
,
個人
,
個人
,
個人
主分類
G07F
11/00 20060101AFI20250911BHJP(チェック装置)
要約
【課題】2組の商品収納ラックの商品棚にまたがって搭載された商品を安定して搬送することができる自動販売機を提供する。
【解決手段】隣り合う2基の商品収納ラック8の相互の商品棚16にまたがって商品が載置され、当該2基の商品収納ラック8の駆動モータ34を連係駆動して相互の商品棚16にまたがって載置された商品を落下搬出させるペアコラム販売モード61において、当該2基の商品収納ラック8の一方の商品収納ラック8における商品棚16の下降速度と他方の商品収納ラック8における商品棚16の下降速度とが異なる場合に、制御部50は、速度調整指令が入力されると、隣り合う2基の商品ラック機構の少なくともいずれか一方の商品ラック機構9の駆動モータ34を制御して、一方の商品収納ラック8における商品棚16の下降速度と他方の商品収納ラック8における商品棚16の下降速度とを同一にする自動販売機である。
【選択図】図6
特許請求の範囲
【請求項1】
本体の内部に設けられた収納庫と、
前記収納庫内において水平方向に配置された複数の商品ラック機構と、
前記複数の商品ラック機構のそれぞれを制御する制御部と、
を備え、
前記複数の商品ラック機構のそれぞれは、上下一対の回転体間に掛け渡された無端環状体と、商品が載置される複数の商品棚であって、前記無端環状体の周方向に互いに間隔をあけて前記無端環状体に取り付けられた複数の商品棚と、前記無端環状体を駆動して前記複数の商品棚を下方に移動させる駆動部と、前記商品棚が前記無端環状体の下端よりも上方の販売待機位置に到達したことを検知する検知部と、を備え、
隣り合う2基の前記商品ラック機構の一方の前記商品ラック機構の前記商品棚と他方の前記商品ラック機構の前記商品棚との相互の前記商品棚にまたがって商品が載置され、当該2基の商品ラック機構の前記駆動部を連係駆動させて当該相互の商品棚を下方へ移動させ、当該相互の商品棚にまたがって載置された商品を前記無端環状体の下端近傍で落下搬出させると共に、当該相互の商品棚に後続する前記商品棚である後続商品棚が販売待機位置に到達したことを前記検知部が検知すると前記駆動部を停止させて前記後続商品棚を販売待機位置で停止させるペアコラム販売モードを有し、
前記ペアコラム販売モードにおいて、一方の前記商品ラック機構の前記商品棚が下方に移動する下降速度と他方の前記商品ラック機構の前記商品棚が下方に移動する下降速度とが異なる場合に、前記制御部は、速度調整指令が入力されると、隣り合う2基の前記商品ラック機構の少なくともいずれか一方の前記商品ラック機構の前記駆動部を制御して、一方の前記商品ラック機構の前記商品棚が下方に移動する下降速度と、他方の前記商品ラック機構の前記商品棚が下方に移動する下降速度とを同一にすることを特徴とする自動販売機。
続きを表示(約 3,400 文字)
【請求項2】
前記駆動部が駆動を開始してからの経過時間を計測するタイマーを有し、
前記制御部は、速度調整指令が入力されると、一方の前記商品ラック機構における前記駆動部が駆動を開始してから前記後続商品棚が前記販売待機位置に到達したことを前記検知部が検知するまでの経過時間と他方の前記商品ラック機構における前記駆動部が駆動を開始してから前記後続商品棚が前記販売待機位置に到達したことを前記検知部が検知するまでの経過時間との差に基づき、隣り合う2基の前記商品ラック機構の少なくともいずれか一方の前記商品ラック機構の前記駆動部の回転速度を変化させて、一方の前記商品ラック機構の前記商品棚が下方に移動する下降速度と他方の前記商品ラック機構の前記商品棚が下方に移動する下降速度とを同一にすることを特徴とする請求項1に記載の自動販売機。
【請求項3】
前記制御部は、前記駆動部への通電率を変化させるPWM制御により前記駆動部の回転速度を制御しており、
前記制御部は、速度調整指令が入力されると、隣り合う2基の前記商品ラック機構の一方の前記商品ラック機構における前記経過時間と他方の前記商品ラック機構における前記経過時間との差に基づき、隣り合う2基の前記商品ラック機構の少なくともいずれか一方の前記商品ラック機構の前記駆動部の通電率を変化させて、一方の前記商品ラック機構の前記商品棚が下方に移動する下降速度と他方の前記商品ラック機構の前記商品棚が下方に移動する下降速度とを同一にすることを特徴とする請求項2に記載の自動販売機。
【請求項4】
隣り合う2基の前記商品ラック機構の一方の前記商品ラック機構の前記商品棚が下方に移動する下降速度と他方の前記商品ラック機構の前記商品棚が下方に移動する下降速度とが異なる場合に、前記制御部は、前記下降速度が速い方の前記商品ラック機構の前記駆動部の回転速度を変化させて、一方の前記商品ラック機構の前記商品棚が下方に移動する下降速度と他方の前記商品ラック機構の前記商品棚が下方に移動する下降速度とを同一にすることを特徴とする請求項1に記載の自動販売機。
【請求項5】
前記制御部は、速度調整指令が入力されると、隣り合う2基の前記商品ラック機構の一方の前記商品ラック機構における前記駆動部の回転速度と他方の前記商品ラック機構における前記駆動部の回転速度との差に基づき、隣り合う2基の前記商品ラック機構の少なくともいずれか一方の前記商品ラック機構の前記駆動部の回転速度を変化させて、一方の前記商品ラック機構の前記商品棚が下方に移動する下降速度と他方の前記商品ラック機構の前記商品棚が下方に移動する下降速度とを同一にすることを特徴とする請求項1に記載の自動販売機。
【請求項6】
前記制御部は、前記駆動部への通電率を変化させるPWM制御により前記駆動部の回転速度を制御しており、
前記制御部は、速度調整指令が入力されると、隣り合う2基の前記商品ラック機構の一方の前記商品ラック機構における前記駆動部の回転速度と他方の前記商品ラック機構における前記駆動部の回転速度との差に基づき、隣り合う2基の前記商品ラック機構の少なくともいずれか一方の前記商品ラック機構の前記駆動部の通電率を変化させて、一方の前記商品ラック機構の前記商品棚が下方に移動する下降速度と他方の前記商品ラック機構の前記商品棚が下方に移動する下降速度とを同一にすることを特徴とする請求項5に記載の自動販売機。
【請求項7】
作業者が操作する動作確認スイッチを有しており、
前記動作確認スイッチがONされると、前記制御部に前記速度調整指令が入力されることを特徴とする請求項1から6のいずれか1項に記載の自動販売機。
【請求項8】
当該相互の商品棚にまたがって載置された商品を前記無端環状体の下端近傍で落下搬出させると、前記制御部に前記速度調整指令が入力されることを特徴とする請求項1から6のいずれか1項に記載の自動販売機。
【請求項9】
本体の内部に設けられた収納庫と、
前記収納庫内において水平方向に配置される複数の商品ラック機構と、
前記複数の商品ラック機構のそれぞれを制御する制御部と、
を備え、
前記複数の商品ラック機構のそれぞれは、上下方向に渦巻き状に延びて上下方向に所定間隔で複数の商品を支持すると共に縦軸中心に回転可能な商品支持用スパイラルと、前記商品支持用スパイラルに支持される前記複数の商品が前記商品支持用スパイラルと共に回転することを阻止する回転阻止部と、前記商品支持用スパイラルを回転させて前記複数の商品を上方から下方に向けて移動させる駆動部と、前記商品支持用スパイラルが所定の回転位置に到達したことを検知して前記駆動部を停止させるための検知部と、
を備え、
前記商品支持用スパイラルが回転を開始してから前記検知部の検知によって前記商品支持用スパイラルが前記所定の回転位置で停止するまでの回転角は前記所定間隔に対応する回転角であり、
隣り合う2基の前記商品ラック機構の一方の前記商品ラック機構の前記商品支持用スパイラルと他方の前記商品ラック機構の前記商品支持用スパイラルとの相互の前記商品支持用スパイラルにまたがって商品が支持され、当該2基の商品ラック機構の前記駆動部を連係駆動させて相互の前記商品支持用スパイラルにまたがって支持される商品を下方へ移動させ、相互の前記商品支持用スパイラルの最下位にまたがって支持される商品を前記商品支持用スパイラルの下端から落下搬出させると共に、相互の前記商品支持用スパイラルが前記所定の回転位置に到達したことを前記検知部が検知すると相互の前記商品支持用スパイラルの回転を停止させペアコラム販売モードを有し、
前記ペアコラム販売モードにおいて、一方の前記商品ラック機構の前記商品支持用スパイラルの回転速度と他方の前記商品ラック機構の前記商品支持用スパイラルの回転速度とが異なる場合に、前記制御部は、速度調整指令が入力されると、隣り合う2基の前記商品ラック機構の少なくともいずれか一方の前記商品ラック機構の前記駆動部を制御して、一方の前記商品ラック機構の前記商品支持用スパイラルの回転速度と、他方の前記商品ラック機構の前記商品支持用スパイラルの回転速度とを同一にすることを特徴とする自動販売機。
【請求項10】
本体の内部に設けられた収納庫と、
前記収納庫内において水平方向に配置される複数の商品ラック機構と、
前記複数の商品ラック機構のそれぞれを制御する制御部と、
を備え、
前記複数の商品ラック機構のそれぞれは、上下方向に所定間隔で複数の商品を支持する商品移動体であって、動作により前記複数の商品を上方から下方に向けて移動させる商品移動体と、前記商品移動体を動作させる駆動部と、前記商品移動体が所定の動作位置に到達したことを検知して前記駆動部を停止させるための検知部と、を備え、
隣り合う2基の前記商品ラック機構の一方の前記商品ラック機構の前記商品移動体と他方の前記商品ラック機構の前記商品移動体との相互の前記商品移動体にまたがって商品が支持され、当該2基の商品ラック機構の前記駆動部を連係駆動させて相互の前記商品移動体にまたがって支持される商品を下方へ移動させ、相互の前記商品移動体の最下位にまたがって支持される商品を前記商品移動体の下端部から落下搬出させると共に、相互の前記商品移動体が前記所定の動作位置に到達したことを前記検知部が検知すると相互の前記商品移動体の動作を停止させペアコラム販売モードを有し、
前記ペアコラム販売モードにおいて、一方の前記商品ラック機構の前記商品移動体の動作速度と他方の前記商品ラック機構の前記商品移動体の動作速度とが異なる場合に、前記制御部は、速度調整指令が入力されると、隣り合う2基の前記商品ラック機構の少なくともいずれか一方の前記商品ラック機構の前記駆動部を制御して、一方の前記商品ラック機構の前記商品移動体の動作速度と、他方の前記商品ラック機構の前記商品移動体の動作速度とを同一にすることを特徴とする自動販売機。
発明の詳細な説明
【技術分野】
【0001】
本発明は、無端チェーンなどの無端環状体により、商品が載置された複数の商品棚を順次下降させて下端近傍の商品棚から商品を落下搬出させる商品ラック機構を有する自動販売機に関する。
続きを表示(約 2,900 文字)
【背景技術】
【0002】
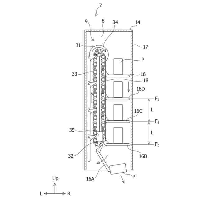
商品が載置された複数の棚板を順次下降させながら、商品を棚板から落下搬出させる従来の自動販売機は、複数のチェーンエレベータ式ラック機構(商品ラック機構)を備え、各商品ラック機構は個別に商品収納ラックに配置され、隣り合う商品収納ラックはコラム仕切板によって仕切られている。各商品ラック機構は、上下一対のスプロケット間に張られた無端チェーンと、無端チェーンに定ピッチで連結されて商品が載置される複数の棚板(商品棚)と、無端チェーンを駆動して複数の棚板を下方向に移動させる駆動モータと、下方に移動する棚板が無端チェーンの下端よりも上方の販売待機位置に到達したことを検知する棚板検知スイッチと、を有する。この商品ラック機構を備えている自動販売機は、商品搬出指令が入力されると、駆動モータで無端チェーンを駆動し、販売待機位置で停止していた棚板を無端チェーンの下端近傍まで移動させ、商品を落下搬出させる。商品を落下搬出させた棚板に後続する棚板が棚板検知スイッチによって検知されると販売待機位置で停止する。
【0003】
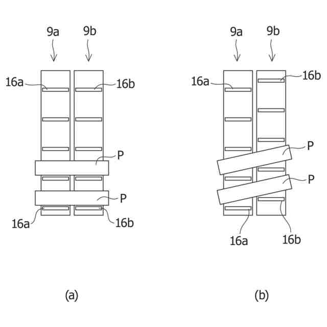
近年、自動販売機においては、多様なニーズに応えるため、販売する商品の外形、サイズはますます多種多様化の傾向にある。そこで、特許文献1に記載された商品ラック機構を有する自動販売機では、同一仕様の商品ラック機構で小形サイズから大形サイズまでの商品を販売するために、隣り合う商品収納ラックのコラム仕切板を取り外して、隣り合う2基の商品ラック機構の相互の棚板にまたがって大型サイズの商品を載置し、商品搬出指令が入力されると、当該2基の商品ラック機構の駆動モータを連係駆動させて、当該相互の棚板にまたがって載置された大型サイズの商品を下方へ搬送して落下搬出させる(ペアコラム販売モード)。
【先行技術文献】
【特許文献】
【0004】
特開平09-50574号公報
【発明の概要】
【発明が解決しようとする課題】
【0005】
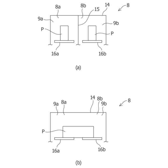
しかし、ペアコラム販売モードで大型サイズの商品を下方へ搬送する場合、当該2基の商品ラック機構の相互の棚板にまたがって載置された大型サイズの商品の載置状態や商品の形状、重心位置によっては、当該相互の棚板の一方の棚板が支える荷重と他方の棚板が支える荷重とが異なってしまう場合がある。その場合、一方の棚板の下降速度と他方の棚板の下降速度とは異なってきてしまうことから、下降する一方の棚板の高さ方向の位置と他方の棚板の高さ方向の位置とが異なってくる。その結果、当該相互の棚板に載置された大型サイズの商品は斜めの状態で搬送されてしまうので落下するおそれがある。
【0006】
本発明は、上記のような実状に鑑みてなされたものであり、その目的は、複数の商品ラック機構を備えた自動販売機であって、ペアコラム販売モードにおいて、2基の商品ラック機構の相互の棚板にまたがって載置された商品を安定して搬送するとともに、棚板の停止するタイミングを揃えることができる自動販売機を提供することである。
【課題を解決するための手段】
【0007】
本発明の一態様は、本体の内部に設けられた収納庫と、収納庫内において水平方向に配置された複数の商品ラック機構と、複数の商品ラック機構のそれぞれを制御する制御部と、を備え、複数の商品ラック機構のそれぞれは、上下一対の回転体間に掛け渡された無端環状体と、商品が載置される複数の商品棚であって、無端環状体の周方向に互いに間隔をあけて無端環状体に取り付けられた複数の商品棚と、無端環状体を駆動して複数の商品棚を下方に移動させる駆動部と、商品棚が無端環状体の下端よりも上方の販売待機位置に到達したことを検知する検知部と、を備え、隣り合う2基の商品ラック機構の一方の商品ラック機構の商品棚と他方の商品ラック機構の商品棚との相互の前記商品棚にまたがって商品が載置され、当該2基の商品ラック機構の駆動部を連係駆動させて当該相互の商品棚を下方へ移動させ、当該相互の商品棚にまたがって載置された商品を無端環状体の下端近傍で落下搬出させると共に、当該相互の商品棚に後続する商品棚である後続商品棚が販売待機位置に到達したことを検知部が検知すると駆動部を停止させて後続商品棚を販売待機位置で停止させるペアコラム販売モードを有し、ペアコラム販売モードにおいて、一方の商品ラック機構の商品棚が下方に移動する下降速度と他方の商品ラック機構の商品棚が下方に移動する下降速度とが異なる場合に、制御部は、速度調整指令が入力されると、隣り合う2基の商品ラック機構の少なくともいずれか一方の商品ラック機構の駆動部を制御して、一方の商品ラック機構の商品棚が下方に移動する下降速度と、他方の商品ラック機構の商品棚が下方に移動する下降速度とを同一にする自動販売機である。
【発明の効果】
【0008】
本発明の一態様によれば、複数の商品ラック機構を備えた自動販売機であって、ペアコラム販売モードにおいて、2組の商品ラック機構の相互の棚板にまたがって載置された商品を安定して搬送するとともに、棚板の停止するタイミングを揃えることができる自動販売機を提供できる。
【図面の簡単な説明】
【0009】
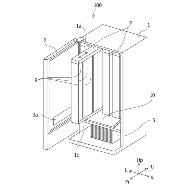
本発明の第一実施形態による自動販売機を正面側から視た斜視図である。
本発明の第一実施形態による自動販売機の自動販売機の側面断面図である。
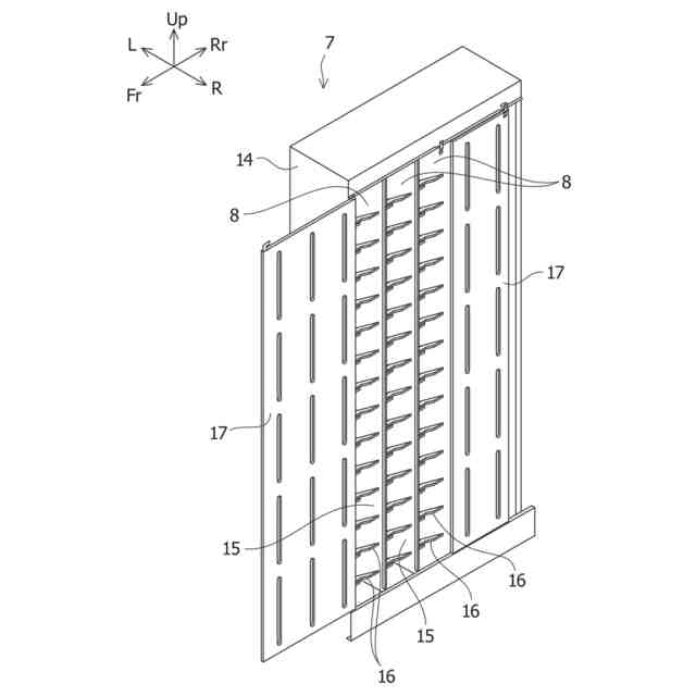
本発明の第一実施形態による自動販売機の商品ラックユニットを正面側から視た斜視図である。
本発明の第一実施形態による自動販売機の商品ラック機構を示す概略図である。
本発明の第一実施形態による自動販売機の商品ラック機構に組み込んだ商品棚検知スイッチの動作を示す図であり、(a)は商品棚が下降途中にある状態を示す図であり、(b)は商品棚が販売待機位置に配置された状態を示す図である。
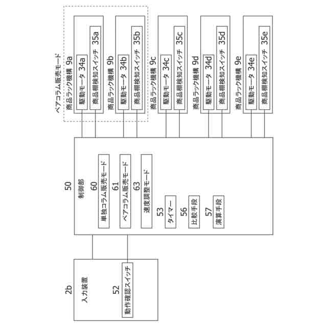
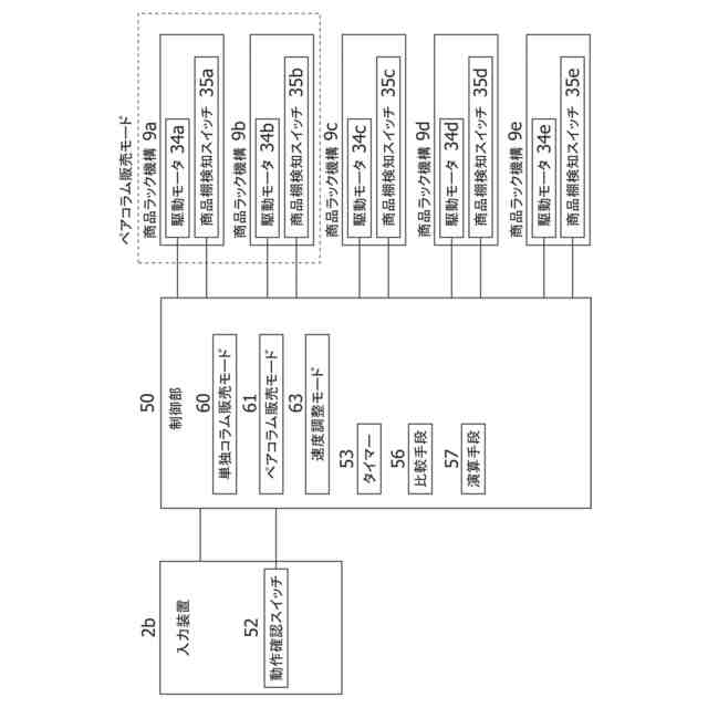
本発明の第一実施形態による自動販売機の制御ブロック図である。
本発明の第一実施形態による自動販売機の隣り合う商品収納ラックを示す正面図であり、(a)は仕切板が設けられて、単独コラム販売モードにおける商品棚の配置状態を示す図であり、(b)は仕切板が外されて、ペアコラム販売モードにおける商品棚の配置状態を示す図である。
本発明の第一実施形態による自動販売機のペアコラム販売モードにおける商品棚の配置状態を示す図であり、(a)は商品棚の正常な状態を示す図であり、(b)は商品棚の正常でない状態を示す図である。
【発明を実施するための形態】
【0010】
以下、本発明の実施形態について、図面を参照しながら詳細に説明する。本発明の実施形態による自動販売機は、商品棚を有する複数の商品ラックが水平方向(本実施形態においては前後方向)に並べられた自動販売機である。
(【0011】以降は省略されています)
この特許をJ-PlatPat(特許庁公式サイト)で参照する
関連特許
株式会社イシダ
商品処理装置
2日前
株式会社バンダイ
物品供給装置
2か月前
株式会社バンダイ
物品供給装置
2か月前
株式会社バンダイ
物品供給装置
2か月前
株式会社バンダイ
物品供給装置
2か月前
富士電機株式会社
通貨識別装置
2か月前
沖電気工業株式会社
媒体処理装置
1か月前
沖電気工業株式会社
媒体処理装置
1か月前
沖電気工業株式会社
媒体処理装置
1か月前
沖電気工業株式会社
紙幣処理装置
1か月前
株式会社ライト
情報処理装置
1か月前
富士電機株式会社
自動販売機
1か月前
株式会社ライト
情報処理装置
1か月前
株式会社ライト
情報処理装置
2か月前
富士電機株式会社
金銭処理装置
2か月前
株式会社デンソー
車載器
今日
トヨタ車体株式会社
出入検知装置
3か月前
グローリー株式会社
硬貨処理装置
2か月前
トヨタ車体株式会社
出入検知装置
3か月前
グローリー株式会社
物品投出装置
24日前
株式会社トイスピリッツ
景品提供システム
1か月前
日本金銭機械株式会社
硬貨処理装置
4日前
日本金銭機械株式会社
硬貨処理装置
4日前
トヨタ自動車株式会社
記録装置
3か月前
パイオニア株式会社
ドライブレコーダ
3か月前
ユニティガードシステム株式会社
入館監視システム
1か月前
旭精工株式会社
紙葉類処理装置および紙葉類処理方法
14日前
沖電気工業株式会社
媒体処理装置
28日前
沖電気工業株式会社
現金処理装置及び印字装置
14日前
沖電気工業株式会社
現金処理装置
1か月前
沖電気工業株式会社
媒体処理装置
3か月前
沖電気工業株式会社
棒金収納装置
1日前
沖電気工業株式会社
媒体処理装置
3か月前
沖電気工業株式会社
棒金収納装置
1か月前
株式会社東芝
ドア構造
1か月前
独立行政法人 国立印刷局
画像観察装置及び画像観察方法
1か月前
続きを見る
他の特許を見る