TOP
|
特許
|
意匠
|
商標
特許ウォッチ
Twitter
他の特許を見る
公開番号
2025136226
公報種別
公開特許公報(A)
公開日
2025-09-19
出願番号
2024034532
出願日
2024-03-07
発明の名称
光源装置及び投影装置
出願人
カシオ計算機株式会社
代理人
弁理士法人コスモ国際特許事務所
主分類
G03B
21/14 20060101AFI20250911BHJP(写真;映画;光波以外の波を使用する類似技術;電子写真;ホログラフイ)
要約
【課題】小型に構成することができると共に、光の利用効率を向上させた光源装置及び投影装置を提供する。
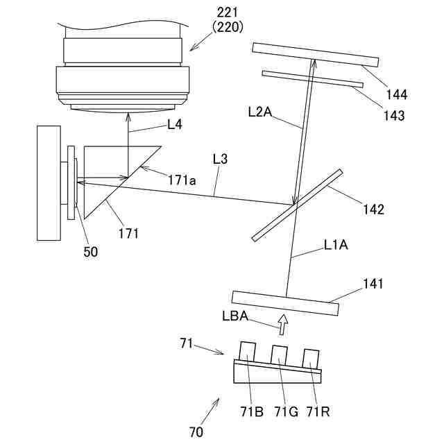
【解決手段】光源装置60を備える投影装置10は、複数のレーザダイオード71を備え、各レーザダイオード71の偏光方向を揃えた光LB,LBAを出射可能に設けられる光出射装置70,70Aと、光出射装置70,70Aからの光LB,LBAが入射される回折光学素子141と、光LB,LBAの偏光方向に応じて、回折光学素子141からの光L1,L1Aを透過又は反射する偏光ビームスプリッター142と、偏光ビームスプリッター142により反射された光L2又は透過された光L1Aを偏光ビームスプリッター142に向けて反射する反射ミラー144と、偏光ビームスプリッター142と反射ミラー144との間における光路上に設けられるλ/4板143と、を有する。
【選択図】図3
特許請求の範囲
【請求項1】
複数の光源を備え、各前記光源の偏光方向を揃えた光を出射可能に設けられる光出射装置と、
前記光出射装置からの前記光が入射される回折光学素子と、
前記偏光方向に応じて、前記回折光学素子からの光を透過又は反射する偏光ビームスプリッターと、
前記偏光ビームスプリッターにより透過又は反射された光を前記偏光ビームスプリッターに向けて反射する反射ミラーと、
前記偏光ビームスプリッターと前記反射ミラーとの間における光路上に設けられるλ/4板と、
を有する光源装置。
続きを表示(約 810 文字)
【請求項2】
前記回折光学素子を介して出射される迷光を逃がすように前記光出射装置、前記回折光学素子、前記偏光ビームスプリッター及び前記反射ミラーが配置される、請求項1に記載の光源装置。
【請求項3】
前記光出射装置は、少なくとも一の前記光源に対応して設けられるλ/2板を含む、請求項1に記載の光源装置。
【請求項4】
前記回折光学素子は、各前記光源に対応した複数の回折光学素子領域を有する、請求項1に記載の光源装置。
【請求項5】
前記光出射装置は、赤色波長帯域光を出射する赤色レーザダイオードと、緑色波長帯域光を出射する緑色レーザダイオードと、青色波長帯域光を出射する青色レーザダイオードを含むマルチチップパッケージを有する、請求項1に記載の光源装置。
【請求項6】
前記偏光ビームスプリッターは、前記回折光学素子からの光を前記λ/4板を介して前記反射ミラーに向けて反射して、前記λ/4板を介して入射する前記反射ミラーからの光を透過する、請求項1に記載の光源装置。
【請求項7】
請求項1乃至請求項6の何れかに記載の光源装置と、
画像光を生成する表示素子と、
前記表示素子から出射された前記画像光を被投影体に投影する投影光学系と、
前記光源装置と前記表示素子とを制御する制御部と、を有する投影装置。
【請求項8】
前記回折光学素子を介して出射された迷光を前記表示素子の有効エリアの範囲外に逃がす逃がし光路を有する、請求項7に記載の投影装置。
【請求項9】
前記光源装置は、前記光出射装置と、前記回折光学素子との間における光路上、又は前記回折光学素子から出射した光の光路上で前記光を集光するためのレンズを介さずに前記表示素子に向けて前記光を出射する請求項7に記載の投影装置。
発明の詳細な説明
【技術分野】
【0001】
本発明は、光源装置及び投影装置に関する。
続きを表示(約 1,700 文字)
【背景技術】
【0002】
従来から、レーザダイオード等の光源からの光を回折光学素子(DOE;Diffractive Optical Element)により成形して表示素子に照射して画像光を生成する投影装置が開示されている。例えば、特許文献1には、赤色波長帯域光を出射する第1レーザ光源と、緑色波長帯域光を出射する第2レーザ光源と、青色波長帯域光を出射する第3レーザ光源とを備え、偏光回転素子、偏光分離素子及び回折光学素子を介して各レーザ光源からの光が表示素子に照射される投影装置が開示されている。
【先行技術文献】
【特許文献】
【0003】
特開2007-121842号公報
【発明の概要】
【発明が解決しようとする課題】
【0004】
光源装置を含む投影装置は、小型化の要望があり、よって各光源と光学素子の距離や光学素子間の距離を短くすることが要望されることがある。上記従来の投影装置において、光源からの光が直線に表示素子に照射される場合には、光源と表示素子の距離が短くなることにより、光源の光線角度を大きくすることがある。しかしながら、表示素子は、その仕様によって所定の光線角度の範囲が定められており、よって大きな光線角度では、表示素子の仕様範囲を逸脱する光が生じることがある。そうすると、光源からの光のうち、画像の生成に利用されない光が存在することがあり、そうすると光の利用効率が低下してしまうことがある。
【0005】
本発明は、以上の点に鑑み、小型に構成することができると共に、光の利用効率を向上させた光源装置及び投影装置を提供することを目的とする。
【課題を解決するための手段】
【0006】
本発明の光源装置は、複数の光源を備え、各前記光源の偏光方向を揃えた光を出射可能に設けられる光出射装置と、前記光出射装置からの前記光が入射される回折光学素子と、前記偏光方向に応じて、前記回折光学素子からの光を透過又は反射する偏光ビームスプリッターと、前記偏光ビームスプリッターにより透過又は反射された光を前記偏光ビームスプリッターに向けて反射する反射ミラーと、前記偏光ビームスプリッターと前記反射ミラーとの間における光路上に設けられるλ/4板と、を有する。
【0007】
本発明の投影装置は、上述の光源装置と、画像光を生成する表示素子と、前記表示素子から出射された前記画像光を被投影体に投影する投影光学系と、前記光源装置と前記表示素子とを制御する制御部と、を有する。
【発明の効果】
【0008】
本発明によれば、小型に構成することができると共に、光の利用効率を向上させた光源装置及び投影装置を提供することができる。
【図面の簡単な説明】
【0009】
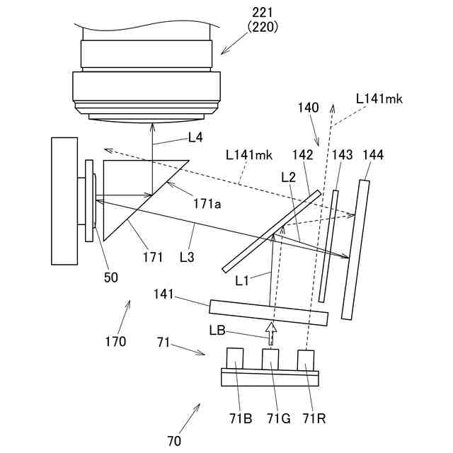
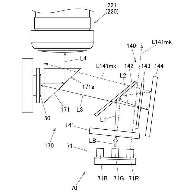
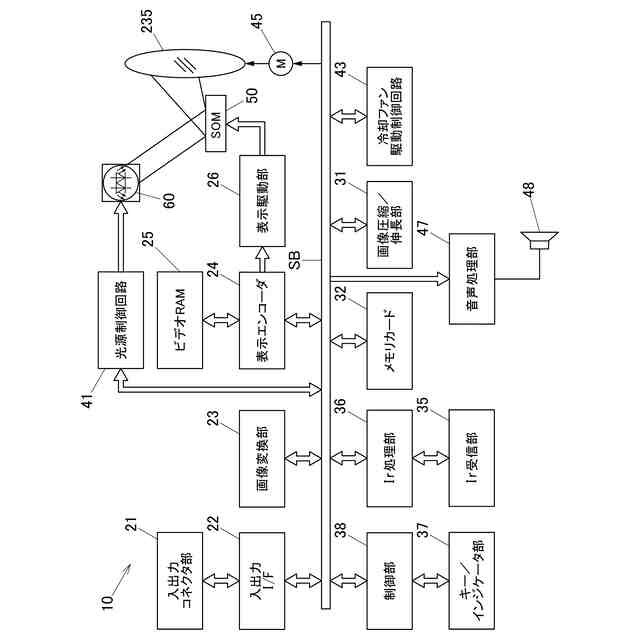
本発明の実施形態に係る投影装置の機能回路ブロックを示す図である。
本発明の実施形態に係る投影装置の内部構造を示す平面模式図である。
本発明の実施形態に係る投影装置の光源装置における要部拡大平面模式図である。
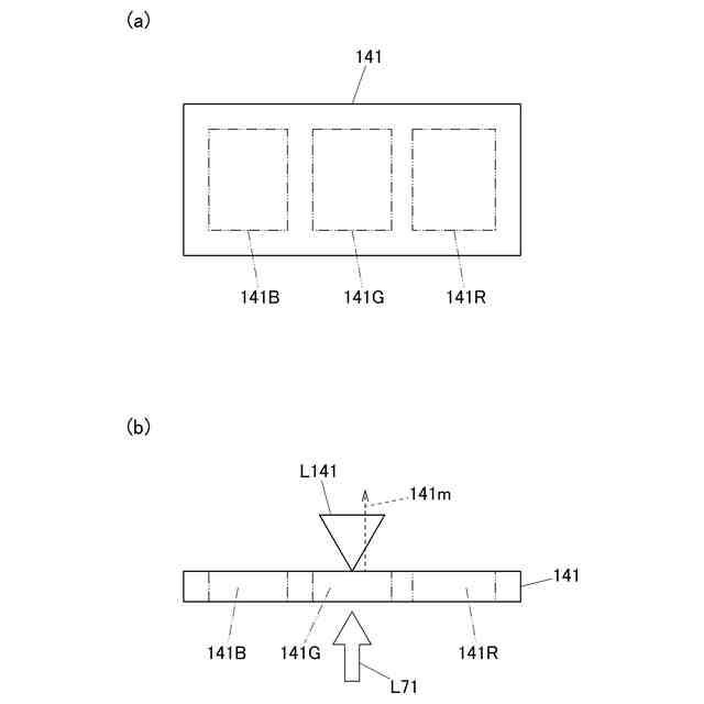
本発明の実施形態に係る投影装置の光源装置における回折光学素子を説明するための図であり、(a)はレーザ光の入射面から見た正面模式図であり、(b)は上から見た平面模式図である。
本発明の実施形態に係る投影装置における光源装置における変形例を示す要部拡大平面模式図である。
【発明を実施するための形態】
【0010】
以下、図面を参照して本発明の実施形態について説明する。図1は、投影装置10の機能回路ブロック図である。投影装置制御部は、画像変換部23と制御部38とを含むCPU、入出力インターフェース22を含むフロントエンドユニット、表示エンコーダ24と表示駆動部26等から構成される。入出力コネクタ部21から入力された各種規格の画像信号は、入出力インターフェース22、システムバスSBを介して画像変換部23で表示に適した所定のフォーマットの画像信号に統一するように変換された後、表示エンコーダ24に出力される。
(【0011】以降は省略されています)
この特許をJ-PlatPat(特許庁公式サイト)で参照する
関連特許
カシオ計算機株式会社
支持台
今日
カシオ計算機株式会社
減音器具
2日前
カシオ計算機株式会社
減音器具
2日前
カシオ計算機株式会社
電子鍵盤楽器
今日
カシオ計算機株式会社
装飾板及び時計
1日前
カシオ計算機株式会社
光源装置及び投影装置
2日前
カシオ計算機株式会社
光源装置及び投影装置
2日前
カシオ計算機株式会社
端末装置及びプログラム
2日前
カシオ計算機株式会社
外装部品ユニット及び時計
今日
カシオ計算機株式会社
電子機器、及び表示制御方法
4日前
カシオ計算機株式会社
カッターユニット及び切断装置
今日
カシオ計算機株式会社
制御装置、方法およびプログラム
4日前
カシオ計算機株式会社
制御装置、方法およびプログラム
4日前
カシオ計算機株式会社
補助バスマスタ回路及び電子機器
4日前
カシオ計算機株式会社
演奏装置、方法およびプログラム
2日前
カシオ計算機株式会社
演奏装置、方法およびプログラム
1日前
カシオ計算機株式会社
ロボット、及びロボットの製造方法
今日
カシオ計算機株式会社
情報処理装置、方法およびプログラム
今日
カシオ計算機株式会社
外装部品、外装部品ユニット及び時計
今日
カシオ計算機株式会社
制御装置、制御方法、及びプログラム
1日前
カシオ計算機株式会社
プログラム、電子機器及び登録処理方法
今日
カシオ計算機株式会社
電子機器、登録処理方法及びプログラム
今日
カシオ計算機株式会社
情報処理装置、表示方法、及びプログラム
4日前
カシオ計算機株式会社
情報処理装置、プログラム及び情報処理方法
今日
カシオ計算機株式会社
情報提供装置、情報提供方法及びプログラム
2日前
カシオ計算機株式会社
音声提供装置、音声提供方法及びプログラム
今日
カシオ計算機株式会社
電子時計、電子時計の制御方法及びプログラム
4日前
カシオ計算機株式会社
電子機器、電子機器の制御方法及びプログラム
4日前
カシオ計算機株式会社
電子楽器、電子楽器の制御方法及びプログラム
今日
カシオ計算機株式会社
情報処理装置、表示制御方法、及びプログラム
今日
カシオ計算機株式会社
印刷装置、印刷装置の制御方法及びプログラム
今日
カシオ計算機株式会社
投影装置、投影装置の調整方法及びプログラム
1日前
カシオ計算機株式会社
投影装置、投影装置の調整方法及びプログラム
1日前
カシオ計算機株式会社
情報処理装置、表示制御方法、及び、プログラム
今日
カシオ計算機株式会社
画像処理装置、プログラム、及び、画像処理方法
今日
カシオ計算機株式会社
機器の制御装置、機器の制御方法及びプログラム
今日
続きを見る
他の特許を見る