TOP
|
特許
|
意匠
|
商標
特許ウォッチ
Twitter
他の特許を見る
10個以上の画像は省略されています。
公開番号
2025136421
公報種別
公開特許公報(A)
公開日
2025-09-19
出願番号
2024034989
出願日
2024-03-07
発明の名称
学習支援装置、学習支援方法およびプログラム
出願人
カシオ計算機株式会社
代理人
弁理士法人鈴榮特許綜合事務所
主分類
G06F
15/02 20060101AFI20250911BHJP(計算;計数)
要約
【課題】計算式に関する課題を複数の生徒によるグループワークで解決するような場合において、効果的な学習を行う学習支援装置を提供する。
【解決手段】学習支援システム1において、関数電卓10の制御部は、外部から受信した計算式を含む計算式情報を記憶部に記憶し、計算式情報に基づいて計算式に対応するグラフを描画するグラフ描画処理と、計算式情報に基づいて計算式に関するユーザの学習を支援する学習支援処理と、を実行する。グラフ描画処理は、連携したグラフの描画を行う他の機器と自機との相対位置を特定し、相対位置に基づいて、計算式に対応するグラフのうちの一部のグラフ範囲であって、他の機器が描画するグラフ範囲とは少なくとも一部が異なるグラフ範囲を、自機が描画すべき一部のグラフ範囲として特定し、計算式の計算結果を示すグラフの特定したグラフ範囲を表示部に表示させる連携グラフ描画処理を含む。
【選択図】図4
特許請求の範囲
【請求項1】
操作部と、表示部と、通信部と、制御部と、記憶部と、を備え、
前記制御部は、
前記通信部を介して外部から受信した計算式を含む計算式情報を前記記憶部に記憶し、
前記記憶部に記憶されている計算式情報に基づいて前記計算式に対応するグラフを描画するグラフ描画処理と、
前記記憶部に記憶されている計算式情報に基づいて前記計算式に関するユーザの学習を支援する学習支援処理と、
を実行し、前記グラフ描画処理は、
連携したグラフの描画を行う他の機器と自機との相対位置を特定し、
前記特定した相対位置に基づいて、前記計算式に対応するグラフのうちの一部のグラフ範囲であって、前記他の機器が描画するグラフ範囲とは少なくとも一部が異なるグラフ範囲を自機が描画すべき一部のグラフ範囲として特定し、
前記計算式を計算し、前記計算の結果を示すグラフの前記特定したグラフ範囲を前記表示部に表示させる、連携グラフ描画処理を含む、
学習支援装置。
続きを表示(約 2,300 文字)
【請求項2】
前記制御部は、
前記計算式情報を受信した複数の学習支援装置であって、グループ化された複数の学習支援装置のそれぞれが前記学習支援処理を実行している状態において、
自機の前記操作部により連携したグラフの描画を行うことを指示する操作が行われた場合に、自機がマスタ機器となり、グループ化された他の学習支援装置に対して連携したグラフの描画を行うことを指示する連携要求情報を送信するとともに前記連携グラフ描画処理を実行し、
グループ化された他の学習支援装置から前記連携要求情報を受信した場合に、自機がスレイブ機器となり、前記連携グラフ描画処理を実行する、
請求項1に記載の学習支援装置。
【請求項3】
前記制御部は、
自機の前記操作部によりグラフの描画範囲を変更することを指示する操作が行われた場合に、自機がマスタ機器となり、グループ化された他の学習支援装置に対してグラフの描画範囲を変更することを指示する変更要求情報を送信するとともに前記連携グラフ描画処理におけるグラフの描画範囲を変更し、
グループ化された他の学習支援装置から前記変更要求情報を受信した場合に、自機がスレイブ機器となり、前記連携グラフ描画処理におけるグラフの描画範囲を変更する、
請求項2に記載の学習支援装置。
【請求項4】
前記制御部は、
計算式を含む問題として前記計算式情報を受信した場合に、前記計算式に対応するグラフの全体を前記表示部に表示させる、単独グラフ描画処理を前記グラフ描画処理として実行し、
前記学習支援処理として、前記単独グラフ描画処理または前記連携グラフ描画処理によりグラフを表示した状態でユーザが前記計算式を含む問題の解答を作成または送信することを支援する処理を実行する、
請求項1に記載の学習支援装置。
【請求項5】
前記制御部は、
前記他の機器の位置および表示部の向きに対して、自機の位置および表示部の向きが、右側で表示部の上下が同じ向き、左側で表示部の上下が同じ向き、上側で表示部の上下が逆向き、のうちの少なくとも1つの位置および向きであることが特定された場合に、特定された自機の位置および表示部の向きに対応するように、前記計算式に対応するグラフのうちの前記表示部に描画する座標範囲を決定する、
請求項1に記載の学習支援装置。
【請求項6】
前記制御部は、
自機および他の機器を含む連携したグラフの描画を行う複数の機器により、前記計算式に対応するグラフのうちの、サイズが同じで隣接する複数の座標範囲を描画する、
請求項1に記載の学習支援装置。
【請求項7】
前記制御部は、
連携したグラフの描画を行う他の機器と自機との相対位置を、前記連携要求情報に含まれる位置情報に基づいて特定し、
前記位置情報は、相対位置の情報および座標範囲の情報のうちの少なくとも一方の情報である、
請求項2に記載の学習支援装置。
【請求項8】
前記制御部は、
自機が前記マスタ機器であると判断した場合には、前記マスタ機器で描画する第1の座標範囲と前記スレイブ機器で描画する第2の座標範囲とを特定し、前記スレイブ機器に対して前記第2の座標範囲の情報を送信する、
請求項2に記載の学習支援装置。
【請求項9】
操作部と、表示部と、通信部と、制御部と、記憶部と、を備えた学習支援装置の前記制御部により、
前記通信部を介して外部から受信した計算式を含む計算式情報を前記記憶部に記憶し、
前記記憶部に記憶されている計算式情報に基づいて前記計算式に対応するグラフを描画するグラフ描画処理と、
前記記憶部に記憶されている計算式情報に基づいて前記計算式に関するユーザの学習を支援する学習支援処理と、
を実行するようにし、前記グラフ描画処理は、
連携したグラフの描画を行う他の機器と自機との相対位置を特定し、
前記特定した相対位置に基づいて、前記計算式に対応するグラフのうちの一部のグラフ範囲であって、前記他の機器が描画するグラフ範囲とは少なくとも一部が異なるグラフ範囲を自機が描画すべき一部のグラフ範囲として特定し、
前記計算式を計算し、前記計算の結果を示すグラフの前記特定したグラフ範囲を前記表示部に表示させる、連携グラフ描画処理を含む、
学習支援方法。
【請求項10】
操作部と、表示部と、通信部と、制御部と、記憶部と、を備えた学習支援装置の前記制御部を、
前記通信部を介して外部から受信した計算式を含む計算式情報を前記記憶部に記憶し、
前記記憶部に記憶されている計算式情報に基づいて前記計算式に対応するグラフを描画するグラフ描画処理と、
前記記憶部に記憶されている計算式情報に基づいて前記計算式に関するユーザの学習を支援する学習支援処理と、
を実行するように機能させ、前記グラフ描画処理は、
連携したグラフの描画を行う他の機器と自機との相対位置を特定し、
前記特定した相対位置に基づいて、前記計算式に対応するグラフのうちの一部のグラフ範囲であって、前記他の機器が描画するグラフ範囲とは少なくとも一部が異なるグラフ範囲を自機が描画すべき一部のグラフ範囲として特定し、
前記計算式を計算し、前記計算の結果を示すグラフの前記特定したグラフ範囲を前記表示部に表示させる、連携グラフ描画処理を含む、
プログラム。
発明の詳細な説明
【技術分野】
【0001】
本発明の実施形態は、学習支援装置、学習支援方法およびプログラムに関する。
続きを表示(約 2,500 文字)
【背景技術】
【0002】
従来、教育現場における積分などの計算式に関する学習において、関数電卓に計算式のグラフを表示することで生徒の理解を深め、更に、グラフの一部を拡大表示させて見やすくすることが可能な計算装置が考えられている(例えば、特許文献1参照。)。
【先行技術文献】
【特許文献】
【0003】
特開2001-092789号公報
【発明の概要】
【発明が解決しようとする課題】
【0004】
従来の計算装置では、関数電卓のユーザ一人ひとりが計算式のグラフを表示させて計算式に関する学習を行うことができるが、1つの課題を複数の生徒によるグループワークで解決するような場合において、効果的な学習を行うことはできなかった。
【0005】
本発明の目的は、計算式に関する課題を複数の生徒によるグループワークで解決するような場合において、効果的な学習を行うことが可能になる学習支援装置、学習支援方法およびプログラムを提供することにある。
【課題を解決するための手段】
【0006】
本発明に係る学習支援装置は、操作部と、表示部と、通信部と、制御部と、記憶部と、を備え、前記制御部は、前記通信部を介して外部から受信した計算式を含む計算式情報を前記記憶部に記憶し、前記記憶部に記憶されている計算式情報に基づいて前記計算式に対応するグラフを描画するグラフ描画処理と、前記記憶部に記憶されている計算式情報に基づいて前記計算式に関するユーザの学習を支援する学習支援処理と、を実行し、前記グラフ描画処理は、連携したグラフの描画を行う他の機器と自機との相対位置を特定し、前記特定した相対位置に基づいて、前記計算式に対応するグラフのうちの一部のグラフ範囲であって、前記他の機器が描画するグラフ範囲とは少なくとも一部が異なるグラフ範囲を自機が描画すべき一部のグラフ範囲として特定し、前記計算式を計算し、前記計算の結果を示すグラフの前記特定したグラフ範囲を前記表示部に表示させる、連携グラフ描画処理を含む、ものである。
【発明の効果】
【0007】
本発明によれば、計算式に関する課題を複数の生徒によるグループワークで解決するような場合において、効果的な学習を行うことが可能になる。
【図面の簡単な説明】
【0008】
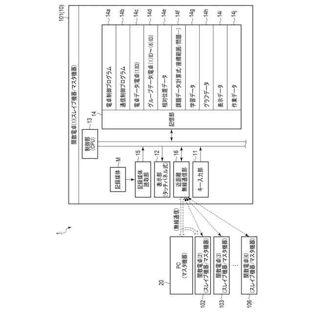
本発明の学習支援装置、学習支援方法およびプログラムの実施形態に係る学習支援システム1の全体的な構成を示す図である。
学習支援システム1にてグループ化された生徒が使用する複数台の関数電卓10(101~106)に各々の相対位置と表示の向きを入力させるための相対位置入力パターンH1を示す図である。
グループ化された複数台の関数電卓10(101~106)が連携して学習対象のデータを描画する場合の描画位置(座標範囲)の計算例を示す図である。
学習支援装置である関数電卓10の構成を示すブロック図である。
学習支援システム1において教師が使用する教師PC20の処理を示すフローチャートである。
学習支援システム1において生徒が使用する生徒電卓(関数電卓)10の処理を示すフローチャートである。
生徒電卓(関数電卓)10の処理に含まれる相対位置設定処理(ステップSP)の一例を示すフローチャートである。
グループ化された複数台の生徒電卓(関数電卓)10(101~106)が連携してグラフGを描画した状態の一例を示す図である。
グループ化された複数台の生徒電卓(関数電卓)10(101~106)が連携して学習対象のデータを描画する場合において描画位置(座標範囲)を移動して変更する場合の座標範囲の計算例を示す図である。
グループ化された複数台の生徒電卓(関数電卓)10(101~106)が連携して学習対象のデータを描画する場合において描画位置(座標範囲)を反転して変更する場合の座標範囲の計算例を説明する図である。
【発明を実施するための形態】
【0009】
以下図面を参照して本発明の学習支援装置、学習支援方法およびプログラムの実施の形態について説明する。図1に示すように、実施形態の学習支援システム1は、例えば学校の生徒がユーザとなって各々使用する学習支援装置である関数電卓10(101~10N)(「生徒電卓」とも言う)と、関数電卓(生徒電卓)101~10Nとの通信機能を有する、例えば学校の教師が使用する教師PC(Personal Computer)20とを含む。学習支援装置は、関数電卓10に限定されるものではなく、関数電卓10と同様の機能を有した他の電子機器であってよい。また教師PC20は、PC20に限定されるものではなく、教師PC20と同様の機能を有した他の電子機器であってよい。
【0010】
関数電卓10の本体正面には操作部であるキー入力部11、表示部(タッチパネル式)12が設けられる。キー入力部11には、数値、記号、演算子などを含む計算式を入力したり計算の実行を指示したりするための数値・演算記号キー群111、各種の関数や変数を入力するための関数機能キー群112、表示部12に表示されたカーソルの移動操作やデータ項目の選択操作(指定操作)などを行うためのカーソルキー113、表示部12の下端に沿って並べて表示された各種の機能の項目を指定するためのファンクションキー群114などが備えられる。数値・演算記号キー群111、関数機能キー群112、カーソルキー113、ファンクションキー群114の内容については、本願と同一出願人による特許出願(特願2023-001857号)と同様でありここでの説明を省略する。表示部(タッチパネル式)12は、ドットマトリクス型の液晶表示ユニットに透明のタッチパネルを重ねて構成される。
(【0011】以降は省略されています)
この特許をJ-PlatPat(特許庁公式サイト)で参照する
関連特許
カシオ計算機株式会社
支持台
2日前
カシオ計算機株式会社
減音器具
4日前
カシオ計算機株式会社
減音器具
4日前
カシオ計算機株式会社
電子鍵盤楽器
2日前
カシオ計算機株式会社
装飾板及び時計
3日前
カシオ計算機株式会社
機器ケース及び時計
26日前
カシオ計算機株式会社
光源装置及び投影装置
4日前
カシオ計算機株式会社
取付構造及び印刷装置
25日前
カシオ計算機株式会社
光源装置及び投影装置
4日前
カシオ計算機株式会社
光源装置及び投影装置
16日前
カシオ計算機株式会社
光源装置及び投影装置
16日前
カシオ計算機株式会社
端末装置及びプログラム
4日前
カシオ計算機株式会社
外装部品ユニット及び時計
2日前
カシオ計算機株式会社
電子時計及び電子時計本体
17日前
カシオ計算機株式会社
電子機器、及び表示制御方法
6日前
カシオ計算機株式会社
カッターユニット及び切断装置
2日前
カシオ計算機株式会社
電子時計、外装部材及びバンド
17日前
カシオ計算機株式会社
補助バスマスタ回路及び電子機器
6日前
カシオ計算機株式会社
制御装置、方法およびプログラム
6日前
カシオ計算機株式会社
演奏装置、方法およびプログラム
4日前
カシオ計算機株式会社
制御装置、方法およびプログラム
6日前
カシオ計算機株式会社
発音装置及び音出力制御システム
16日前
カシオ計算機株式会社
演奏装置、方法およびプログラム
3日前
カシオ計算機株式会社
時計、表示制御方法及びプログラム
17日前
カシオ計算機株式会社
ロボット、及びロボットの製造方法
2日前
カシオ計算機株式会社
情報処理装置、方法およびプログラム
2日前
カシオ計算機株式会社
外装部品、外装部品ユニット及び時計
2日前
カシオ計算機株式会社
制御装置、制御方法、及びプログラム
3日前
カシオ計算機株式会社
電子機器、登録処理方法及びプログラム
2日前
カシオ計算機株式会社
テープ製造方法及びテープ製造システム
24日前
カシオ計算機株式会社
発音装置、接続装置及び音出力システム
16日前
カシオ計算機株式会社
プログラム、電子機器及び登録処理方法
2日前
カシオ計算機株式会社
位置推定装置、位置推定方法、プログラム
24日前
カシオ計算機株式会社
情報処理装置、表示方法、及びプログラム
6日前
カシオ計算機株式会社
電子時計、針位置検出方法及びプログラム
25日前
カシオ計算機株式会社
情報処理装置、プログラム及び情報処理方法
2日前
続きを見る
他の特許を見る