TOP
|
特許
|
意匠
|
商標
特許ウォッチ
Twitter
他の特許を見る
10個以上の画像は省略されています。
公開番号
2025124095
公報種別
公開特許公報(A)
公開日
2025-08-26
出願番号
2024019887
出願日
2024-02-14
発明の名称
カット装置、カット制御方法及びプログラム
出願人
カシオ計算機株式会社
代理人
弁理士法人光陽国際特許事務所
主分類
B26D
5/00 20060101AFI20250819BHJP(切断手工具;切断;切断機)
要約
【課題】カット領域の内側の不要な領域を簡便に且つ円滑に取り除くことである。
【解決手段】カット装置10は、紙(被カット媒体)60に対してカットデータ(所定のデザイン情報)に基づいてカットを行うカット部17と、MPU(制御部)11と、を備える。MPU(制御部)11は、カットデータ(所定のデザイン情報)にカット後に取り除くべき不要領域を示した不要領域情報が含まれる場合、不要領域の内側にめくれが発生するかす取りカット(特殊カット)を行うようにカット部17を制御する。
【選択図】図6
特許請求の範囲
【請求項1】
被カット媒体に対して所定のデザイン情報に基づいてカットを行うカット部と、
制御部と、を備え、
前記制御部は、前記デザイン情報に前記カット後に取り除くべき不要領域を示した不要領域情報が含まれる場合、前記不要領域情報が示す前記不要領域の内側にめくれが発生する特殊カットを行うように前記カット部を制御する、
ことを特徴とするカット装置。
続きを表示(約 1,100 文字)
【請求項2】
前記特殊カットは、前記カット部を構成するカッター刃が前記被カット媒体に切り込まれた状態において当該カッター刃の駆動軸を移動させて前記カッター刃の刃先の向きを変更することにより、楔形状の切り込みを1回又は複数回入れるカットである、
ことを特徴とする請求項1に記載のカット装置。
【請求項3】
前記制御部は、前記不要領域の広さと形状に基づいて、前記特殊カットが行われる際の前記切り込みの幅、長さ、及び位置を設定する、
ことを特徴とする請求項2に記載のカット装置。
【請求項4】
前記制御部は、前記不要領域の内接四角形の幅が前記切り込みの基準幅よりも大きい場合、前記切り込みの幅を前記切り込みの基準幅に設定し、前記不要領域の内接四角形の幅が前記切り込みの基準幅以下である場合、前記切り込みの幅を前記内接四角形の幅に設定する、
ことを特徴とする請求項3に記載のカット装置。
【請求項5】
前記制御部は、前記不要領域の内接四角形の幅が前記切り込みの基準幅よりも大きい場合、前記内接四角形の幅の一端と、前記切り込みの当該一端に近い方の角部が一致するように前記切り込みの位置を設定し、前記不要領域の内接四角形の幅が前記切り込みの基準幅以下である場合、前記切り込みの角部が前記内接四角形の幅に収まるように前記切り込みの位置を設定する、
ことを特徴とする請求項4に記載のカット装置。
【請求項6】
前記制御部は、前記切り込みの長さを前記不要領域の内接四角形の高さ以下に設定する、
ことを特徴とする請求項3に記載のカット装置。
【請求項7】
被カット媒体に対して所定のデザイン情報に基づいてカットを行うカット部を備えるカット装置のカット制御方法であって、
前記デザイン情報に前記カット後に取り除くべき不要領域を示した不要領域情報が含まれる場合、前記不要領域情報が示す前記不要領域の内側にめくれが発生する特殊カットを行うように前記カット部を制御する工程を含む、
ことを特徴とするカット制御方法。
【請求項8】
被カット媒体に対して所定のデザイン情報に基づいてカットを行うカット部を備えるカット装置のコンピュータを、
前記デザイン情報に前記カット後に取り除くべき不要領域を示した不要領域情報が含まれる場合、前記不要領域情報が示す前記不要領域の内側にめくれが発生する特殊カットを行うように前記カット部を制御する制御手段、
として機能させることを特徴とするプログラム。
発明の詳細な説明
【技術分野】
【0001】
本発明は、カット装置、カット制御方法及びプログラムに関する。
続きを表示(約 1,700 文字)
【背景技術】
【0002】
従来、被カット媒体に対してカットを行うカット装置が知られている。このカット装置に関して、下記特許文献1にはカット領域の外周をカットするとともに当該カット領域の内側の不要な領域をカットする接着用シートの形成装置が開示されている。
【先行技術文献】
【特許文献】
【0003】
特開2007-98505号公報
【発明の概要】
【発明が解決しようとする課題】
【0004】
しかしながら、上記特許文献1に開示されている接着用シートの形成装置では、カット領域の内側の不要な領域の形状が区区である場合、不要な領域を取り除くときに除去装置(押出装置)を使用できない。したがって、かかる場合には、カット領域の内側の不要な領域を手作業で取り除く必要があるため、時間がかかったり、必要な領域を傷つけてしまったりすることがあった。
【0005】
本発明は、このような問題に鑑みてなされたものであり、カット領域の内側の不要な領域を簡便に且つ円滑に取り除くことを目的とする。
【課題を解決するための手段】
【0006】
上記課題の解決のために、本発明のカット装置は、被カット媒体に対して所定のデザイン情報に基づいてカットを行うカット部と、制御部と、を備え、前記制御部は、前記デザイン情報に前記カット後に取り除くべき不要領域を示した不要領域情報が含まれる場合、前記不要領域情報が示す前記不要領域の内側にめくれが発生する特殊カットを行うように前記カット部を制御する、ことを特徴とする。
【発明の効果】
【0007】
本発明によれば、カット領域の内側の不要な領域を簡便に且つ円滑に取り除くことができる。
【図面の簡単な説明】
【0008】
本発明の実施の形態のカットシステムを示すブロック図である。
カット装置の機能構成を示すブロック図である。
紙が貼り付けられた台紙が載置された載置台を示す斜視図である。
端末装置の機能構成を示すブロック図である。
かす取りカット処理の制御手順を示すフローチャートである。
かす取りカットの例を示す図である。
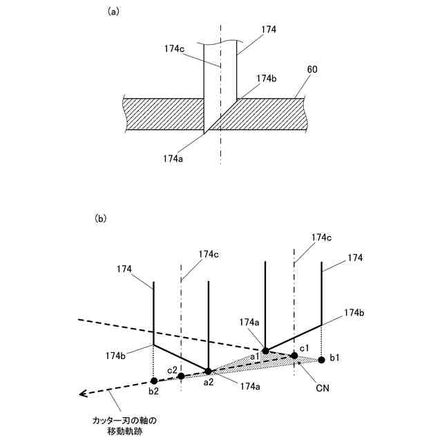
(a)はかす取りカット時の紙の断面を示す図、(b)はかす取りカット時のカッター刃の動きを示す図である。
かす取りカット幅及びかす取りカット長の設定方法を示す図である。
かす取りカット幅及びかす取りカット長の設定方法を示す図である。
かす取りカットの例を示す図である。
(a)~(d)はかす取りカットの例を示す図である。
カットデータ生成処理の制御手順を示すフローチャートである。
要否選択受付画面の例を示す図である。
(a)~(d)は要否選択受付画面の例を示す図である。
(a),(b),(d)は要否選択受付画面の例を示す図であり、(c)はシンボルマークの例を示す図である。
変形例のかす取りカット処理の制御手順を示すフローチャートである。
【発明を実施するための形態】
【0009】
以下、本発明の実施の形態を、図面を参照して詳細に説明する。ただし、本発明の範囲は、図示例に限定されるものではない。図1に示すように、本実施の形態のカットシステム1は、カット装置10と、端末装置50と、を備えて構成される。
【0010】
カット装置10は、載置台31(後述)に載置(セット)された台紙32(後述)に貼り付けられた矩形などの平面状の被カット媒体を任意の平面形状にカット(カッティング)する装置である。本実施の形態において、被カット媒体として、A4などの用紙である紙60(図3参照)を用いる例を説明するが、これに限定されるものではない。被カット媒体としては、樹脂などのシート、シール、皮など、カッター刃でカット可能な他の媒体でもよい。
(【0011】以降は省略されています)
この特許をJ-PlatPat(特許庁公式サイト)で参照する
関連特許
カシオ計算機株式会社
支持台
5日前
カシオ計算機株式会社
減音器具
7日前
カシオ計算機株式会社
減音器具
7日前
カシオ計算機株式会社
電子鍵盤楽器
5日前
カシオ計算機株式会社
装飾板及び時計
6日前
カシオ計算機株式会社
光源装置及び投影装置
7日前
カシオ計算機株式会社
光源装置及び投影装置
7日前
カシオ計算機株式会社
端末装置及びプログラム
7日前
カシオ計算機株式会社
外装部品ユニット及び時計
5日前
カシオ計算機株式会社
電子機器、及び表示制御方法
9日前
カシオ計算機株式会社
カッターユニット及び切断装置
5日前
カシオ計算機株式会社
制御装置、方法およびプログラム
9日前
カシオ計算機株式会社
補助バスマスタ回路及び電子機器
9日前
カシオ計算機株式会社
演奏装置、方法およびプログラム
7日前
カシオ計算機株式会社
制御装置、方法およびプログラム
9日前
カシオ計算機株式会社
機器、制御方法およびプログラム
1日前
カシオ計算機株式会社
演奏装置、方法およびプログラム
6日前
カシオ計算機株式会社
給電装置、及び、電力伝送システム
1日前
カシオ計算機株式会社
電子機器、及び、電力伝送システム
1日前
カシオ計算機株式会社
ロボット、及びロボットの製造方法
5日前
カシオ計算機株式会社
情報処理装置、方法およびプログラム
5日前
カシオ計算機株式会社
外装部品、外装部品ユニット及び時計
5日前
カシオ計算機株式会社
制御装置、制御方法、及びプログラム
6日前
カシオ計算機株式会社
プログラム、電子機器及び登録処理方法
5日前
カシオ計算機株式会社
電子機器、登録処理方法及びプログラム
5日前
カシオ計算機株式会社
情報処理装置、表示方法、及びプログラム
9日前
カシオ計算機株式会社
活動支援方法、プログラム及び活動支援装置
1日前
カシオ計算機株式会社
情報提供装置、情報提供方法及びプログラム
7日前
カシオ計算機株式会社
情報処理方法、プログラム及び情報処理装置
1日前
カシオ計算機株式会社
音声提供装置、音声提供方法及びプログラム
5日前
カシオ計算機株式会社
情報出力方法、情報出力装置及びプログラム
1日前
カシオ計算機株式会社
情報処理装置、プログラム及び情報処理方法
5日前
カシオ計算機株式会社
情報処理装置、表示制御方法、及びプログラム
5日前
カシオ計算機株式会社
電子時計、電子時計の制御方法及びプログラム
9日前
カシオ計算機株式会社
投影装置、投影装置の調整方法及びプログラム
6日前
カシオ計算機株式会社
印刷装置、印刷装置の制御方法及びプログラム
5日前
続きを見る
他の特許を見る