TOP
|
特許
|
意匠
|
商標
特許ウォッチ
Twitter
他の特許を見る
10個以上の画像は省略されています。
公開番号
2025137273
公報種別
公開特許公報(A)
公開日
2025-09-19
出願番号
2024036385
出願日
2024-03-08
発明の名称
硬貨処理装置
出願人
ローレルバンクマシン株式会社
,
ローレルプレシジョン株式会社
代理人
個人
,
個人
,
個人
主分類
G07D
11/12 20190101AFI20250911BHJP(チェック装置)
要約
【課題】硬貨を一時貯留庫にスムーズに収納可能な硬貨処理装置を提供する。
【解決手段】出納機1は、鉛直ガイド壁面102に区画された一時貯留空間79内に金種別に識別された硬貨を受け入れ可能な一時貯留庫85を備え、鉛直ガイド壁面102は、平面から視た断面が山頂部分P1と谷底部分P2とが交互に並ぶ波形状に形成されている。
【選択図】図12
特許請求の範囲
【請求項1】
壁面に区画された一時貯留空間内に金種別に識別された硬貨を受け入れ可能な一時貯留庫を備え、
前記壁面は、平面から視た断面が非直線状に形成されている、ことを特徴とする硬貨処理装置。
続きを表示(約 370 文字)
【請求項2】
前記壁面は、平面から視た断面が山頂部分と谷底部分とが交互に並ぶ波形状に形成されている、ことを特徴とする請求項1に記載の硬貨処理装置。
【請求項3】
前記壁面の谷底部分は、鉛直方向に亘って略直線状に、又は鉛直方向において上部が下部より前記一時貯留空間内に突出したオーバーハング状に形成されている、ことを特徴とする請求項2に記載の硬貨処理装置。
【請求項4】
水平方向に対向する一対の前記壁面は、一方の前記壁面の前記山頂部分と他方の前記壁面の前記谷底部分とが対向するように配置されている、ことを特徴とする請求項2に記載の硬貨処理装置。
【請求項5】
前記一時貯留空間は、鉛直方向において上方から下方に向かって徐々に幅広に形成されている、ことを特徴とする請求項1に記載の硬貨処理装置。
発明の詳細な説明
【技術分野】
【0001】
本発明は、硬貨処理装置に関する。
続きを表示(約 1,500 文字)
【背景技術】
【0002】
従来より、硬貨について各種処理等を行う硬貨処理装置であって、機外から投入されて金種別に選別された硬貨を一時的に貯留する一時貯留庫を備えている硬貨処理装置が知られている(例えば、特許文献1)。
【0003】
特許文献1に記載された一時貯留庫は、仕切り板によって仕切られ、硬貨を収納庫に受け入れる上部開口部と、硬貨を排出する下部開口部と、が形成された硬貨収納室を備えている。硬貨収納室は、上部開口部の周縁側が内方に向かって傾斜した案内縁に形成されるとともに、案内縁から下部開口部に向かって拡開することにより、下部開口部が上部開口部より拡がって形成されている。
【先行技術文献】
【特許文献】
【0004】
実公平5-4064号公報
【発明の概要】
【発明が解決しようとする課題】
【0005】
特許文献1記載の硬貨処理装置によれば、硬貨を硬貨収納室内に落下収納させる際に、硬貨が仕切り板の案内縁に面接触することにより、硬貨が摩擦力で仕切り板を滑り落ちずに仕切り板に密着して硬貨収納室で詰まる虞があった。
【0006】
そこで、本発明は、硬貨を一時貯留庫にスムーズに収納可能な硬貨処理装置を提供することを目的とする。
【課題を解決するための手段】
【0007】
上記目的を達成するために、本発明に係る硬貨処理装置は、壁面に区画された一時貯留空間内に金種別に識別された硬貨を受け入れ可能な一時貯留庫を備え、前記壁面は、平面から視た断面が非直線状に形成されている。
【発明の効果】
【0008】
本発明は、硬貨を一時貯留庫にスムーズに収納することができる。
【図面の簡単な説明】
【0009】
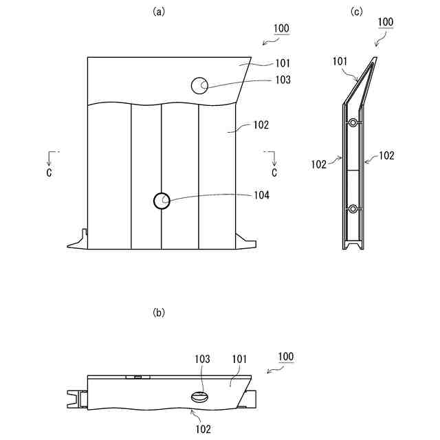
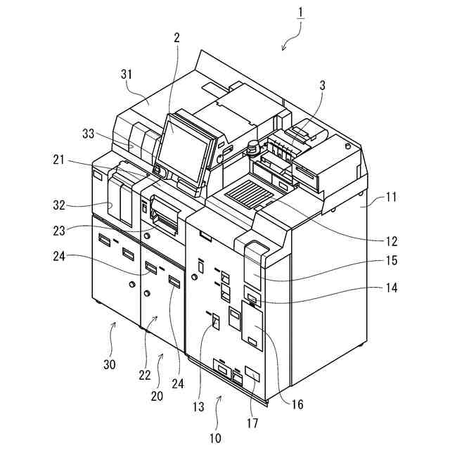
本発明の一実施形態に係る出納機を示す斜視図。
出納機の要部のブロック図。
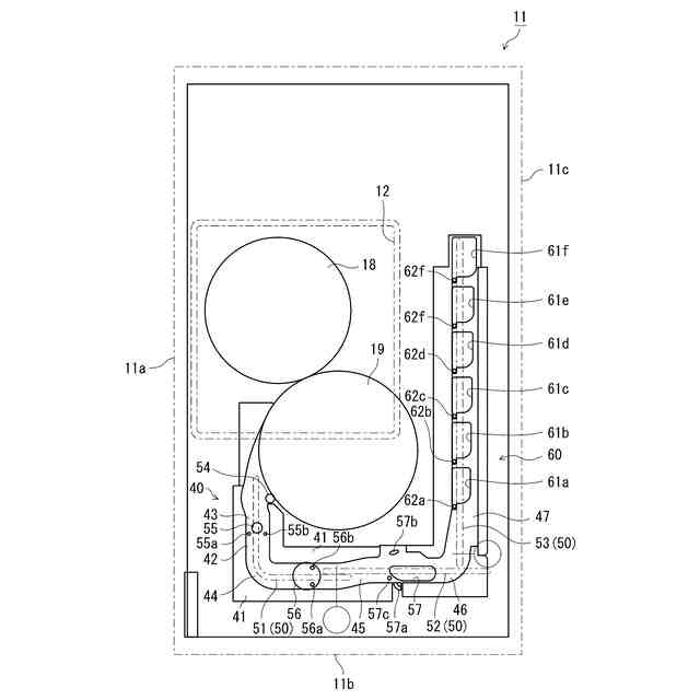
硬貨処理装置の内部構造を概略的に示す平面図。
一時貯留庫の内部構造を概略的に示す正面図。
図4におけるA-A矢視図。
図4におけるB-B矢視図。
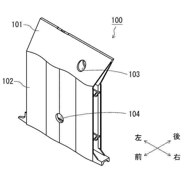
鉛直仕切板を正面側から視た斜視図。
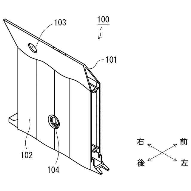
図7に示す鉛直仕切板を背面側から視た斜視図。
図7に示す鉛直仕切板を示す図であり、(a)は正面図、(b)は平面図、(c)は右側面図。
図9中のC-C線断面拡大図。
鉛直ガイド壁面の水平断面を示す模式図。
前後に対向する鉛直仕切板における、凸部及び凹部の位置関係を示す平面図。
本発明の変形例に係る鉛直仕切板を正面側から視た斜視図。
図13に示す鉛直仕切板を背面側から視た斜視図。
図13に示す鉛直仕切板を示す図であり、(a)は正面図、(b)は平面図、(c)は右側面図。
図15中のD-D線断面拡大図。
図15中のE-E線断面拡大図。
変形例に係る鉛直ガイド壁面の水平断面を示す模式図。
硬貨が鉛直仕切板のセンサ孔に接触することなく落下する様子を示す模式図。
【発明を実施するための形態】
【0010】
本発明に係る硬貨処理装置を適用した出納機の一実施形態について図面に基づいて説明する。なお、以下では、構成要素の数、数値、量、範囲等に言及する場合、特に明示した場合及び原理的に明らかに特定の数に限定される場合を除き、その特定の数に限定されるものではなく、特定の数以上でも以下でも構わない。
(【0011】以降は省略されています)
この特許をJ-PlatPat(特許庁公式サイト)で参照する
関連特許
株式会社イシダ
商品処理装置
7日前
株式会社バンダイ
物品供給装置
3か月前
株式会社バンダイ
物品供給装置
3か月前
株式会社バンダイ
物品供給装置
3か月前
株式会社バンダイ
物品供給装置
3か月前
富士電機株式会社
通貨識別装置
2か月前
沖電気工業株式会社
媒体処理装置
1か月前
沖電気工業株式会社
紙幣処理装置
1か月前
沖電気工業株式会社
施錠開閉装置
今日
沖電気工業株式会社
媒体処理装置
1か月前
沖電気工業株式会社
媒体処理装置
1か月前
株式会社ライト
情報処理装置
1か月前
株式会社ライト
情報処理装置
1か月前
富士電機株式会社
自動販売機
1か月前
株式会社ライト
情報処理装置
2か月前
富士電機株式会社
金銭処理装置
2か月前
株式会社デンソー
車載器
5日前
グローリー株式会社
硬貨処理装置
3か月前
トヨタ車体株式会社
出入検知装置
3か月前
グローリー株式会社
物品投出装置
29日前
株式会社トイスピリッツ
景品提供システム
1か月前
日本金銭機械株式会社
硬貨処理装置
9日前
日本金銭機械株式会社
硬貨処理装置
9日前
ユニティガードシステム株式会社
入館監視システム
1か月前
パイオニア株式会社
ドライブレコーダ
3か月前
トヨタ自動車株式会社
記録装置
3か月前
旭精工株式会社
紙葉類処理装置および紙葉類処理方法
19日前
沖電気工業株式会社
棒金収納装置
6日前
沖電気工業株式会社
媒体処理装置
1か月前
沖電気工業株式会社
棒金収納装置
1か月前
沖電気工業株式会社
現金処理装置
1か月前
沖電気工業株式会社
現金処理装置及び印字装置
19日前
沖電気工業株式会社
媒体識別装置及び媒体処理装置
1か月前
中井銘鈑株式会社
商品見本取付け構造
1か月前
沖電気工業株式会社
硬貨処理装置及び貨幣取扱装置
1か月前
株式会社バンダイ
物品供給装置、及び物品供給装置セット
今日
続きを見る
他の特許を見る