TOP
|
特許
|
意匠
|
商標
特許ウォッチ
Twitter
他の特許を見る
10個以上の画像は省略されています。
公開番号
2025137698
公報種別
公開特許公報(A)
公開日
2025-09-19
出願番号
2025122496,2024524366
出願日
2025-07-22,2024-04-19
発明の名称
環状ジエン含有組成物、アルデヒドの製造方法、アルコールの製造方法、及び環状ジエン含有組成物の製造方法
出願人
三菱ケミカル株式会社
代理人
個人
,
個人
主分類
C07C
13/61 20060101AFI20250911BHJP(有機化学)
要約
【解決手段】環状ジエンの含有割合が99.5GC面積%以下、環状モノエンの含有割合が3.0GC面積%以下である、環状ジエン含有組成物。環状ジエン含有組成物中の環状ジエンをヒドロホルミル化反応させ、対応するアルデヒドを製造する方法であって、前記環状ジエン含有組成物に含まれる環状モノエンの含有割合を予め決めた閾値(1)以下に制御することを含む、アルデヒドの製造方法。炭化水素含有組成物の熱分解で得られた炭化水素分解生成物を蒸留精製して、環状ジエンを含有する環状ジエン含有組成物を製造する方法であって、前記環状ジエン含有組成物に含まれる環状モノエンの含有割合を予め決めた閾値(1)以下に制御することを含む、環状ジエン含有組成物の製造方法。
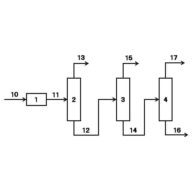
【選択図】図1
特許請求の範囲
【請求項1】
環状ジエンの含有割合が99.5GC面積%以下、環状モノエンの含有割合が14.0GC面積%以下である、環状ジエン含有組成物。
続きを表示(約 880 文字)
【請求項2】
前記環状ジエンより沸点の高い高沸点副生物の含有割合が0.3GC面積%以上である、請求項1に記載の環状ジエン含有組成物。
【請求項3】
前記環状モノエンが、ビニル基を有する、請求項1に記載の環状ジエン含有組成物。
【請求項4】
前記環状モノエンが、ビニル基を有する炭素数9の環状モノエンを含む、請求項3に記載の環状ジエン含有組成物。
【請求項5】
前記ビニル基を有する炭素数9の環状モノエンの含有割合が3.0GC面積%以下である、請求項4に記載の環状ジエン含有組成物。
【請求項6】
前記環状ジエンの含有割合が60GC面積%以上である、請求項1に記載の環状ジエン含有組成物。
【請求項7】
前記環状モノエンの含有割合が0.001GC面積%以上である、請求項1に記載の環状ジエン含有組成物。
【請求項8】
前記環状ジエンより沸点の高い高沸点副生物の含有割合が25GC面積%以下である、請求項1に記載の環状ジエン含有組成物。
【請求項9】
前記高沸点副生物の含有割合が、下記の測定方法1により測定されるものである、請求項2に記載の環状ジエン含有組成物。
<測定方法1>
下記GC測定条件にて分析し保持時間が15.0分から30.0分のピークの含有割合の合計を測定する。
(GC測定条件)
GC装置:ガスクロマトグラム測定装置
検出器:水素炎イオン化検出器
キャリアガス:ヘリウム(カラム流量1.65mL/分)
カラム:キャピラリーカラム(サイズ:長さ30m×内径0.25mm、膜厚1.00μm)
カラム温度:50℃(保持時間5分)→10℃/分で昇温→300℃(保持時間:なし)
注入口温度:200℃
検出器温度:300℃
【請求項10】
25℃において流動性を有する、請求項1に記載の環状ジエン含有組成物。
(【請求項11】以降は省略されています)
発明の詳細な説明
【技術分野】
【0001】
本発明は、環状ジエン含有組成物、アルデヒドの製造方法、アルコールの製造方法、及び環状ジエン含有組成物の製造方法に関する。
続きを表示(約 1,900 文字)
【背景技術】
【0002】
脂環式アルデヒド等のアルデヒドは、可塑剤の添加剤、接着剤、殺菌剤等の原料として有用である。また、脂環式アルデヒドを水素添加反応させて得られる脂環式アルコール等のアルコールは、ポリウレタン系樹脂やポリエステル系樹脂、ポリカーボネート系樹脂の高耐熱性化、耐屈曲性化又は低レターデーション化を図るための原料モノマーとして有用である。具体的には、トリシクロデカンジカルバルデヒド等の脂環式アルデヒドや、トリシクロデカンジメタノールやペンタシクロペンタデカンジメタノール等の脂環式アルコールが、各用途における高機能化や工業的な生産性に優れる観点から注目されている。
【0003】
トリシクロデカンジカルバルデヒド等の脂環式アルデヒドの製造方法としては、ナフサ、石炭及び天然ガス等の炭化水素含有組成物を熱分解して得られるC5炭化水素留分を加熱することにより、該C5炭化水素留分中のシクロペンタジエン等の単環式ジエンを二量化反応させ、対応するジシクロペンタジエン等の多環式ジエンとした後、二量化反応後のC5炭化水素留分を精製してジシクロペンタジエン等の多環式ジエンを高濃度で含む環状ジエン含有組成物を得、得られた環状ジエン含有組成物をヒドロホルミル化反応に供して、該環式ジエンに対応する脂環式アルデヒドに転化する方法が知られている。
【0004】
上述した環状ジエン含有組成物をヒドロホルミル化反応に供して脂環式アルデヒドを得る方法として、例えば、特許文献1の実施例には、高純度に精製されたジシクロペンタジエンをヒドロホルミル化して、ビスホルミルトリシクロデカンを製造する技術が開示されている。
特許文献2には、ヒドロホルミル化反応を阻害する不純物として、ジシクロペンタジエンに含まれる共役ジエンに着目し、この共役ジエンを低減する技術が開示されている。
特許文献3には、トリシクロデカンジカルバルデヒドやペンタシクロペンタデカンジカルバルデヒドを製造するにあたり、出発原料であるジシクロペンタジエンやトリシクロペンタジエンは高純度のものが好ましいとされ、ブタジエン、イソプレン、シクロペンタジエン、1,3-ペンタジエンなどの不純物を除去する技術が開示されている。
【0005】
しかしながら、特許文献1~3に開示されている技術では、ジシクロペンタジエン等の多環式ジエン(本発明においては「環式ジエン」又は「環状ジエン」とも称す。)を含有する組成物(以下、「環状ジエン含有組成物」という。)に含まれる不純物を極力除去し、高純度の環式ジエンを分離・回収するために、製造工程が複雑化したり、設備投資や製造コスト、ユーティリティコストが増加するという課題があった。また、該環状ジエン含有組成物に含まれる不純物を、経済性を鑑みながら低減するにしても、ヒドロホルミル化反応に影響を及ぼす不純物については、十分に解明されていない。
【0006】
さらに、高純度に精製された環状ジエンは、常温における性状が固体であり、工業的な取り扱い性に劣るという課題があった。例えば、高純度ジシクロペンタジエンは、融点が32.5℃であり常温では白色結晶性の固体であるが、各種化合物の合成の出発原料として工業的に用いるためには、その取り扱い性上、液体であることが好ましい。
【先行技術文献】
【特許文献】
【0007】
特開2005-139181号公報
特開平11-80067号公報
特開2001-11008号公報
【発明の概要】
【発明が解決しようとする課題】
【0008】
本発明はこれらの問題点を解決することを目的とする。
すなわち、本発明は、脂環式アルデヒドの出発原料として用いられ、該脂環式アルデヒドを短い反応時間で且つ高収率で製造することが可能な、環状ジエン含有組成物を提供することを課題とする。
【0009】
さらに、本発明は、常温における性状が液体であり、工業的な取り扱い性に優れた環状ジエン含有組成物を提供することを課題とする。
【0010】
さらに、本発明は、トリシクロデカンジカルバルデヒド等の脂環式アルデヒドの出発原料として用いられる、ジシクロペンタジエン等の環状ジエンを含む環状ジエン含有組成物であって、該環状ジエンに対応する脂環式アルデヒドを短い反応時間で且つ高収率で製造することが可能な、環状ジエン含有組成物の製造方法を提供することを課題とする。
(【0011】以降は省略されています)
この特許をJ-PlatPat(特許庁公式サイト)で参照する
関連特許
株式会社トクヤマ
チオラクトン誘導体の製造方法
4日前
キヤノン株式会社
有機化合物及び有機発光素子
4日前
個人
IL-17産生誘導能を有する化合物及びその用途
1日前
岐阜市
化合物、アジュバント組成物および医薬組成物
1日前
新日本理化株式会社
不飽和アルコールの製造設備
1日前
公益財団法人相模中央化学研究所
環状アミジニウム塩及びルテニウム化合物
4日前
新日本理化株式会社
不飽和アルコールの製造方法
1日前
旭化成株式会社
イソシアネート化合物の製造方法
1日前
旭化成株式会社
イソシアネート化合物の製造方法
1日前
PSジャパン株式会社
スチレンモノマーの製造方法
2日前
旭化成株式会社
ホルムアルデヒド及びポリアセタールの製造方法
7日前
三菱ケミカル株式会社
アクリル酸エチルの製造方法
4日前
群栄化学工業株式会社
2,5-ジホルミルフランの製造方法
4日前
オリザ油化株式会社
新規化合物、その用途、及び新規化合物の製造方法
7日前
公益財団法人相模中央化学研究所
芳香族ジイミド化合物からなる発光材料、およびその用途
4日前
三菱瓦斯化学株式会社
イミダゾピロロキノリンアルカリ金属塩の製造方法
1日前
日東電工株式会社
ウレア化合物の製造方法
8日前
ベノバイオ カンパニー リミテッド
BRDタンパク質を阻害する新規な化合物
3日前
国立大学法人 岡山大学
二酸化炭素輸送活性を有するアクアポリン
4日前
東京応化工業株式会社
化合物
8日前
個人
ミスマッチ認識分子、ミスマッチ検出方法、疾病診断方法及びミスマッチ認識分子の製造方法
1日前
三菱ケミカル株式会社
金属間化合物担持炭化ジルコニウム触媒を用いた、化合物の製造方法
2日前
三菱ケミカル株式会社
金属間化合物担持炭化ジルコニウム触媒を用いた、化合物の製造方法
2日前
第一三共株式会社
抗HER2抗体-薬物コンジュゲート
8日前
大阪ガスケミカル株式会社
シアン酸エステル及びその用途
4日前
日産化学株式会社
含フッ素アニリン誘導体
2日前
ENEOS株式会社
反応メカニズムの推定装置、反応メカニズムの推定方法及び反応メカニズムの推定プログラム
4日前
住友ファーマ株式会社
第4級炭素で置換された3級アミド誘導体
8日前
中外製薬株式会社
芳香族アミノ酸誘導体の製造方法
8日前
ノバルティス アーゲー
ポリオーマウイルス中和抗体
2日前
AGC株式会社
ハロゲン化アルケンの製造方法
3日前
エルジー・ケム・リミテッド
メラノコルチン-4受容体アゴニスト
2日前
DIC株式会社
フェニルホスホン酸亜鉛錯体、樹脂組成物、及び湿気硬化性ホットメルトウレタン樹脂接着剤
1日前
三井化学株式会社
遷移金属化合物、オレフィン重合用触媒およびオレフィン重合体の製造方法
2日前
旭化成株式会社
人工大理石からメタクリル酸メチルを回収する方法およびメタクリル樹脂を製造する方法
4日前
三井化学株式会社
遷移金属化合物、オレフィン重合用触媒およびオレフィン重合体の製造方法
2日前
続きを見る
他の特許を見る