TOP
|
特許
|
意匠
|
商標
特許ウォッチ
Twitter
他の特許を見る
公開番号
2025139784
公報種別
公開特許公報(A)
公開日
2025-09-29
出願番号
2024038814
出願日
2024-03-13
発明の名称
光検出器
出願人
浜松ホトニクス株式会社
代理人
個人
,
個人
,
個人
,
個人
主分類
H01J
40/18 20060101AFI20250919BHJP(基本的電気素子)
要約
【課題】真空筐体の内部で発生した反射電子から半導体光検出素子を保護できる光検出器を提供する。
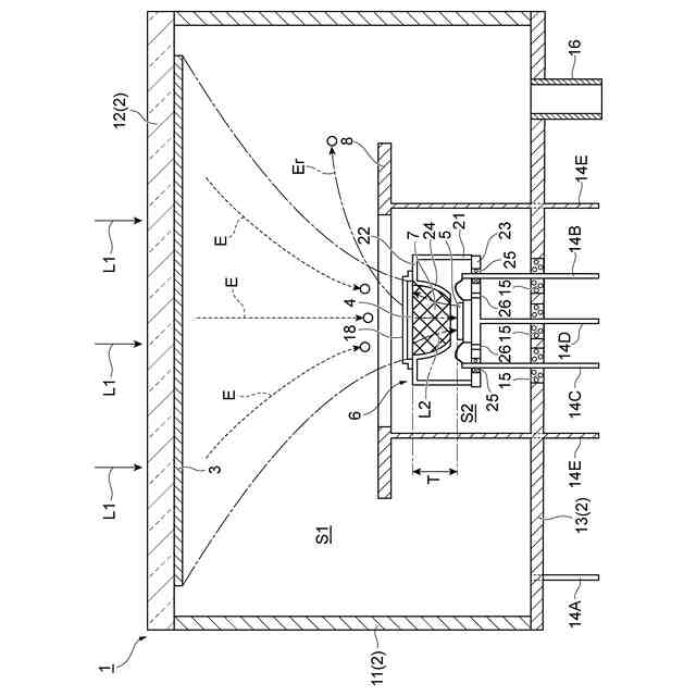
【解決手段】光検出器1は、窓部12を有する真空筐体2と、光L1の入射に応じて電子Eを放出する光電面(第1の光電変換層)3と、光電面3から放出された電子Eの入射に応じて光L2を発生させる蛍光体層(第2の光電変換層)4と、蛍光体層4を挟んで光電面3の反対側に配置され、蛍光体層4で発生した光L2を検出する半導体光検出素子5と、を備えている。半導体光検出素子5は、蛍光体層4から離間して配置されている。
【選択図】図1
特許請求の範囲
【請求項1】
検出対象となる光を入射させる窓部を有する真空筐体と、
前記真空筐体の内部に配置され、前記光の入射に応じて電子を放出する第1の光電変換層と、
前記真空筐体の内部に配置され、前記第1の光電変換層から放出された前記電子の入射に応じて光を発生させる第2の光電変換層と、
前記真空筐体の内部において前記第2の光電変換層を挟んで前記第1の光電変換層の反対側に配置され、前記第2の光電変換層で発生した光を検出する半導体光検出素子と、を備え、
前記半導体光検出素子は、前記第2の光電変換層から離間して配置されている、光検出器。
続きを表示(約 770 文字)
【請求項2】
前記真空筐体の内部には、前記半導体光検出素子を囲む内部筐体が配置されている、請求項1記載の光検出器。
【請求項3】
前記内部筐体によって前記第2の光電変換層からの前記半導体光検出素子の離間長が規定されている、請求項2記載の光検出器。
【請求項4】
前記内部筐体は、前記真空筐体の内部空間と内部筐体の内部空間とを連通させる孔部を有している、請求項2記載の光検出器。
【請求項5】
前記半導体光検出素子は、前記内部筐体の底部に配置されており、
前記孔部は、前記底部において前記半導体光検出素子の周囲に配置されている、請求項4記載の光検出器。
【請求項6】
前記真空筐体の底部には、前記真空筐体の排気口及び前記第1の光電変換層のアルカリ化に用いるアルカリの導入口となるチップ管が設けられており、
前記チップ管は、前記窓部の正面視において、前記内部筐体と重ならない位置に配置されている、請求項4記載の光検出器。
【請求項7】
前記内部筐体は、導電性材料によって構成されている、請求項2記載の光検出器。
【請求項8】
前記第2の光電変換層において、前記第1の光電変換層を向く面には、金属層が配置されている、請求項2記載の光検出器。
【請求項9】
前記金属層は、前記内部筐体と電気的に接続されている、請求項8記載の光検出器。
【請求項10】
前記第1の光電変換層の面積は、前記第2の光電変換層の面積よりも大きくなっており、
前記第2の光電変換層の面積は、前記半導体光検出素子の面積よりも大きくなっている、請求項1~9のいずれか一項記載の光検出器。
(【請求項11】以降は省略されています)
発明の詳細な説明
【技術分野】
【0001】
本開示は、光検出器に関する。
続きを表示(約 1,600 文字)
【背景技術】
【0002】
宇宙線の検出実験や加速器実験といった高エネルギー物理実験には、シングルフォトンを検出可能な光検出器が用いられている。従来の光検出器としては、光電面と、アバランシェフォトダイオードなどの半導体素子とが真空筐体の内部に配置された、いわゆるハイブリッド光検出器(HPD:Hybrid Photo Detector)が挙げられる。ハイブリッド光検出器では、光電面から放出された電子が半導体素子で直接検出されるが、シングルフォトンを検出するために必要なゲインが高く、そのために半導体素子を高電圧で駆動する必要があった。
【0003】
半導体光検出素子をより低電圧で駆動するため、光電面から放出された電子を一旦光に変換し、変換された光を半導体光検出素子で検出する光検出器が検討されている。このような光検出器としては、例えば特許文献1に記載の画素センサが挙げられる。この従来の光検出器では、光電面と、表面に蛍光体層が設けられた半導体光検出素子とが真空筐体の内部に配置されている。
【先行技術文献】
【特許文献】
【0004】
特表2003-507870号公報
【発明の概要】
【発明が解決しようとする課題】
【0005】
上述した特許文献1のような光検出器では、光電面から放出された電子の一部が真空筐体の内部で反射して反射電子となり得る。真空筐体内には、光電面から放出された電子が蛍光体層に集束するような電界が形成されている。このため、蛍光体層に向かう軌道から外れた反射電子が再び蛍光体層に向かって進行することが考えられる。反射電子が蛍光体層から反れて半導体光検出素子及び周辺の配線部などに衝突すると、半導体光検出素子にダメージが生じてしまうおそれがある。
【0006】
本開示は、上記課題の解決のためになされたものであり、真空筐体の内部で発生した反射電子から半導体光検出素子を保護できる光検出器を提供することを目的とする。
【課題を解決するための手段】
【0007】
本開示の要旨は、以下に示すとおりである。
【0008】
[1]検出対象となる光を入射させる窓部を有する真空筐体と、前記真空筐体の内部に配置され、前記光の入射に応じて電子を放出する第1の光電変換層と、前記真空筐体の内部に配置され、前記第1の光電変換層から放出された前記電子の入射に応じて光を発生させる第2の光電変換層と、前記真空筐体の内部において前記第2の光電変換層を挟んで前記第1の光電変換層の反対側に配置され、前記第2の光電変換層で発生した光を検出する半導体光検出素子と、を備え、前記半導体光検出素子は、前記第2の光電変換層から離間して配置されている、光検出器。
【0009】
この光検出器では、半導体光検出素子が第2の光電変換層から離間して配置されている。これにより、第1の光電変換層から放出された電子の一部が真空筐体の内部で反射して反射電子となった場合に、第2の光電変換層に向かう軌道から外れた反射電子が真空筐体内の電界によって再び蛍光体層に向かって進行したとしても、当該反射電子が半導体光検出素子に衝突する可能性を低減できる。したがって、この光検出器では、真空筐体の内部で発生した反射電子から半導体光検出素子を保護できる。
【0010】
[2]前記真空筐体の内部には、前記半導体光検出素子を囲む内部筐体が配置されている、[1]記載の光検出器。この場合、半導体光検出素子に向かう反射電子を内部筐体によって物理的にブロックできる。したがって、反射電子が半導体光検出素子に衝突することをより確実に防止できる。
(【0011】以降は省略されています)
この特許をJ-PlatPat(特許庁公式サイト)で参照する
関連特許
個人
安全なNAS電池
1か月前
日本発條株式会社
積層体
8日前
個人
フリー型プラグ安全カバー
1か月前
東レ株式会社
多孔質炭素シート
27日前
ローム株式会社
半導体装置
4日前
エイブリック株式会社
半導体装置
29日前
キヤノン株式会社
電子機器
27日前
ローム株式会社
半導体装置
6日前
個人
防雪防塵カバー
8日前
エイブリック株式会社
半導体装置
29日前
ローム株式会社
半導体装置
27日前
ローム株式会社
半導体装置
6日前
ローム株式会社
半導体装置
6日前
株式会社ティラド
面接触型熱交換器
19日前
ニチコン株式会社
コンデンサ
20日前
太陽誘電株式会社
全固体電池
4日前
株式会社GSユアサ
蓄電装置
1か月前
東レ株式会社
ガス拡散層の製造方法
27日前
ニチコン株式会社
コンデンサ
20日前
株式会社GSユアサ
蓄電装置
1か月前
オムロン株式会社
電磁継電器
1か月前
株式会社GSユアサ
蓄電装置
4日前
株式会社GSユアサ
蓄電装置
8日前
沖電気工業株式会社
アンテナ
1か月前
個人
半導体パッケージ用ガラス基板
7日前
株式会社GSユアサ
蓄電装置
1か月前
株式会社ホロン
冷陰極電子源
4日前
日本特殊陶業株式会社
保持装置
8日前
日本特殊陶業株式会社
保持装置
1か月前
日本特殊陶業株式会社
保持装置
4日前
トヨタ自動車株式会社
蓄電装置
1か月前
日本特殊陶業株式会社
保持装置
4日前
マクセル株式会社
配列用マスク
19日前
株式会社カネカ
二次電池
1か月前
トヨタ自動車株式会社
二次電池
8日前
株式会社ヨコオ
コネクタ
29日前
続きを見る
他の特許を見る