TOP
|
特許
|
意匠
|
商標
特許ウォッチ
Twitter
他の特許を見る
公開番号
2025142614
公報種別
公開特許公報(A)
公開日
2025-10-01
出願番号
2024042064
出願日
2024-03-18
発明の名称
オンチップアンテナを備えた半導体チップ
出願人
株式会社豊田中央研究所
,
株式会社ミライズテクノロジーズ
,
トヨタ自動車株式会社
,
株式会社デンソー
代理人
弁理士法人 快友国際特許事務所
主分類
H01Q
23/00 20060101AFI20250924BHJP(基本的電気素子)
要約
【課題】オンチップアンテナを備えた半導体チップにおいて、回路部を形成する位置に関する自由度を向上させる技術を提供する。
【解決手段】回路基板上に搭載される半導体チップは、オンチップアンテナと、回路素子を含む回路部と、を備えている。回路部は、回路素子に接続されている配線と、回路基板上の電極面に電気的に接続されるチップパッドと、配線とチップパッドの間に形成されているインダクタと、を有する。
【選択図】図4
特許請求の範囲
【請求項1】
回路基板上に搭載される半導体チップであって、
オンチップアンテナと、
回路素子を含む回路部と、を備えており、
前記回路部は、
前記回路素子に接続されている配線と、
前記回路基板上の電極面に電気的に接続されるチップパッドと、
前記配線と前記チップパッドの間に形成されているインダクタと、を有する、半導体チップ。
続きを表示(約 1,500 文字)
【請求項2】
前記インダクタは、平面コイルパターンとミアンダパターンのうち少なくとも一方を有する、請求項1に記載の半導体チップ。
【請求項3】
前記回路部は、前記半導体チップを平面視したときに、前記オンチップアンテナのアンテナ伸長方向に直交する方向において前記オンチップアンテナに隣り合って配置されている、請求項1に記載の半導体チップ。
【請求項4】
前記回路部は、前記オンチップアンテナの周波数帯域よりも低周波で動作する低周波回路を有する、請求項1に記載の半導体チップ。
【請求項5】
前記配線は、
GND配線と、
電源配線と、を有しており、
前記チップパッドは、
前記回路基板上のGND面に電気的に接続されるGNDパッドと、
前記回路基板上の電源面に電気的に接続される電源パッドと、を有しており、
前記インダクタは、
前記GND配線と前記GNDパッドの間に形成されている第1インダクタと、
前記電源配線と前記電源パッドの間に形成されている第2インダクタと、を有する、請求項1に記載の半導体チップ。
【請求項6】
前記第1インダクタは、第1平面コイルパターンを有しており、
前記第2インダクタは、第2平面コイルパターンを有しており、
前記第1平面コイルパターンと前記第2平面コイルパターンは、同一平面内に隣り合って配置されており、
前記第1平面コイルパターンのうち前記第2平面コイルパターンに最も近い位置のパターン配線部分を流れる電流の向きと、前記第2平面コイルパターンのうち前記第1平面コイルパターンに最も近い位置のパターン配線部分を流れる電流の向きと、が同一向きである、請求項5に記載の半導体チップ。
【請求項7】
前記第1インダクタは、第1平面コイルパターンを有しており、
前記第2インダクタは、第2平面コイルパターンを有しており、
前記第1平面コイルパターンと前記第2平面コイルパターンは、異なる面間で対向して配置されており、
対向するパターン配線部分を流れる電流の向きが同一向きである、請求項5に記載の半導体チップ。
【請求項8】
前記第1インダクタは、第1ミアンダパターンを有しており、
前記第2インダクタは、第2ミアンダパターンを有しており、
前記第1ミアンダパターンと前記第2ミアンダパターンは、同一平面内に隣り合って配置されており、
前記第1ミアンダパターンのうち前記第2ミアンダパターンに最も近い位置のパターン配線部分を流れる電流の向きと、前記第2ミアンダパターンのうち前記第1ミアンダパターンに最も近い位置のパターン配線部分を流れる電流の向きと、が同一向きである、請求項5に記載の半導体チップ。
【請求項9】
前記第1インダクタは、第1ミアンダパターンを有しており、
前記第2インダクタは、第2ミアンダパターンを有しており、
前記第1ミアンダパターンと前記第2ミアンダパターンは、異なる面間で対向して配置されており、
対向するパターン配線部分を流れる電流の向きが同一向きである、請求項5に記載の半導体チップ。
【請求項10】
前記配線はさらに、中間電位配線を有しており、
前記チップパッドはさらに、前記回路基板上の中間電位電極に接続される中間電位パッドを有しており、
前記インダクタはさらに、前記中間電位配線と前記中間電位パッドの間に形成されている第3インダクタを有する、請求項1~9のいずれか一項に記載の半導体チップ。
発明の詳細な説明
【技術分野】
【0001】
本明細書が開示する技術は、オンチップアンテナを備えた半導体チップに関する。
続きを表示(約 2,100 文字)
【背景技術】
【0002】
集積回路とオンチップアンテナを一体化させた半導体チップの開発が進められており、その一例が特許文献1に開示されている。
【先行技術文献】
【特許文献】
【0003】
特開2023-137179号公報
【発明の概要】
【発明が解決しようとする課題】
【0004】
オンチップアンテナとの間で高周波信号を入出力する無線回路部とは別に、ある種の機能を発揮する回路部を半導体チップに形成したいことがある。しかしながら、このような回路部がアンテナの近くに配置されていると、アンテナの周囲に生じる電界が影響され、信号伝搬量が低下するという問題がある。このような事態を避けるために、回路部はオンチップアンテナから十分に離れた位置に配置しなければならない。このため、このような回路部については、半導体チップ内に形成する位置に関して自由度が低いという問題がある。本明細書は、オンチップアンテナを備えた半導体チップにおいて、回路部を形成する位置に関する自由度を向上させる技術を提供する。
【課題を解決するための手段】
【0005】
本明細書は、回路基板上に搭載される半導体チップを提供することができる。半導体チップは、オンチップアンテナと、回路素子を含む回路部と、を備えていてもよい。回路部は、回路素子に接続されている配線と、回路基板上の電極面に接続されるチップパッドと、配線とチップパッドの間に形成されているインダクタと、を有していてもよい。
【0006】
上記半導体チップでは、配線とチップパッドの間にインダクタが形成されている。インダクタは、周波数が高いほどインピーダンスが高くなる。このため、配線とチップパッドの間にインダクタが形成されていると、回路部は、オンチップアンテナの周波数帯域においてインダクタによって切り離された構成と等価となることができる。この結果、例えばオンチップアンテナの近くに回路部が配置されていても、オンチップアンテナの周囲に生じる電界への影響が抑えられる。上記半導体チップでは、回路部を形成する位置に関する自由度が向上している。
【図面の簡単な説明】
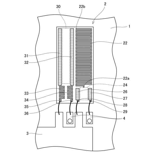
【0007】
アンテナ装置を模式的に示す平面図である。
アンテナ装置を模式的に示す底面図である。
半導体チップの積層構造を模式的に示す断面図である。
第1実施形態の半導体チップに設けられているオンチップアンテナと回路部のレイアウトを模式的に示す平面図である。
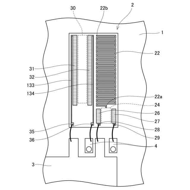
第2実施形態の半導体チップに設けられているオンチップアンテナと回路部のレイアウトを模式的に示す平面図である。
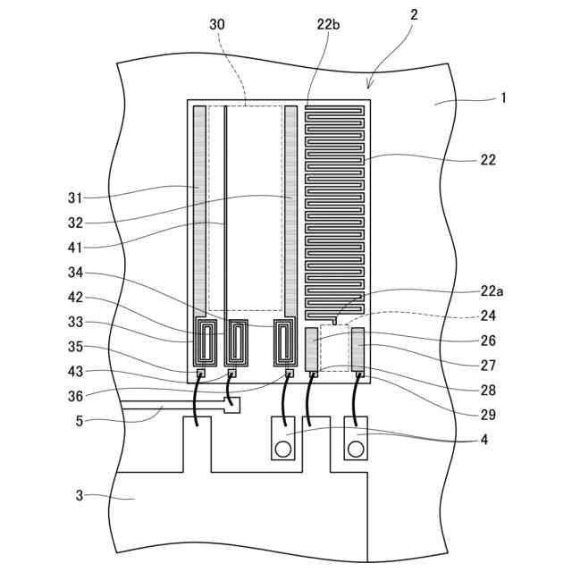
第3実施形態の半導体チップに設けられているオンチップアンテナと回路部のレイアウトを模式的に示す平面図である。
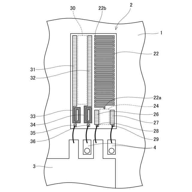
第4実施形態の半導体チップに設けられているオンチップアンテナと回路部のレイアウトを模式的に示す平面図である。
第5実施形態の半導体チップに設けられているオンチップアンテナと回路部のレイアウトを模式的に示す平面図である。
第5実施形態の変形例の半導体チップに設けられているオンチップアンテナと回路部のレイアウトを模式的に示す平面図である。
第5実施形態の変形例の半導体チップに設けられているオンチップアンテナと回路部のレイアウトを模式的に示す平面図である。
【発明を実施するための形態】
【0008】
以下、図面を参照し、アンテナ装置及びアンテナ装置に搭載される半導体チップについて説明する。なお、複数の実施形態を通して実質的に共通する構成要素については共通の符号を付す。
【0009】
(第1実施形態)
図1及び図2に示すように、アンテナ装置100は、回路基板1と、回路基板1の表面に設けられている一対の半導体チップ2a,2b及び一対の電源面3a,3bと、回路基板1の裏面に設けられている一対のGND面4a,4bと、を備えている。後述するように、一対の半導体チップ2a,2bの各々には、オンチップアンテナが形成されている。このため、アンテナ装置100は、一対の半導体チップ2a,2b間を電気的に絶縁分離した状態で、一対の半導体チップ2a,2b間で高周波信号を送受信するように構成されている。一対の半導体チップ2a,2b間の距離D1は、特に限定されるものではないが、例えば数mm~数10mmであってもよい。
【0010】
回路基板1は、平板状の形態を有しており、任意の材質の基板で構成される。回路基板1は、特に限定されるものではないが、例えばガラス繊維とエポキシ樹脂の複合材料で構成されたプリント回路基板(即ち、FR-4)であってもよい。この例では、1枚の回路基板1上に一対の半導体チップ2a,2bが設けられているが、この例に代えて、一対の半導体チップ2a,2bの各々に対応した2枚の回路基板が設けられ、それら回路基板間で通信を行うように構成されていてもよい。
(【0011】以降は省略されています)
この特許をJ-PlatPat(特許庁公式サイト)で参照する
関連特許
個人
安全なNAS電池
1か月前
日本発條株式会社
積層体
8日前
東レ株式会社
多孔質炭素シート
27日前
個人
フリー型プラグ安全カバー
1か月前
エイブリック株式会社
半導体装置
29日前
個人
防雪防塵カバー
8日前
キヤノン株式会社
電子機器
27日前
ローム株式会社
半導体装置
27日前
エイブリック株式会社
半導体装置
29日前
ローム株式会社
半導体装置
6日前
ローム株式会社
半導体装置
6日前
ローム株式会社
半導体装置
6日前
ローム株式会社
半導体装置
4日前
東レ株式会社
ガス拡散層の製造方法
27日前
沖電気工業株式会社
アンテナ
1か月前
株式会社ホロン
冷陰極電子源
4日前
個人
半導体パッケージ用ガラス基板
7日前
株式会社GSユアサ
蓄電装置
8日前
ニチコン株式会社
コンデンサ
20日前
ニチコン株式会社
コンデンサ
20日前
オムロン株式会社
電磁継電器
1か月前
株式会社GSユアサ
蓄電装置
4日前
株式会社ティラド
面接触型熱交換器
19日前
太陽誘電株式会社
全固体電池
4日前
株式会社GSユアサ
蓄電装置
1か月前
日本特殊陶業株式会社
保持装置
1か月前
ローム株式会社
電子装置
8日前
日本特殊陶業株式会社
保持装置
6日前
株式会社ヨコオ
コネクタ
29日前
日本特殊陶業株式会社
保持装置
4日前
日本特殊陶業株式会社
保持装置
4日前
TDK株式会社
電子部品
4日前
マクセル株式会社
配列用マスク
19日前
日本特殊陶業株式会社
保持装置
8日前
トヨタ自動車株式会社
二次電池
8日前
ローム株式会社
半導体装置
8日前
続きを見る
他の特許を見る