TOP
|
特許
|
意匠
|
商標
特許ウォッチ
Twitter
他の特許を見る
10個以上の画像は省略されています。
公開番号
2025151963
公報種別
公開特許公報(A)
公開日
2025-10-09
出願番号
2024053615
出願日
2024-03-28
発明の名称
状態解析装置、状態解析プログラム、及び状態解析システム
出願人
ENEOS株式会社
代理人
個人
主分類
G05B
23/02 20060101AFI20251002BHJP(制御;調整)
要約
【課題】イベントの発生原因をより高い精度で特定可能な状態解析装置、状態解析プログラム、及び状態解析システムを提供する。
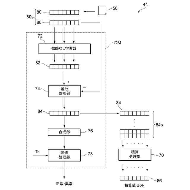
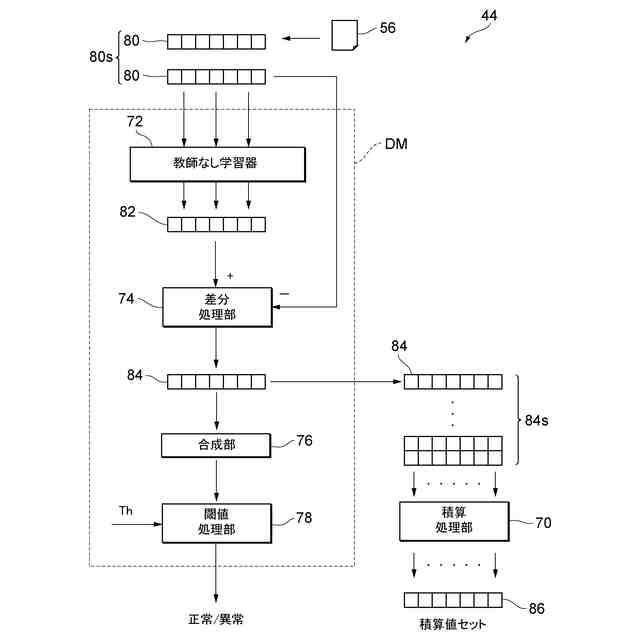
【解決手段】状態解析装置(20)は、同一の又は対応する時点におけるタグ毎の状態量の集合体である状態量セット80の次元圧縮及び次元復元を通じて状態量セット80を再構成した場合の再構成誤差84を算出し、時系列データの全区間(B1)のうち、イベントの発生時点を含む関心区間(B1,B2)内における再構成誤差の積算値である誤差積算値をタグ毎に算出し、タグ毎の誤差積算値の集合体である積算値セット86に基づいて、2つ以上のタグの中から、イベントの発生原因を示す原因タグ又は原因タグの候補である原因タグ候補を選択する。
【選択図】図4
特許請求の範囲
【請求項1】
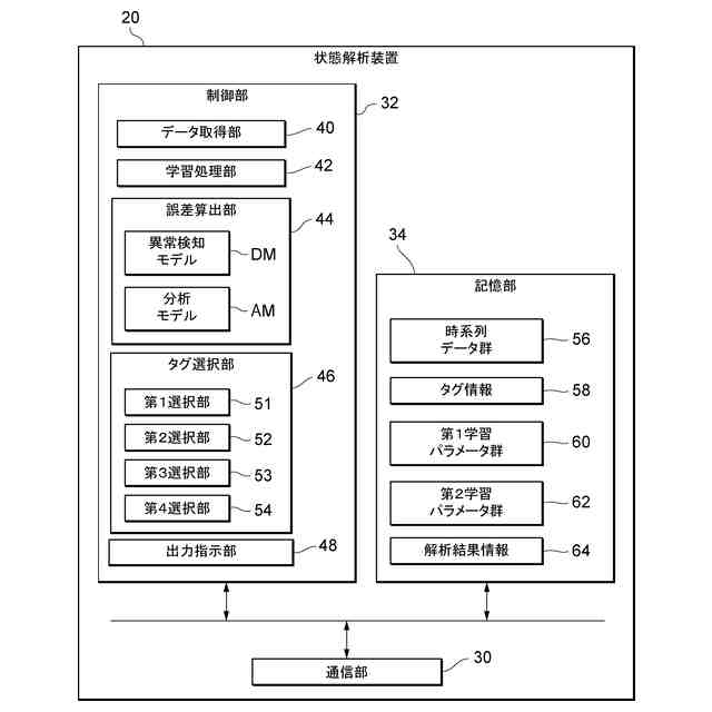
施設内の状態を示す状態量の時間推移を示す複数の時系列データをタグと対応付けて取得するデータ取得部と、
同一の又は対応する時点における前記タグ毎の前記状態量の集合体である状態量セットの次元圧縮及び次元復元を通じて前記状態量セットを再構成した場合の再構成誤差を算出するとともに、前記時系列データの全区間のうち、イベントの発生時点を含む関心区間内における前記再構成誤差の積算値である誤差積算値を前記タグ毎に算出する誤差算出部と、
前記誤差算出部により算出された前記タグ毎の前記誤差積算値の集合体である積算値セットに基づいて、2つ以上の前記タグの中から、前記イベントの発生原因を示す原因タグ又は前記原因タグの候補である原因タグ候補を選択する選択処理を行うタグ選択部と、
を備える、状態解析装置。
続きを表示(約 1,600 文字)
【請求項2】
前記選択処理は、前記誤差積算値と閾値とを比較し、又は前記誤差積算値同士を比較して前記原因タグ又は前記原因タグ候補を選択する比較演算を含む、
請求項1に記載の状態解析装置。
【請求項3】
前記選択処理は、前記関心区間内における前記状態量の積算値である状態量積算値を前記タグ毎に求め、前記状態量積算値に対する前記誤差積算値の比である積算値比を前記タグ毎に求め、前記積算値比と閾値とを比較し、又は前記積算値比同士を比較して前記原因タグ又は前記原因タグ候補を選択する比較演算を含む、
請求項1に記載の状態解析装置。
【請求項4】
前記選択処理は、前記誤差積算値に対する前記再構成誤差の寄与度を前記タグ毎に求め、前記寄与度と閾値とを比較し、又は前記寄与度同士を比較して前記原因タグ又は前記原因タグ候補を選択する比較演算を含む、
請求項1に記載の状態解析装置。
【請求項5】
前記寄与度は、前記タグ毎の前記再構成誤差の集合体である誤差セットを入力とし、前記積算値セット又は該積算値セットから生成した誤差特徴量を出力とする演算モデルに関して、前記演算モデルからの出力値に対する前記演算モデルへの入力値の寄与度を説明するための説明モデルを用いて求められる、
請求項4に記載の状態解析装置。
【請求項6】
前記誤差セットを構成する前記タグの数は、前記状態量セットを構成する前記タグの数以下である、
請求項5に記載の状態解析装置。
【請求項7】
前記選択処理は、前記関心区間内における前記状態量と前記再構成誤差の間の相関係数を前記タグ毎に求め、前記相関係数と閾値とを比較し、又は前記相関係数同士を比較して前記原因タグ又は前記原因タグ候補を選択する比較演算を含む、
請求項1に記載の状態解析装置。
【請求項8】
前記選択処理は、
前記誤差積算値に対する前記再構成誤差の寄与度を前記タグ毎に求め、前記寄与度と前記寄与度に対応する閾値とを比較し、又は前記寄与度同士を比較して前記原因タグ又は前記原因タグ候補を選択する第1比較演算と、
前記関心区間内における前記状態量と前記再構成誤差の間の相関係数を前記タグ毎に求め、前記相関係数と前記相関係数に対応する閾値とを比較し、又は前記相関係数同士を比較して前記原因タグ又は前記原因タグ候補を選択する第2比較演算と、を含み、
前記タグ選択部は、前記第1比較演算及び前記第2比較演算を実行することにより前記原因タグを選択する、
請求項1に記載の状態解析装置。
【請求項9】
前記イベントは、前記施設内で発生した異常の検知又は前記施設内における異常の疑いである、
請求項1に記載の状態解析装置。
【請求項10】
施設内の状態を示す状態量の時間推移を示す複数の時系列データをタグと対応付けて取得する取得ステップと、
同一の又は対応する時点における前記タグ毎の前記状態量の集合体である状態量セットの次元圧縮及び次元復元を通じて前記状態量セットを再構成した場合の再構成誤差を算出するとともに、前記時系列データの全区間のうち、イベントの発生時点を含む関心区間内における前記再構成誤差の積算値である誤差積算値を前記タグ毎に算出する算出ステップと、
算出された前記タグ毎の前記誤差積算値の集合体である積算値セットに基づいて、2つ以上の前記タグの中から、前記イベントの発生原因を示す原因タグ又は前記原因タグの候補である原因タグ候補を選択する選択処理を行う選択ステップと、
を1つ又は複数のコンピュータに実行させる、状態解析プログラム。
(【請求項11】以降は省略されています)
発明の詳細な説明
【技術分野】
【0001】
本開示は、状態解析装置、状態解析プログラム、及び状態解析システムに関する。
続きを表示(約 1,800 文字)
【背景技術】
【0002】
従来から、施設内の状態を示す状態量を逐次的に測定し、得られた時系列データに対して解析処理を施し、施設内の状態を解析する状態解析システムが知られている。
【0003】
特許文献1には、対象設備の振動波形データから診断データを生成し、当該診断データの再構成誤差の分布に基づいて異常の予兆を判定するとともに、当該診断データの周波数毎の誤差の評価に応じて対象設備の異常要因を推定する方法が開示されている。また、特許文献1には、異常要因を推定する際に、対象設備の周波数領域毎に異常要因を定めた関係図が参照される旨が記載されている。
【0004】
特許文献2には、多数の対象拠点の稼働データを中央拠点で集約して異常予兆を検知するに際して、検知処理の一部を各拠点で行う運用管理システムが開示されている。また、特許文献2では、異常検知アラートを発生させた場合に、異常原因の特定に有効な採取項目を含む稼働データを、異常原因分析用のデータとして中央拠点に転送する旨が記載されている。
【先行技術文献】
【特許文献】
【0005】
特開2020-030111号公報
特許第6438124号公報
【発明の概要】
【発明が解決しようとする課題】
【0006】
一般的に言えば、イベントの発生頻度が相対的に低い場合、イベント検知モデルには、学習データに正解を与えない状態で学習させる手法である「教師なし学習」が用いられる場合が多い。その理由として、[1]イベントが発生した事例を多く集めることが難しいこと、[2]イベントが発生した状態は多様であり、未知のイベントを上手く検知できない可能性があること、又は[3]イベントの発生を厳密に定義することが難しいことが挙げられる。
【0007】
また、イベントが発生する確からしさは、必ずしも再構成誤差の大きさに相関するとはいえない。その理由は、例えば、工程の上流側で発生した現象が、下流側に移行するにつれて遅延して増幅される場合があり得るからである。これにより、例えば、工程監視者がイベントの発生源を誤認することで、イベントへの対処が遅れる可能性がある。
【0008】
本開示は上記した問題に鑑みてなされたものであり、その目的は、イベントの発生原因をより高い精度で特定可能な状態解析装置、状態解析プログラム、及び状態解析システムを提供することにある。
【課題を解決するための手段】
【0009】
上記課題を解決するために、本開示の一態様における状態解析装置は、施設内の状態を示す状態量の時間推移を示す複数の時系列データをタグと対応付けて取得するデータ取得部と、同一の又は対応する時点における前記タグ毎の前記状態量の集合体である状態量セットの次元圧縮及び次元復元を通じて前記状態量セットを再構成した場合の再構成誤差を算出するとともに、前記時系列データの全区間のうち、イベントの発生時点を含む関心区間内における前記再構成誤差の積算値である誤差積算値を前記タグ毎に算出する誤差算出部と、前記誤差算出部により算出された前記タグ毎の前記誤差積算値の集合体である積算値セットに基づいて、2つ以上の前記タグの中から、前記イベントの発生原因を示す原因タグ又は前記原因タグの候補である原因タグ候補を選択する選択処理を行うタグ選択部と、を備える。
【0010】
本開示の別の態様における状態解析プログラムは、施設内の状態を示す状態量の時間推移を示す複数の時系列データをタグと対応付けて取得する取得ステップと、同一の又は対応する時点における前記タグ毎の前記状態量の集合体である状態量セットの次元圧縮及び次元復元を通じて前記状態量セットを再構成した場合の再構成誤差を算出するとともに、前記時系列データの全区間のうち、イベントの発生時点を含む関心区間内における前記再構成誤差の積算値である誤差積算値を前記タグ毎に算出する算出ステップと、算出された前記タグ毎の前記誤差積算値の集合体である積算値セットに基づいて、2つ以上の前記タグの中から、前記イベントの発生原因を示す原因タグ又は前記原因タグの候補である原因タグ候補を選択する選択処理を行う選択ステップと、を1つ又は複数のコンピュータに実行させる。
(【0011】以降は省略されています)
この特許をJ-PlatPat(特許庁公式サイト)で参照する
関連特許
個人
生産早送り装置
1か月前
株式会社豊田自動織機
産業車両
1か月前
株式会社カネカ
製造システム
1か月前
オムロン株式会社
スレーブ装置
11日前
株式会社熊谷組
障害物の検出方法
2日前
愛知製鋼株式会社
車両用システム
1か月前
ローム株式会社
基準電圧源
1か月前
個人
作業車両自動化システム
2か月前
愛知製鋼株式会社
目標軌跡の設定方法
2か月前
豊田合成株式会社
機器制御装置
7日前
トヨタ自動車株式会社
移動制御システム
1か月前
株式会社ダイフク
搬送設備
21日前
株式会社ダイフク
搬送設備
2か月前
トヨタ自動車株式会社
生産管理システム
2か月前
株式会社ダイフク
搬送設備
1か月前
トヨタ自動車株式会社
減圧弁
2か月前
キヤノン株式会社
配送システム
1か月前
カヤバ株式会社
減圧弁
9日前
マーク ヘイリー
消防ロボット
2か月前
トヨタ自動車株式会社
クラッチペダル
1か月前
株式会社ダイフク
物品搬送設備
21日前
トヨタ自動車株式会社
制御装置
11日前
アズビル株式会社
制御システムおよび制御方法
2か月前
キヤノン電子株式会社
加工システム、及び、加工装置
1か月前
アズビル株式会社
制御システムおよび制御方法
2か月前
キヤノン電子株式会社
加工システム、及び、加工装置
1か月前
株式会社テイエルブイ
減圧弁の制御装置
2か月前
ルネサスエレクトロニクス株式会社
半導体装置
1か月前
株式会社TMEIC
安全性診断装置
15日前
愛知製鋼株式会社
マーカシステム及び制御方法
1か月前
株式会社CAOS
移動体の制御システム
1か月前
村田機械株式会社
搬送車システム
1日前
株式会社アマダ
工作機械制御装置
1日前
日野自動車株式会社
自動運転装置
1日前
ローム株式会社
電源回路用の電子負荷装置
15日前
トヨタ自動車株式会社
情報処理装置
11日前
続きを見る
他の特許を見る