TOP
|
特許
|
意匠
|
商標
特許ウォッチ
Twitter
他の特許を見る
公開番号
2025122755
公報種別
公開特許公報(A)
公開日
2025-08-22
出願番号
2024018375
出願日
2024-02-09
発明の名称
半導体装置
出願人
ルネサスエレクトロニクス株式会社
代理人
個人
主分類
G05F
3/24 20060101AFI20250815BHJP(制御;調整)
要約
【課題】温度補償され、かつ、電源電圧補償された電流を生成する半導体装置を提供する。
【解決手段】半導体装置1は、正の温度係数を持ち、かつ、第1の電源電圧に依存しない第1の電流を生成する第1の電流生成回路11と、負の温度係数を持ち、かつ、第1の電源電圧に依存しない第2の電流を生成する第2の電流生成回路12と、第1の電流および第2の電流に基づいて、温度に依存せず、かつ、第1の電源電圧に依存しない第3の電流を生成する第3の電流生成回路13と、を備える。
【選択図】図1
特許請求の範囲
【請求項1】
正の温度係数を持ち、かつ、第1の電源電圧に依存しない第1の電流を生成する第1の電流生成回路と、
負の温度係数を持ち、かつ、前記第1の電源電圧に依存しない第2の電流を生成する第2の電流生成回路と、
前記第1の電流および前記第2の電流に基づいて、温度依存性がなく、かつ、前記第1の電源電圧に依存しない第3の電流を生成する第3の電流生成回路と
を備える半導体装置。
続きを表示(約 660 文字)
【請求項2】
前記第3の電流は、前記第1の電流を第1のミラー比でコピーした電流と、前記第2の電流を第2のミラー比でコピーした電流とを合流させることにより生成され、
前記第1のミラー比および前記第2のミラー比は、前記第3の電流の温度係数がゼロになるように設定される
請求項1に記載の半導体装置。
【請求項3】
前記第3の電流に基づいて、温度依存性がなく、かつ、前記第1の電源電圧に依存しない基準電圧を生成する
請求項1に記載の半導体装置。
【請求項4】
前記基準電圧は、1.2Vより大きい
請求項3に記載の半導体装置。
【請求項5】
前記基準電圧を増幅する負帰還増幅回路をさらに備える
請求項3に記載の半導体装置。
【請求項6】
前記負帰還増幅回路における帰還率は0.5より大きい
請求項5に記載の半導体装置。
【請求項7】
前記第3の電流をコピーした電流を、一端が第2の電源電圧に接続された抵抗に流すカレントミラー回路をさらに備え、
前記抵抗の他端で前記基準電圧が生成する
請求項3に記載の半導体装置。
【請求項8】
前記第2の電源電圧は、バッテリーの電圧である
請求項7に記載の半導体装置。
【請求項9】
前記第2の電流は、バイポーラトランジスタのベースエミッタ間電圧に基づいて生成される
請求項1に記載の半導体装置。
発明の詳細な説明
【技術分野】
【0001】
本発明は、半導体装置に関し、特に、温度補償された電流を生成する半導体装置に関する。
続きを表示(約 1,100 文字)
【背景技術】
【0002】
特許文献1は、温度補償され、かつ電源電圧補償された1.2V以下の基準電圧を生成する技術を開示している。
【先行技術文献】
【特許文献】
【0003】
特開2004-206633号公報
【発明の概要】
【発明が解決しようとする課題】
【0004】
特許文献1に記載された基準電圧発生回路には、温度補償され、かつ、電源電圧補償された1.2V以上の電圧を生成することができないという問題がある。
【0005】
本開示は、このような問題を解決するためになされたものであり、温度補償され、かつ、電源電圧補償された電流を生成する半導体装置を実現することを目的とする。
【0006】
その他の課題と新規な特徴は、本明細書の記述および添付図面から明らかになるであろう。
【課題を解決するための手段】
【0007】
一実施の形態による半導体装置は、正の温度係数を持ち、かつ、第1の電源電圧に依存しない第1の電流を生成する第1の電流生成回路と、負の温度係数を持ち、かつ、前記第1の電源電圧に依存しない第2の電流を生成する第2の電流生成回路と、前記第1の電流および前記第2の電流に基づいて、温度に依存せず、かつ、前記第1の電源電圧に依存しない第3の電流を生成する第3の電流生成回路とを備える。
【発明の効果】
【0008】
前記一実施の形態によれば、温度補償され、かつ、電源電圧補償された電流を生成する半導体装置を提供することができる。
【図面の簡単な説明】
【0009】
図1は、実施形態1にかかる半導体装置の構成を示す回路図である。
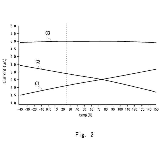
図2は、実施形態1にかかる電流の温度依存性を示すグラフである。
図3は、実施形態2にかかる半導体装置の構成を示す回路図である。
図4は、実施形態2にかかる基準電圧の温度依存性を示すグラフである。
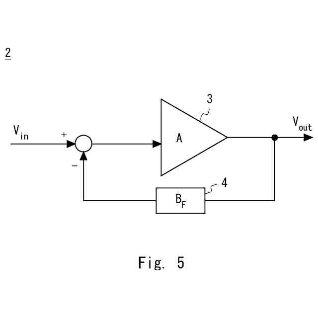
図5は、実施形態2の効果の一つを説明するための図である。
図6は、実施形態3にかかる半導体装置の構成を示す回路図である。
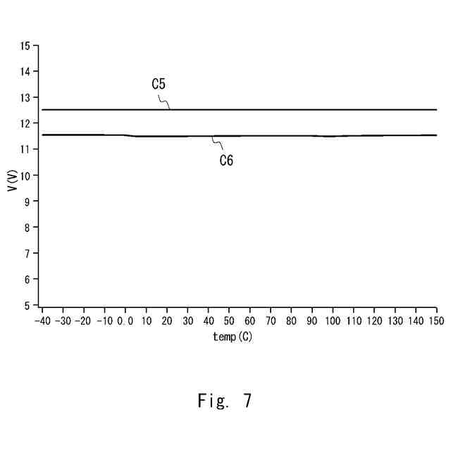
図7は、実施形態3にかかる基準電圧の温度依存性を示すグラフである。
【発明を実施するための形態】
【0010】
説明の明確化のため、以下の記載及び図面は、適宜、省略、および簡略化がなされている。各図面において、同一の要素には同一の符号が付されており、必要に応じて重複説明は省略されている。
(【0011】以降は省略されています)
この特許をJ-PlatPat(特許庁公式サイト)で参照する
関連特許
個人
生産早送り装置
2か月前
株式会社豊田自動織機
産業車両
1か月前
株式会社FUJI
工作機械
3か月前
株式会社カネカ
製造システム
1か月前
オムロン株式会社
スレーブ装置
12日前
株式会社ダイヘン
移動体
3か月前
株式会社熊谷組
障害物の検出方法
3日前
ローム株式会社
基準電圧源
1か月前
愛知製鋼株式会社
車両用システム
1か月前
株式会社FUJI
加工機械ライン
2か月前
新電元工業株式会社
作業用ロボット
1日前
個人
作業車両自動化システム
2か月前
愛知製鋼株式会社
目標軌跡の設定方法
2か月前
ローム株式会社
半導体集積回路
4か月前
豊田合成株式会社
機器制御装置
8日前
トヨタ自動車株式会社
移動制御システム
2か月前
トヨタ自動車株式会社
生産管理システム
2か月前
三栄ハイテックス株式会社
基準電圧回路
4か月前
株式会社ダイフク
搬送設備
1か月前
株式会社ダイフク
搬送設備
2か月前
株式会社ダイフク
搬送設備
3か月前
株式会社ダイフク
搬送設備
22日前
株式会社オプトン
制御プログラム生成装置
3か月前
株式会社鷺宮製作所
制御装置
3か月前
キヤノン電子株式会社
加工装置、及び、制御方法
3か月前
トヨタ自動車株式会社
減圧弁
2か月前
株式会社ダイフク
物品搬送設備
3か月前
トヨタ自動車株式会社
クラッチペダル
1か月前
株式会社ダイヘン
負荷時タップ切換器
3か月前
マーク ヘイリー
消防ロボット
2か月前
株式会社ダイフク
物品搬送設備
22日前
株式会社ダイフク
物品搬送設備
4か月前
キヤノン株式会社
配送システム
1か月前
トヨタ自動車株式会社
制御装置
12日前
カヤバ株式会社
減圧弁
10日前
株式会社ダイフク
物品搬送設備
3か月前
続きを見る
他の特許を見る