TOP
|
特許
|
意匠
|
商標
特許ウォッチ
Twitter
他の特許を見る
公開番号
2025155197
公報種別
公開特許公報(A)
公開日
2025-10-14
出願番号
2024058849
出願日
2024-04-01
発明の名称
ワイヤーハーネス及びワイヤーハーネスの配索構造
出願人
矢崎総業株式会社
代理人
個人
,
個人
主分類
H01B
7/00 20060101AFI20251006BHJP(基本的電気素子)
要約
【課題】より作業性の向上を図ることが可能なワイヤーハーネス及びワイヤーハーネスの配索構造を提供する。
【解決手段】ワイヤーハーネス1は、電線10と、不織布、及び、不織布を構成する繊維上に被覆された導電性金属からなるめっき部を備えた導電性不織布、並びに、導電性不織布の少なくとも一面に形成された粘着層を有する導電性不織布テープ20とを備え、導電性不織布テープ20は、当該一面が外側となるように電線10に巻き付けられている。
【選択図】図1
特許請求の範囲
【請求項1】
電線と、
不織布、及び、前記不織布を構成する繊維上に被覆された導電性金属からなるめっき部を備えた導電性不織布、並びに、前記導電性不織布の少なくとも一面に形成された粘着層を有する導電性不織布テープと、を備え、
前記導電性不織布テープは、当該一面が外側となるように前記電線に巻き付けられている
ことを特徴とするワイヤーハーネス。
続きを表示(約 250 文字)
【請求項2】
前記導電性不織布テープは、前記一面の一部に前記粘着層が形成され、径方向に重なるラップ部を有して前記電線に螺旋状に巻き付けられると共に、前記ラップ部における、前記導電性不織布間に前記粘着層が介在しない部分を有して、前記導電性不織布同士が接触状態とされている
ことを特徴とする請求項1に記載のワイヤーハーネス。
【請求項3】
請求項1に記載のワイヤーハーネスの前記粘着層を車両側に貼り付けている
ことを特徴とするワイヤーハーネスの配索構造。
発明の詳細な説明
【技術分野】
【0001】
本発明は、ワイヤーハーネス及びワイヤーハーネスの配索構造に関する。
続きを表示(約 1,600 文字)
【背景技術】
【0002】
従来、電線やその周囲の機器等をノイズから保護するシールド部を備えたワイヤーハーネスが提案されている。このようなワイヤーハーネスには、例えば、電線サイズやシールド要求性能別に大きさや密度が設定された金属編組が用いられている。また、金属編組の外周に絶縁体からなる外皮を設けたものも提案されている(例えば特許文献1参照)。
【先行技術文献】
【特許文献】
【0003】
特開2018-206527号公報
【発明の概要】
【発明が解決しようとする課題】
【0004】
ここで、特許文献1に記載のようなワイヤーハーネスは、結束バンド付きクリップ等の固定器具を利用して車両側に固定される。このため、シールド部を備えたワイヤーハーネスを配索するにあたっては、多数の作業が必要となってしまう。例えば、電線にシールド部を形成する作業(例えば編組を被せる作業)や、固定器具をワイヤーハーネスに取り付ける作業(例えば結束バンドでワイヤーハーネスを締める作業)が必要となってしまう。さらに、ワイヤーハーネスの車両側への取付箇所の形成作業(例えばクリップ挿入用の開孔の形成作業)等も必要となってしまう。このように、シールド部を備えるワイヤーハーネスの配索作業については、決して作業性が良いものとはいえなかった。
【0005】
本発明はこのような従来の課題を解決するためになされたものであり、その目的とするところは、より作業性の向上を図ることが可能なワイヤーハーネス及びワイヤーハーネスの配索構造を提供することにある。
【課題を解決するための手段】
【0006】
本発明に係るワイヤーハーネスは、電線と、不織布、及び、前記不織布を構成する繊維上に被覆された導電性金属からなるめっき部を備えた導電性不織布、並びに、前記導電性不織布の少なくとも一面に形成された粘着層を有する導電性不織布テープと、を備え、前記導電性不織布テープは、当該一面が外側となるように前記電線に巻き付けられている。
【0007】
本発明に係るワイヤーハーネスの配索構造は、上記に記載のワイヤーハーネスの粘着層を車両側に貼り付けている。
【発明の効果】
【0008】
本発明によれば、より作業性の向上を図ることが可能なワイヤーハーネス及びワイヤーハーネスの配索構造を提供することができる。
【図面の簡単な説明】
【0009】
本発明の実施形態に係るワイヤーハーネスを示す斜視図である。
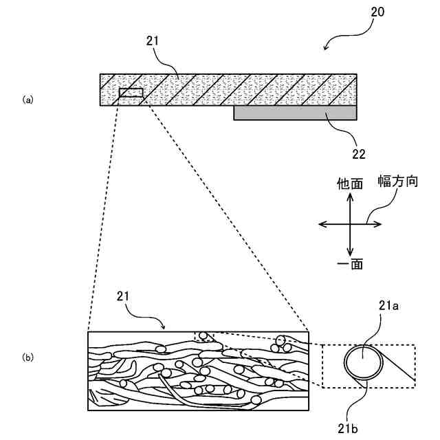
図1に示した導電性不織布テープの詳細を示す断面図であり、(a)はテープ長手方向に直交する断面を示し、(b)は(a)の一部拡大図を示している。
図1のA-A断面を示す断面図である。
図1に示したワイヤーハーネスの長手方向に沿った断面図である。
磁界の発生の様子を示すイメージ図であり、(a)は参考例の磁界の様子を示し、(b)は本実施形態の磁界の様子を示している。
図1に示したワイヤーハーネスの配索状態の一例を示す斜視図である。
【発明を実施するための形態】
【0010】
以下、本発明を好適な実施形態に沿って説明する。なお、本発明は以下に示す実施形態に限られるものではなく、本発明の趣旨を逸脱しない範囲において適宜変更可能である。また、以下に示す実施形態においては、一部構成の図示や説明を省略している箇所があるが、省略された技術の詳細については、以下に説明する内容と矛盾が発生しない範囲内において、適宜公知又は周知の技術が適用されていることはいうまでもない。
(【0011】以降は省略されています)
この特許をJ-PlatPat(特許庁公式サイト)で参照する
関連特許
矢崎総業株式会社
照明灯
1か月前
矢崎総業株式会社
箱状体
11日前
矢崎総業株式会社
箱状体
11日前
矢崎総業株式会社
コネクタ
18日前
矢崎総業株式会社
コネクタ
1か月前
矢崎総業株式会社
コネクタ
1か月前
矢崎総業株式会社
コネクタ
1か月前
矢崎総業株式会社
コネクタ
11日前
矢崎総業株式会社
コネクタ
11日前
矢崎総業株式会社
コネクタ
12日前
矢崎総業株式会社
コネクタ
12日前
矢崎総業株式会社
コネクタ
1か月前
矢崎総業株式会社
コネクタ
12日前
矢崎総業株式会社
コネクタ
18日前
矢崎総業株式会社
コネクタ
20日前
矢崎総業株式会社
コネクタ
16日前
矢崎総業株式会社
コネクタ
16日前
矢崎総業株式会社
照明構造
16日前
矢崎総業株式会社
コネクタ
24日前
矢崎総業株式会社
止水部材
16日前
矢崎総業株式会社
コネクタ
23日前
矢崎総業株式会社
コネクタ
1か月前
矢崎総業株式会社
コネクタ
1か月前
矢崎総業株式会社
コネクタ
1か月前
矢崎総業株式会社
コネクタ
1か月前
矢崎総業株式会社
コネクタ
1か月前
矢崎総業株式会社
コネクタ
1か月前
矢崎総業株式会社
コネクタ
10日前
矢崎総業株式会社
コネクタ
5日前
矢崎総業株式会社
バスバー
2日前
矢崎総業株式会社
コネクタ
9日前
矢崎総業株式会社
電気接続箱
1か月前
矢崎総業株式会社
カバー構造
1か月前
矢崎総業株式会社
電気接続箱
23日前
矢崎総業株式会社
電流センサ
1か月前
矢崎総業株式会社
電流センサ
1か月前
続きを見る
他の特許を見る