TOP
|
特許
|
意匠
|
商標
特許ウォッチ
Twitter
他の特許を見る
10個以上の画像は省略されています。
公開番号
2025157953
公報種別
公開特許公報(A)
公開日
2025-10-16
出願番号
2024060334
出願日
2024-04-03
発明の名称
情報処理装置、作業支援システムおよび作業支援方法
出願人
株式会社日立産機システム
代理人
弁理士法人筒井国際特許事務所
主分類
G05B
23/02 20060101AFI20251008BHJP(制御;調整)
要約
【課題】設備の監視用の通信装置や監視用システムなどの技術に関して、作業者の負担を軽減できる技術を提供する。
【解決手段】設備2と接続する通信装置1であって、設備2の種別毎の接続に関する状態の識別に用いる識別情報113と、設備2の種別毎の作業手順を説明して作業を支援するためのコンテンツ情報115とが記憶された記憶部と、設備2との接続における通信または入出力に関する情報と、識別情報113とに基づいて、設備2毎に接続に関する状態を識別する識別部102と、設備2毎の接続に関する状態と、コンテンツ情報115とに基づいて、設備2の間でのコンテンツ情報の表示順位を決定し、決定した表示順位に基づいて、表示させるためのコンテンツ情報を生成する生成部103とを備える。
【選択図】図1
特許請求の範囲
【請求項1】
1つ以上の設備と接続し、前記設備から情報を取得する情報処理装置であって、
前記設備の種別毎の接続に関する状態の識別に用いる識別情報と、前記設備の種別毎の作業手順を説明して作業を支援するためのコンテンツ情報とが記憶された記憶部と、
前記設備との接続における通信または入出力に関する情報と、前記識別情報とに基づいて、前記設備毎に前記接続に関する状態を識別する識別部と、
前記設備毎の前記接続に関する状態と、前記コンテンツ情報とに基づいて、前記1つ以上の設備の間での前記コンテンツ情報の表示順位を決定し、決定した表示順位に基づいて、表示させるための前記コンテンツ情報を生成する生成部と、
を備える、情報処理装置。
続きを表示(約 1,300 文字)
【請求項2】
請求項1記載の情報処理装置において、
前記設備と所定のインタフェースで通信または入出力が可能なように接続される接続部を備え、
前記接続部は、前記設備として複数の設備を接続可能である複数の端子を有し、
前記識別部は、前記複数の端子における端子毎に、前記設備との接続に関する状態を識別する、
情報処理装置。
【請求項3】
請求項1記載の情報処理装置において、
前記識別部は、前記設備との接続に関する状態として、前記設備からの信号または情報の受信が無い状態である「応答無し」、を含む状態を識別する、
情報処理装置。
【請求項4】
請求項3記載の情報処理装置において、
前記識別部は、前記設備との接続に関する状態を、「正常」、「異常」、「応答無し」の3パターンの値で識別する、
情報処理装置。
【請求項5】
請求項1記載の情報処理装置において、
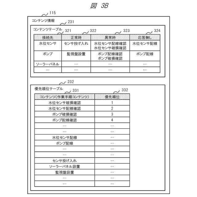
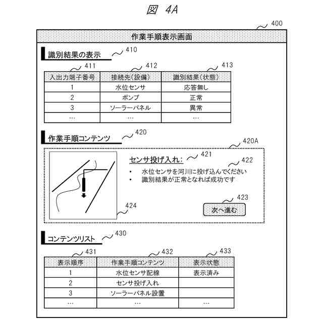
前記記憶部の前記コンテンツ情報は、前記設備毎に、前記接続に関する状態に応じて、設定されているとともに、複数のコンテンツ情報には優先順位が設定されており、
前記生成部は、前記接続に関する状態と前記優先順位とに応じて、表示させるための複数のコンテンツ情報の表示順位を決定する、
情報処理装置。
【請求項6】
請求項1記載の情報処理装置において、
前記表示順位に従って、表示画面内に1つずつ順次に前記コンテンツ情報を表示させる、
情報処理装置。
【請求項7】
請求項1記載の情報処理装置において、
前記表示順位に従って、表示画面内の複数の領域に前記コンテンツ情報における複数のコンテンツ情報を並列に表示させる、
情報処理装置。
【請求項8】
請求項1記載の情報処理装置において、
ユーザが使用する表示装置と通信で接続され、
前記表示装置の表示画面に前記コンテンツ情報を表示させ、
前記表示画面の前記コンテンツ情報に対する前記ユーザの入力操作に基づいて、前記表示順序に従って、次のコンテンツ情報を表示させる、
情報処理装置。
【請求項9】
請求項8記載の情報処理装置において、
前記識別部は、前記入力操作が実行された後に、前記設備毎に前記接続に関する状態の識別を行い、
前記生成部は、前記入力操作が実行された後の前記設備毎の前記接続に関する状態と、前記コンテンツ情報とに基づいて、前記1つ以上の設備の間での前記コンテンツ情報の表示順位を決定し、決定した表示順位に基づいて、表示させるための前記コンテンツ情報を生成する、
情報処理装置。
【請求項10】
請求項1記載の情報処理装置において、
生成された前記コンテンツ情報とともに、前記設備毎の前記接続に関する状態を、ユーザに対し出力する、
情報処理装置。
(【請求項11】以降は省略されています)
発明の詳細な説明
【技術分野】
【0001】
本開示は、産業機器・制御盤・センサなど(総称して設備と記載する場合がある)を監視するために設置される通信装置や監視用システムなどの技術に関する。
続きを表示(約 1,900 文字)
【背景技術】
【0002】
保守効率化を目的に、河川の水位監視、山中の通信インフラ設備の監視、ビル内部の使用電力監視などの、遠隔地の設備の監視用システムが導入される事例が増えている。このような遠隔設備監視では、LTEや5Gなどの公衆網に接続可能な通信装置と、監視対象となる設備とが接続される。通信装置は、設備の状態などを監視し、監視情報を遠隔で送信する。産業機器と接続可能なシリアル通信やデジタル・アナログI/Oなどの、設備監視に有用なインタフェースを有する、産業向けの通信装置もあり、監視可能な設備も多岐に渡る。
【0003】
このことから、遠隔地の現場での、通信装置と監視対象設備とを組み合わせたシステム(すなわち監視用システム)の構築・保守の手順についても複雑化する傾向にある。
【0004】
このようなシステム構築・保守手順における作業員の負担軽減を行う先行技術例としては、特開2007-115119号公報(特許文献1)などが挙げられる。
【先行技術文献】
【特許文献】
【0005】
特開2007-115119号公報
【発明の概要】
【発明が解決しようとする課題】
【0006】
特許文献1では、プラントにおいて監視対象設備を監視制御する監視制御装置の故障検知時に復旧時間を短縮し、保守員の負担を軽減する旨の保守支援システムについて記載されている。特許文献1では、監視対象設備は、故障情報から故障要因・故障箇所を判定し、交換手順書を出力する旨、記載がある。しかし、この交換手順書自体は、事前に格納された情報を検索して出力するのみであり、人的ミスへの対応については保守員が判断して作業手順を見直す必要がある。また、トラブルが起きた場合には、保守員の判断により手順が入れ替わる可能性がある。これらの判断には、保守員の熟練が必要であり、未経験の保守員においては負担が増えてしまう。
【0007】
複雑化した現場のシステム(すなわち監視用システム)の構築や保守は、現場ごとに異なり得るものであるため、作業手順などが複雑であり、作業者によるミスも生じ得る。作業手順が不明な場合や作業者のミスなどが生じた場合に、従来では、作業者が、予め規定された手順書やマニュアルやトラブルシューティングなどの情報を参照する。しかしながら、単純な手順書の参照では、作業者に判断を強いる場面があり、作業者の負担が増える。現場のシステムが現在どのような状態であるかが、必ずしも明確ではないため、作業者がどの情報を参照すればよいか、判断に時間や手間がかかる。また、作業者は、次にどのような作業手順で作業すればよいか、よくわからない場合がある。また、熟練者ではない作業者には判断が難しい場合がある。
【0008】
上記のようなシステム構築・保守の作業手順における作業者の負担軽減を実現するためには、通信装置が接続される監視対象設備の種別や状態を判断しながら、適切な作業手順を表示することが必要または有用である、と考えられる。設備/システムの状態などに合わせて、作業者に対し、適切な作業手順などを表示・出力できれば、作業者の負担が軽減し、適切に効率的に作業を行えるように支援することができる。
【0009】
本開示の目的は、上記設備の監視用の通信装置や監視用システム、および当該システムの構築・保守の作業を支援する作業支援システムや方法やプログラムなどの技術に関して、作業者の負担を軽減できる技術を提供することである。
【課題を解決するための手段】
【0010】
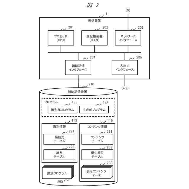
本開示のうち代表的な実施の形態は、以下に示す構成を有する。一実施の形態は、1つ以上の設備と接続し、前記設備から情報を取得する情報処理装置であって、前記設備の種別毎の接続に関する状態の識別に用いる識別情報と、前記設備の種別毎の作業手順を説明して作業を支援するためのコンテンツ情報とが記憶された記憶部と、前記設備との接続における通信または入出力に関する情報と、前記識別情報とに基づいて、前記設備毎に前記接続に関する状態を識別する識別部と、前記設備毎の前記接続に関する状態と、前記コンテンツ情報とに基づいて、前記1つ以上の設備の間での前記コンテンツ情報の表示順位を決定し、決定した表示順位に基づいて、表示させるための前記コンテンツ情報を生成する生成部と、を備える。
【発明の効果】
(【0011】以降は省略されています)
この特許をJ-PlatPat(特許庁公式サイト)で参照する
関連特許
個人
生産早送り装置
2か月前
株式会社豊田自動織機
産業車両
2か月前
株式会社カネカ
製造システム
1か月前
オムロン株式会社
スレーブ装置
29日前
愛知製鋼株式会社
車両用システム
2か月前
ローム株式会社
基準電圧源
1か月前
株式会社熊谷組
障害物の検出方法
20日前
株式会社FUJI
加工機械ライン
3か月前
個人
作業車両自動化システム
2か月前
新電元工業株式会社
作業用ロボット
18日前
豊田合成株式会社
機器制御装置
25日前
愛知製鋼株式会社
目標軌跡の設定方法
3か月前
トヨタ自動車株式会社
生産管理システム
2か月前
株式会社ダイフク
搬送設備
1か月前
株式会社ダイフク
搬送設備
2か月前
株式会社ダイフク
搬送設備
1か月前
トヨタ自動車株式会社
移動制御システム
2か月前
トヨタ自動車株式会社
減圧弁
2か月前
キヤノン電子株式会社
加工装置、及び、制御方法
3か月前
マーク ヘイリー
消防ロボット
3か月前
エイブリック株式会社
電流補償回路及び半導体装置
14日前
カヤバ株式会社
減圧弁
27日前
トヨタ自動車株式会社
クラッチペダル
2か月前
キヤノン株式会社
配送システム
1か月前
株式会社ダイフク
物品搬送設備
1か月前
株式会社ダイフク
物品搬送設備
3か月前
トヨタ自動車株式会社
制御装置
29日前
アズビル株式会社
制御システムおよび制御方法
3か月前
アズビル株式会社
制御システムおよび制御方法
3か月前
ルネサスエレクトロニクス株式会社
半導体装置
2か月前
株式会社TMEIC
安全性診断装置
1か月前
キヤノン電子株式会社
加工システム、及び、加工装置
2か月前
日野自動車株式会社
自動運転装置
19日前
株式会社アマダ
工作機械制御装置
19日前
村田機械株式会社
搬送車システム
19日前
キヤノン電子株式会社
加工システム、及び、加工装置
2か月前
続きを見る
他の特許を見る