TOP
|
特許
|
意匠
|
商標
特許ウォッチ
Twitter
他の特許を見る
10個以上の画像は省略されています。
公開番号
2025100883
公報種別
公開特許公報(A)
公開日
2025-07-03
出願番号
2025071771,2024059479
出願日
2025-04-23,2021-11-24
発明の名称
精算システム、精算システムの中継器
出願人
旭精工株式会社
代理人
主分類
G07G
1/12 20060101AFI20250626BHJP(チェック装置)
要約
【課題】POSシステムと自動精算機との間の情報の送受信を効率化することで、効率的な精算機付きPOSシステムを提供する。
【解決手段】店舗内に配置されたPOS端末3と精算機1とを中継器2を介して接続する。POS端末3は、入力と表示を行う第1操作パネルを備え、商品を登録し、売上額を表示し、中継器2に売上額を出力することができる。中継器2は、入力と表示を行う第2操作パネルを備え、POS端末3から取得した売上額と精算機1から取得した入金額を表示し、第2操作パネルからの所定の入力に応じて所定の精算処理の開始の指示を精算機1に出力することができる。精算機1は、入金額を中継器2に出力でき、また、精算処理の開始の指示を中継器2から取得した場合に、所定の精算処理を開始する。
【選択図】 図1
特許請求の範囲
【請求項1】
客の購入する商品を登録し、売上金額を表示するPOSシステムと、貨幣の入金口を備え代金を収受する精算機とを備える精算システムであって、
前記POSシステムと前記精算機に接続された中継器を備え、
前記POSシステムは、
前記商品の登録を行い、該登録された前記商品の前記売上金額を表示する第1操作パネルと、
前記中継器と通信することで前記売上金額を前記中継器に出力する第1通信手段と、を有し、
前記中継器は、
前記POSシステムと通信し、前記POSシステムから出力される前記売上金額の入力と、前記精算機と通信し、前記精算機から出力される入金額の入力と前記精算機に処理を実行させる指示の出力と、をする第2通信手段と、
入力した前記売上金額と前記入金額の表示と、所定の精算処理を前記精算機に実行させる前記指示をするための所定の入力と、をする第2操作パネルと、を有し、
前記精算機は、
前記中継器と通信し、前記中継器から出力される前記指示の入力と、前記中継器に前記入金口から入金される前記入金額の出力と、をする第3通信手段と、
前記所定の精算処理の前記指示の入力に基づいて前記所定の精算処理の実行を制御する精算機制御手段と、を有する
ことを特徴とする精算システム。
続きを表示(約 680 文字)
【請求項2】
前記第2操作パネルは、前記入金額と前記売上金額の差である釣銭額を表示することを特徴とする請求項1に記載の精算システム。
【請求項3】
中継器制御手段を有し、前記入金額と前記売上金額とに基づいて前記釣銭額を計算し、前記第2操作パネルに表示させる制御をすることを特徴とする請求項2に記載の精算システム。
【請求項4】
客の購入する商品を登録し、売上金額を表示するPOSシステムと、貨幣の入金口を備え代金を収受する精算機と、を備える精算システムの前記POSシステムと前記精算機に接続される精算システムの中継器であって、
入力と表示を行う第2操作パネルを備え、
入力と表示を行う第1操作パネルが備わる前記POSシステムによって登録され、出力された前記商品の前記売上金額を取得し、
前記精算機から出力された前記入金口に入金された入金額を取得し、
取得した前記売上金額と取得した前記入金額とを前記第2操作パネルに表示し、
前記第2操作パネルから入力された所定の入力に応じて前記精算機に所定の精算処理を実行させる指示を出力することを特徴とする精算システムの中継器。
【請求項5】
第2通信手段は、前記売上金額を前記精算機に出力し、
前記第3通信手段は、前記中継器から出力される前記売上金額を入力し、
前記精算機は、前記入金額と前記売上金額とを表示する第3操作パネルを有することを特徴とする請求項1から請求項3の何れか1項に記載の精算システム。
発明の詳細な説明
【技術分野】
【0001】
本発明は、貨幣の入金処理を実行する精算機を含み代金の収受を行う精算システム、精算システムの中継器及び精算システムの精算機に関する。
続きを表示(約 5,500 文字)
【背景技術】
【0002】
小売店などで使用される精算機付きPOSシステムが知られている。精算機付きPOSシステムは、予め商品とその商品の単価が関連づけられて記憶されている。精算機付きPOSシステムは、顧客の購入する商品を登録することで、対応する単価を取得し、顧客が支払う代金の合計を演算することができる。精算機付きPOSシステムは店員用の表示装置と顧客用の表示装置が備えられている。店員が商品を登録しているときに、店員は店員用の表示装置によって商品の登録状況を確認でき、顧客は顧客用の表示装置によって商品の登録状況を確認することができる。店員と顧客は、商品名、単価、合計金額の推移を知ることができる。精算機は、POSシステムから取得した合計金額と入金された代金とに基づいて、釣銭額を演算し、釣銭を払い出す。また、顧客自身が購入する商品の精算を行い、退店するというセルフ方式のPOSシステムも知られている。
【0003】
また、商品登録機能と精算機の機能を分離して使用するPOSシステムも知られている。例えば、特許第5790145号には、店員が、POSシステムの商品登録機能によって商品を登録し、コード化された代金額が記録されたチケットを発行し、顧客に渡す。顧客は、チケットを精算機に読み込ませ、代金を支払う。顧客は、代金の支払いを条件に店から退出すゲートを通過できる。この様なシステムにすることで、商品登録機能と精算機を別々の場所に配置して使用することができ、また、商品の盗難を防止できる。
【先行技術文献】
【特許文献】
【0004】
特許第5790145号
【発明の概要】
【発明が解決しようとする課題】
【0005】
しかし、従来の技術では、POSシステムは、顧客に商品の登録状況を確認させるために、顧客用の表示装置に表示させるための専用の表示データを生成する必要がある。また、POSシステムは、買い上げ商品の合計額や明細を専用のデータにして精算機に専用のプロトコルを用いて送信する必要がある。また、商品登録機能と精算機を分離して使用しようとする場合、買い上げ商品の合計額をコード化して、チケットに印刷する必要がる。精算機では、コード化された合計額を読み込むスキャナーが必要であり、またデコード処理が必要であり、更にデコードした合計額を別の形式にデータ変換し、表示用のデータを生成する必要がある。従来の技術では、買い上げ商品の合計額を各機能、各装置に応じてデータ生成あるいはデータ変換する処理や、必要な装置などを装備する必要があった。また、コード化された代金額が記録されたチケットは、汚れや折れ曲がりなどで正常に読み込まれないという問題もあった。また、客の操作によって代金を現金で支払う精算機を後からPOSシステムに取り付けることが困難であった。
【課題を解決するための手段】
【0006】
本発明の精算システムは、客の購入する商品を登録し、売上金額を表示するPOSシステムと、貨幣の入金口を備え代金を収受する精算機とを備える精算システムであって、前記POSシステムと前記精算機に接続された中継器を備え、前記POSシステムは、前記商品の登録を行い、該登録された前記商品の前記売上金額を表示する第1操作パネルと、前記中継器と通信することで前記売上金額を前記中継器に出力する第1通信手段と、を有し、前記中継器は、前記POSシステムと通信し、前記POSシステムから出力される前記売上金額の入力と、前記精算機と通信し、前記精算機から出力される入金額の入力と前記精算機に処理を実行させる指示の出力と、をする第2通信手段と、入力した前記売上金額と前記入金額の表示と、所定の精算処理を前記精算機に実行させる前記指示をするための所定の入力と、をする第2操作パネルと、を有し、前記精算機は、前記中継器と通信し、前記中継器から出力される前記指示の入力と、前記中継器に前記入金口から入金される前記入金額の出力と、をする第3通信手段と、前記所定の精算処理の前記指示の入力に基づいて前記所定の精算処理の実行を制御する精算機制御手段と、を有することを特徴とする。
別の態様の精算システムは、客の購入する商品を登録し、売上金額を表示するPOS端末と、貨幣の入金口を備え代金を収受する精算機とを備える精算システムであって、前記POS端末と前記精算機に接続された中継器を備え、前記POS端末は、入力と表示を行う登録操作パネルを備え、前記商品の登録を行い、該登録された前記商品の前記売上金額を表示し、前記中継器は、入力と表示を行う店員側操作パネルを備え、前記POS端末から前記売上金額を取得して表示し、取得した前記売上金額を前記精算機に出力し、前記精算機によって前記売上金額を精算させる場合には、前記店員側操作パネルから入力された所定の入力に応じて前記精算機に精算開始の指示を出力し、前記精算機は、入力と表示を行う客側操作パネルを備え、前記中継器から出力された前記売上金額を取得して表示し、前記中継器から出力された前記精算開始の指示を取得して代金の収受を開始し、前記入金口から入金された前記貨幣の入金額を前記中継器に出力することを特徴とする。
別の態様の精算システムは、客の購入する商品を登録し、売上金額を演算し、該演算の結果の前記売上金額を表示し、前記売上金額を含み外部装置に表示させる表示データを生成し、出力するPOS端末と、貨幣の入金口を備え代金を収受する精算機とを備える精算システムにおいて、前記POS端末と前記精算機に接続された中継器を備え、前記POS端末は、店員側に向けられ、入力と表示を行う登録操作パネルを備え、前記客の購入する商品の登録を行い、前記売上金額を表示し、前記中継器は、前記POS端末から出力された前記表示データを入力し、解析し、前記表示データの中から前記売上金額を含む所定の情報を抽出する表示データ解析手段と、前記店員側に向けられ、入力と表示を行う店員側操作パネルとを有し、前記中継器は、抽出した前記所定の情報を前記精算機に出力し、前記店員側操作パネルによって前記精算機で代金を収受するかしないかの入力を行い、入力結果を前記精算機に出力し、前記精算機は、前記客側に向けられ、入力と表示を行う客側操作パネルを備え、前記中継器から出力された前記所定の情報を入力し、前記所定の情報を表示することを特徴とする。
【0007】
本発明の精算システムの中継器は、客の購入する商品を登録し、売上金額を表示するPOSシステムと、貨幣の入金口を備え代金を収受する精算機と、を備える精算システムの前記POSシステムと前記精算機に接続される精算システムの中継器であって、入力と表示を行う第2操作パネルを備え、入力と表示を行う第1操作パネルが備わる前記POSシステムによって登録され、出力された前記商品の前記売上金額を取得し、前記精算機から出力された前記入金口に入金された入金額を取得し、取得した前記売上金額と取得した前記入金額とを前記第2操作パネルに表示し、前記第2操作パネルから入力された所定の入力に応じて前記精算機に所定の精算処理を実行させる指示を出力することを特徴とする。
別の態様の精算システムの中継器は、客の購入する商品を登録し、売上金額を表示するPOS端末と、貨幣の入金口を備え代金を収受する精算機と、前記POS端末と前記精算機に接続される中継器と、を備え、前記POS端末は、入力と表示を行う登録操作パネルを備え、前記商品の登録を行い、該登録された前記商品の前記売上金額を表示し、前記精算機は、入力と表示を行う客側操作パネルを備え、前記売上金額を表示する精算システムの中継器であって、前記中継器は、入力と表示を行う店員側操作パネルを備え、前記POS端末から前記売上金額を取得して表示し、取得した前記売上金額を前記精算機に出力し、前記精算機によって前記売上金額を精算させる場合は前記店員側操作パネルへの所定の入力に応じて前記精算機に精算開始の指示が出力され、前記中継器は、前記中継器から出力された前記精算開始の指示を取得して代金の収受を行い、入金された前記貨幣の入金額を出力する前記精算機から、前記入金額を取得することを特徴とする。
別の態様の精算システムの中継器は、客の購入する商品を登録し、売上金額を演算し、該演算の結果の前記売上金額を表示し、前記売上金額を含み外部装置に表示させる表示データを生成し、出力するPOS端末と、貨幣の入金口を備え代金を収受する精算機と、前記POS端末と前記精算機に接続される中継器と、を備え、前記POS端末は、店員側に向けられ、入力と表示を行う登録操作パネルを備え、前記客の購入する商品の登録を行い、前記売上金額を表示し、前記精算機は、前記客側に向けられ、入力と表示を行う客側操作パネルを備え、前記売上金額を表示する精算システムの中継器において、前記中継器は、前記POS端末から出力された前記表示データを入力し、解析し、前記表示データの中から前記精算機に表示させる前記売上金額を含む所定の情報を抽出する表示データ解析手段と、前記店員側に向けられ、入力と表示を行う店員側操作パネルとを有し、前記中継器は、抽出した前記所定の情報を前記精算機に出力し、前記店員側操作パネルによって前記精算機で代金を収受するかしないかの入力を行い、入力結果を前記精算機に出力ことを特徴とする精算システムの中継器。
【0008】
別の態様の精算システムの精算機は、客の購入する商品を登録し、売上金額を表示するPOS端末と、貨幣の入金口を備え代金を収受する精算機と、前記POS端末と前記精算機に接続された中継器と、を備え、前記POS端末は、入力と表示を行う登録操作パネルを備え、前記商品の登録を行い、該登録された前記商品の前記売上金額を表示し、前記中継器は、入力と表示を行う店員側操作パネルを備え、前記POS端末から前記売上金額を取得して表示し、取得した前記売上金額を前記精算機に出力し、前記精算機によって前記売上金額を精算させる場合は前記店員側操作パネルへの所定の入力に応じて前記精算機に精算開始の指示が出力される精算システムの精算機であって、前記精算機は、入力と表示を行う客側操作パネルを備え、前記中継器から出力された前記売上金額を取得して表示し、前記中継器から出力された前記精算開始の指示を取得して代金の収受を開始し、前記入金口から入金された前記貨幣の入金額を前記中継器に出力することを特徴とする。
別の態様の精算システムの精算機は、客の購入する商品を登録し、売上金額を演算し、該演算の結果の前記売上金額を表示し、前記売上金額を含み外部装置に表示させる表示データを生成し、出力するPOS端末と、貨幣の入金口を備え代金を収受する精算機と、前記POS端末と前記精算機に接続された中継器と、を備え、前記POS端末は、店員側に向けられ、入力と表示を行う登録操作パネルを備え、前記客の購入する商品の登録を行い、前記売上金額を表示し、前記中継器は、前記POS端末から出力された前記表示データを入力し、解析し、前記表示データの中から前記売上金額を含む所定の情報を抽出する表示データ解析手段と、前記店員側に向けられ、入力と表示を行う店員側操作パネルとを有する精算システムの精算機であって、前記精算機は、前記客側に向けられ、入力と表示を行う客側操作パネルを備え、前記精算機は、前記所定の情報を前記中継器から入力すると共に、前記所定の情報を表示し、前記店員側操作パネルによって選択された前記精算機で代金を収受するかしないかの結果を前記中継器から入力し、該結果に応じて動作することを特徴とする。
【発明の効果】
【0009】
本発明によれば、用途に応じてデータを生成しなくとも、データを兼用して利用することで、機能や装置を動作させることができ、効率的な精算機、精算システムを提供することができる。また客の操作によって代金を現金で支払う精算機を後からPOSシステムに取り付けることが容易となる。
【図面の簡単な説明】
【0010】
図1は、精算システムの構成を説明する図である。
図2は、精算機のブロック図である。
図3は、中継器のブロック図である。
図4は、POS端末のブロック図である。
図5は、レシートプリンタのブロック図である。
図6は、POSサーバのブロック図である。
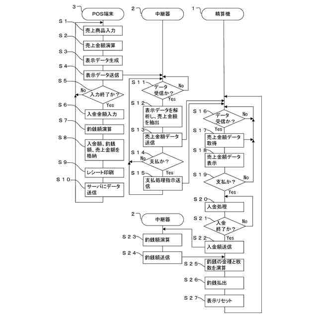
図7は、精算システムの動作を説明するフローチャートである。
図8は、精算機の表示の例を説明する図である。
図9は、中継器の表示の例を説明する図である。
図10は、精算システムの概要を説明する図である。
図11は、精算システムの第2の例の構成を説明する図である。
図12は、中継器の表示の第2の例を説明する図である。
図13は、POS端末の第2の例のブロック図である。
図14は、POS端末の表示の例を説明する図である。
図15は、精算システムの第2の動作の例を説明するフローチャートである。
【発明を実施するための形態】
(【0011】以降は省略されています)
この特許をJ-PlatPat(特許庁公式サイト)で参照する
関連特許
旭精工株式会社
コインホッパおよびコイン処理装置
17日前
株式会社イシダ
商品処理装置
5日前
株式会社バンダイ
物品供給装置
2か月前
株式会社バンダイ
物品供給装置
2か月前
株式会社バンダイ
物品供給装置
2か月前
株式会社バンダイ
物品供給装置
2か月前
富士電機株式会社
通貨識別装置
2か月前
沖電気工業株式会社
媒体処理装置
1か月前
沖電気工業株式会社
媒体処理装置
1か月前
沖電気工業株式会社
紙幣処理装置
1か月前
沖電気工業株式会社
媒体処理装置
1か月前
富士電機株式会社
自動販売機
1か月前
株式会社ライト
情報処理装置
1か月前
株式会社ライト
情報処理装置
1か月前
株式会社ライト
情報処理装置
2か月前
富士電機株式会社
金銭処理装置
2か月前
株式会社デンソー
車載器
3日前
グローリー株式会社
硬貨処理装置
2か月前
グローリー株式会社
物品投出装置
27日前
日本金銭機械株式会社
硬貨処理装置
7日前
日本金銭機械株式会社
硬貨処理装置
7日前
株式会社トイスピリッツ
景品提供システム
1か月前
ユニティガードシステム株式会社
入館監視システム
1か月前
沖電気工業株式会社
棒金収納装置
1か月前
沖電気工業株式会社
媒体処理装置
1か月前
旭精工株式会社
紙葉類処理装置および紙葉類処理方法
17日前
沖電気工業株式会社
現金処理装置
1か月前
沖電気工業株式会社
棒金収納装置
4日前
沖電気工業株式会社
現金処理装置及び印字装置
17日前
独立行政法人 国立印刷局
画像観察装置及び画像観察方法
1か月前
株式会社東芝
ドア構造
1か月前
中井銘鈑株式会社
商品見本取付け構造
1か月前
沖電気工業株式会社
硬貨処理装置及び貨幣取扱装置
1か月前
沖電気工業株式会社
媒体識別装置及び媒体処理装置
1か月前
株式会社寺岡精工
施設管理システム
1か月前
富士電機株式会社
自動販売機
2か月前
続きを見る
他の特許を見る