TOP
|
特許
|
意匠
|
商標
特許ウォッチ
Twitter
他の特許を見る
10個以上の画像は省略されています。
公開番号
2025137776
公報種別
公開特許公報(A)
公開日
2025-09-19
出願番号
2025124520,2024203054
出願日
2025-07-25,2021-08-20
発明の名称
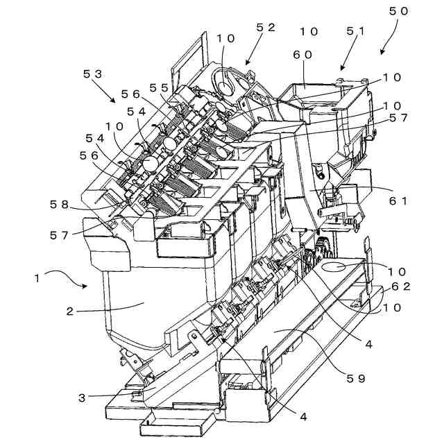
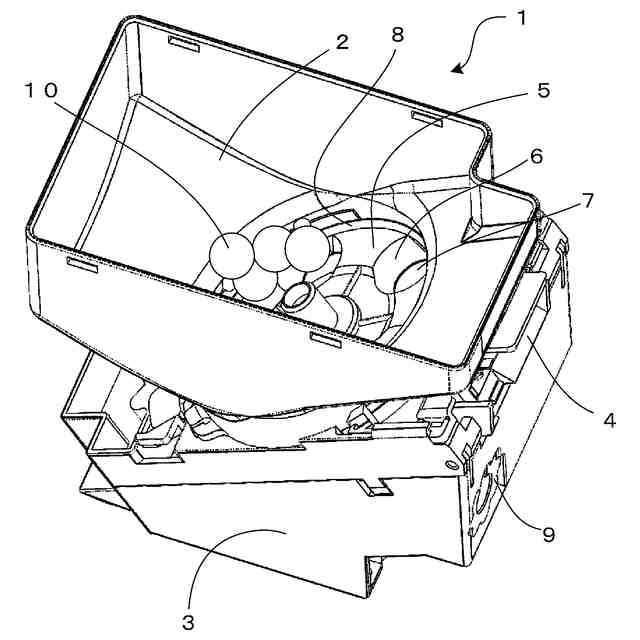
コインホッパおよびコイン処理装置
出願人
旭精工株式会社
代理人
主分類
G07D
1/00 20060101AFI20250911BHJP(チェック装置)
要約
【課題】コインホッパに搭載される回転体のコインとの当接部分の摩耗を低減し、回転体の損傷を防ぎ、コインを好適に搬送できるコインホッパ、コインホッパの回転体、及びコイン処理装置を提供する。
【解決手段】回転体70を、第1樹脂回転体、第2樹脂回転体、金属回転体の三体構造とする。金属回転体の一部を曲げ、コインを押動する2つの押動片77、78を形成し、その押動片77、78をそれぞれ第1樹脂回転体に設けられた貫通孔79、80に挿通させると共に嵌合させて固定する。間に金属回転体が挟まれた状態で第1樹脂回転体と第2樹脂回転体を固定し、一体化する。一体化した回転体70を回転させ、金属製の押動片77、78をベース上のコインの周面に順番に当接させ、コインを外周方向に押動する。コインとの当接部分を金属製とすることで、回転体の磨耗、損傷を防止し、コインを好適に搬送できる。
【選択図】図14
特許請求の範囲
【請求項1】
コインを格納する容器と、
前記コインを支持するベースと、
前記コインを一枚ずつ保持する複数の分離孔を有し、回転軸に固定され、前記ベースに対向して配置される回転体と、を備え、
前記回転体を回転させることで、前記分離孔に入った前記コインを押動し、前記回転体の外周方向に移動させ、排出するコインホッパにおいて、
前記回転体は、樹脂製の第1樹脂回転体と、樹脂製の第2樹脂回転体と、前記分離孔に対応して中央から外周に向かい放射状に延在するアームを有する金属回転体と、を有し、
前記アームは、前記アームの縁を曲げて形成された押動片を有し、
前記第1樹脂回転体は、前記押動片に対応して配置され、前記押動片を挿通する押動片孔を有し、
前記金属回転体は、前記第1樹脂回転体と前記第2樹脂回転体の間に配置され、前記押動片を前記押動片孔に嵌合させることにより前記第1樹脂回転体に固定され、
前記第1樹脂回転体から露出した前記押動片によって前記コインを押動することを特徴とするコインホッパ。
続きを表示(約 350 文字)
【請求項2】
前記押動片は、前記コインの当接する面が平坦であることを特徴とする請求項1に記載のコインホッパ。
【請求項3】
前記ベースから突出して配置され、前記押動片に押され前記ベース上を移動する前記コインが当接し前記コインの移動方向を変える制御ピンを有し、
前記押動片は、前記制御ピンの側方を通ることを特徴とする請求項1または請求項2に記載のコインホッパ。
【請求項4】
請求項1に記載のコインホッパと、
前記コインホッパから排出される前記コインを受けて集めるコイン受部と、を有し、
前記コインホッパは複数台配置され、それぞれの前記コインホッパから排出される前記コインを前記コイン受部が受けとることを特徴とするコイン処理装置。
発明の詳細な説明
【技術分野】
【0001】
本発明は、コインを一枚ずつ送り出すコインホッパ、コインホッパに用いる回転体、およびコインホッパを備えるコイン処理装置に関する。
続きを表示(約 2,000 文字)
【背景技術】
【0002】
複数枚のコインを格納する容器を備え、容器に格納されているコインを、1枚ずつ排出するコインホッパが知られている。
【0003】
例えば、特開2008-204156号公報に記載のコインホッパは、多数のコインを保留する保留ボウルと、保留ボウルのコインを1枚ずつ排出する払出手段を備える。保留ボウルの底部には、開口が設けられている。払出手段の上面には、その開口に対向して回転体が配置されている。回転体には、コインが入り込む複数の通孔が設けられている。回転体の通孔に入ったコインは、回転体の裏面側に配置されている平坦なベース上に保持される。また、通孔の側面には、コインを押動する押動突起が設けられている。回転体の回転に伴い、コインは、押動突起に押され、ベース上を移動する。ベース上の所定の位置に移動したコインは、払出手段のピンによって移動方向を変えられ、出口通路に排出される。また、回転体が回転することにより保留ボウル内のコインは、攪拌される。
【0004】
押動突起は、通孔に入ったコインに当接し、回転体の回転に伴いコインを移動方向に押す。押動突起は、コインとの接触によって、摩耗したり傷が付いたりする。そこで、補強材で補強された回転体が考えられている。回転体は、一体成形によって樹脂の中に金属板が挿入されている。回転体は、金属板によって補強されたことで、耐久性が向上する。このような耐久性を考慮したコインホッパが考えられていた。
【0005】
また、国家によって発行する流通貨幣は、複数の金種のコインを含む。コインは金種毎に直径、厚み、材質、デザインが異なるので、誰にでも容易に金種が識別できる。コイン処理装置は、コインの特徴を検出し、金種を識別する。また、コイン処理装置は、識別したコインを、金種毎に容器に格納することも可能である。コイン処理装置は、コインの金種を識別し、金種毎にコインを格納し、必要に応じて格納されているコインの払出を行う。コイン処理装置は、コインを金種毎にコインホッパに格納し、コインホッパを制御することで、所望の金額のコインを払出すことができる。
【0006】
例えば、コイン処理装置の例として、特開2017-151818号公報の硬貨入出金機が知られている。また、コイン処理装置の例として、自動釣銭機などがある。自動釣銭機は、投入されたコインを金種毎に格納する。そして、自動釣銭機は、釣銭の額に基づき排出するコインの金種および枚数を演算する。そして、自動釣銭機は、演算された金種および枚数に基づいて、各金種に対応するコインホッパを制御してコインを排出する。
【0007】
金属製の回転体に比べ、樹脂製の回転体は、軽量化できるが耐久性が劣る。そこで、回転体の一部を金属製にすることが考えられた。その一つの方法として、一体成形によって樹脂の中に金属板が挿入された上述の回転体がある。また別の方法として、特開2003-20127号公報に記載された回転ディスクが知られている。この回転ディスクは、金属製の押動突起を備えた押出ディスクが、樹脂ディスクにネジによって固定されている。
【先行技術文献】
【特許文献】
【0008】
特開2008-204156号公報
特開2017-151818号公報
特開2003-20127号公報
【発明の概要】
【発明が解決しようとする課題】
【0009】
従来、金属板と樹脂を一体成形した回転体が考えられていた。従来の回転体は、金属板の周囲を樹脂で覆い、金属板によって樹脂層の強度を向上させたものであった。また、コインを押動する押動突起は、樹脂層の中の金属板によって補強されていた。回転体に金属板が挿入されていたとしても、露出している樹脂の部分は、コインとの接触によって、損傷する問題があった。回転体の損傷の位置によっては、回転体が正常に機能しなくなる。また、コインの他に異物が容器に入った場合に、回転体は、異物と接触し、摩耗したり、傷ついたりする場合がある。最悪の場合、回転体は、使えなくなり、交換する必要がある。一体成形された回転体は、一部分だけに問題がある場合であっても、回転体の全体を交換する必要がある。このような回転体は、使用可能な部分があっても交換しなければならず、使用可能な部分が無駄になる問題があった。
【0010】
樹脂と金属により一体成形された回転体は、金属と樹脂との接続部分に対して繰り返し衝撃を与えることで、剥離する問題がある。金属部品の表面処理や、形状の複雑化などの追加加工により、接続部分の強度は向上する。しかし一方では、金属と樹脂の接続部分の強度を向上させた回転体は、製造行程の増大、部品の複雑化、部品製造にかかる時間の増大などの問題があった。
(【0011】以降は省略されています)
特許ウォッチbot のツイートを見る
この特許をJ-PlatPat(特許庁公式サイト)で参照する
関連特許
旭精工株式会社
紙葉類処理装置および紙葉類処理方法
14日前
旭精工株式会社
コインホッパおよびコイン処理装置
14日前
旭精工株式会社
精算システム、精算システムの中継器
3か月前
株式会社イシダ
商品処理装置
2日前
株式会社バンダイ
物品供給装置
2か月前
株式会社バンダイ
物品供給装置
2か月前
株式会社バンダイ
物品供給装置
2か月前
株式会社バンダイ
物品供給装置
2か月前
富士電機株式会社
通貨識別装置
2か月前
沖電気工業株式会社
紙幣処理装置
1か月前
沖電気工業株式会社
媒体処理装置
1か月前
沖電気工業株式会社
媒体処理装置
1か月前
沖電気工業株式会社
媒体処理装置
1か月前
株式会社ライト
情報処理装置
2か月前
株式会社ライト
情報処理装置
1か月前
株式会社ライト
情報処理装置
1か月前
富士電機株式会社
自動販売機
1か月前
富士電機株式会社
金銭処理装置
2か月前
株式会社デンソー
車載器
今日
グローリー株式会社
硬貨処理装置
2か月前
グローリー株式会社
物品投出装置
24日前
株式会社トイスピリッツ
景品提供システム
1か月前
日本金銭機械株式会社
硬貨処理装置
4日前
日本金銭機械株式会社
硬貨処理装置
4日前
ユニティガードシステム株式会社
入館監視システム
1か月前
沖電気工業株式会社
現金処理装置
1か月前
沖電気工業株式会社
現金処理装置及び印字装置
14日前
沖電気工業株式会社
媒体処理装置
28日前
旭精工株式会社
紙葉類処理装置および紙葉類処理方法
14日前
沖電気工業株式会社
棒金収納装置
1か月前
沖電気工業株式会社
棒金収納装置
1日前
独立行政法人 国立印刷局
画像観察装置及び画像観察方法
1か月前
中井銘鈑株式会社
商品見本取付け構造
1か月前
沖電気工業株式会社
媒体識別装置及び媒体処理装置
1か月前
沖電気工業株式会社
硬貨処理装置及び貨幣取扱装置
1か月前
株式会社東芝
ドア構造
1か月前
続きを見る
他の特許を見る