TOP
|
特許
|
意匠
|
商標
特許ウォッチ
Twitter
他の特許を見る
10個以上の画像は省略されています。
公開番号
2025103165
公報種別
公開特許公報(A)
公開日
2025-07-09
出願番号
2023220331
出願日
2023-12-27
発明の名称
注出部材
出願人
花王株式会社
代理人
弁理士法人翔和国際特許事務所
主分類
B65D
47/06 20060101AFI20250702BHJP(運搬;包装;貯蔵;薄板状または線条材料の取扱い)
要約
【課題】注出操作及び注入操作の操作性を両立できる、注出部材を提供すること。
【解決手段】本発明の注出部材2が具備するノズル部30は、背側部30bと、該背側部30bを挟んで対向する一対の側面部33S,33Sとを有している。ノズル部30は、高さ方向Zにおいて底壁部28側に位置する下方部32と、該下方部32の上方に位置する上方部31とを有し、該上方部31は、上方に向かって一対の側面部間の距離が漸減している。ノズル部30には、周方向の一部が高さ方向に沿って切り欠かれた切り欠き部34が形成されており、該切り欠き部34は、高さ方向Zにおける下方部32の上端又は該上端よりも下方の位置で該切り欠き部34の幅が最大となっている。
【選択図】図8
特許請求の範囲
【請求項1】
容器本体の口首部に装着される注出部材であって、
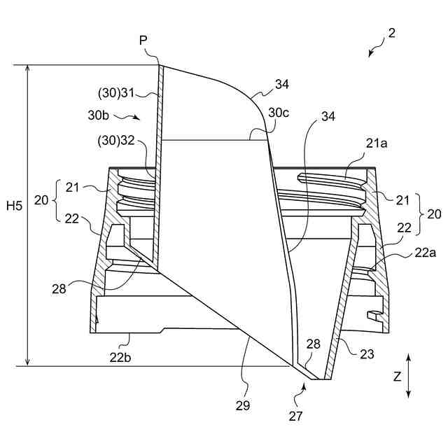
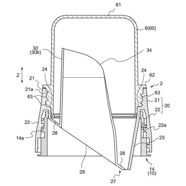
前記口首部に対する取り付け部を具備する外筒部と、該外筒部の径方向内側に形成されたノズル部と、該外筒部及び該ノズル部間に位置する内筒部と、該内筒部及び該ノズル部の下端縁どうしを連結する底壁部を有しており、
前記ノズル部は、背側部と、該背側部を挟んで対向する一対の側面部とを有しており、
前記ノズル部は、該ノズル部の高さ方向において前記底壁部側に位置する下方部と、該下方部の上方に位置する上方部とを有し、該上方部は、上方に向かって前記一対の側面部間の距離が漸減しており、
前記ノズル部の周方向の一部が高さ方向に沿って切り欠かれた切り欠き部が形成されており、該切り欠き部は、前記高さ方向における前記下方部の上端又は該上端よりも下方の位置で該切り欠き部の幅が最大となっている、注出部材。
続きを表示(約 390 文字)
【請求項2】
前記切り欠き部は、該切り欠き部の幅が最大となる前記高さ方向の位置から上方に向かって漸次幅が縮小している、請求項1に記載の注出部材。
【請求項3】
前記切り欠き部は、該切り欠き部の幅が最大となる前記高さ方向の位置から下方に向かって漸次幅が縮小している、請求項1又は2に記載の注出部材。
【請求項4】
前記上方部の高さが、前記ノズル部の高さの30%以上50%以下である、請求項1~3の何れか1項に記載の注出部材。
【請求項5】
前記ノズル部の下端開口の面積が、前記外筒部の下端開口の面積の50%以上80%以下である、請求項1~4の何れか1項に記載の注出部材。
【請求項6】
前記内筒部の外周面を、前記口首部の内周面と当接させて、前記口首部に装着される、請求項1~5の何れか1項に記載の注出部材。
発明の詳細な説明
【技術分野】
【0001】
本発明は、容器本体の口首部に装着される注出部材に関する。
続きを表示(約 2,900 文字)
【背景技術】
【0002】
液体洗剤等の液体を収容する容器は、一般的に、該液体を注出するノズル部を備えた注出部材を具備している。この注出部材は、液体を収容する容器本体の口首部に取り付けられて用いられる。
前記注出部材として、特許文献1には、円周方向に開口部が形成されたノズル部と、該ノズル部の下端縁と連結された底部となる溝に脱気孔とを有するものが開示されている。
特許文献2には、底面部に注出用開口孔を有するノズル基部と、注出用開口孔の少なくとも一部を囲むように底面部に立設されたノズル部とを備え、ノズル部の内側に流出規制部が設けられたキャップが開示されている。
また本出願人は先に、外筒部との間に第1凹部を有する注出筒と、該注出筒の内側に形成され該注出筒との間に第2凹部を有する突出ノズル部とを有し、該突出ノズル部に高さ方向に貫通する内側注出孔が形成されている、注出部材を提案している(特許文献3)。
【先行技術文献】
【特許文献】
【0003】
特表2017-515765号公報
特開2018-131240号公報
特開2018-188175号公報
【発明の概要】
【発明が解決しようとする課題】
【0004】
前記の容器は、注出部材のノズル部を介して、容器本体内の液体がキャップ等の外部に注出される。この際、多量の液体が一気に注出されると、液体を所望量に計量し難くなる。
また環境負荷の低減の観点から、注出部材を備える容器は、容器本体の液体を詰め替えることで、繰り返し用いられることがある。容器本体に液体を詰め替える際、容器の使用者は、ノズル部が有する切り欠き部等の注出開口を介して液体を容器本体に注入する。斯かる液体の注入操作を容易にするため、ノズル部の注出開口を大きくすると、注出操作時に多量の液体が注出し易くなる。一方、注出量を制御し易くするため、ノズル部の注出開口を小さくすると、容器本体に液体を注入し難くなる。特許文献1~3の注出部材は、注出操作及び注入操作の操作性を両立させる点について改善の余地があった。
【0005】
本発明は、注出操作及び注入操作の操作性を両立できる、注出部材を提供することに関する。
【課題を解決するための手段】
【0006】
本発明は、容器本体の口首部に装着される注出部材に関する。
一実施形態として、前記注出部材は、前記口首部に対する取り付け部を具備する外筒部と、該外筒部の径方向内側に形成されたノズル部と、該外筒部及び該ノズル部間に位置する内筒部と、該内筒部及び該ノズル部の下端縁どうしを連結する底壁部を有していることが好ましい。
一実施形態として、前記ノズル部は、背側部と、該背側部を挟んで対向する一対の側面部とを有していることが好ましい。
一実施形態として、前記ノズル部は、該ノズル部の高さ方向において前記底壁部側に位置する下方部と、該下方部の上方に位置する上方部とを有し、該上方部は、上方に向かって前記一対の側面部間の距離が漸減していることが好ましい。
一実施形態として、前記ノズル部は、前記ノズル部の周方向の一部が高さ方向に沿って切り欠かれた切り欠き部が形成されており、該切り欠き部は、前記高さ方向における前記下方部の上端又は該上端よりも下方の位置で該切り欠き部の幅が最大となっていることが好ましい。
【発明の効果】
【0007】
本発明の注出部材によれば、注出操作及び注入操作の操作性を両立できる。
【図面の簡単な説明】
【0008】
図1は、本発明の注出部材の一実施形態を具備する容器の斜視図である。
図2は、図1の口首部とこれに取り付けられた注出部材の高さ方向に沿う断面図である。
図3は、図2に示す注出部材の平面図である。
図4は、図2に示す注出部材の側面図である。
図5は、図2に示す注出部材を上から視た斜視図である。
図6は、図2に示す注出部材を下から視た斜視図である。
図7は、図3の注出部材の縦中心線CLaに沿った断面図である。
図8は、図3に示す注出部材を示す図であって、外筒部及び内筒部を一部破断して示す斜視図である。
図9は、図3に示すノズル部の横中心線CLbに沿った断面図である。
図10(a)及び(b)は、図2に示す注出部材の効果を説明するための斜視図である。
図11は、本発明に係るノズル部の別の実施形態を示す図9相当図である。
図12は、本発明の注出部材のさらに別の実施形態を示す図8相当図である。
【発明を実施するための形態】
【0009】
以下、本発明の注出部材を、その好ましい実施形態に基づき図面を参照しながら説明する。図1には、本発明の注出部材の一実施形態を備えた容器1が示されている。図1に示す容器1は、内部に液体が収容された容器本体10と、該容器本体10の口首部14に装着される注出部材2と、該注出部材2に着脱可能に装着される蓋キャップ6とを備えている。本実施形態の容器1は、ボトル容器であり、容器本体10が、底部を有する胴部13と、胴部13の内部と連通する貫通口(液体の流路)を有する口首部14とを具備している。本実施形態の胴部13は、口首部14の中心軸から離れた位置に、該胴部13を貫通する把持貫通孔12と、該把持貫通孔12の外側の周縁を形成する把持部11とを備えている。
【0010】
本実施形態の容器本体10は、把持部11を含む胴部13の内部に液体の収容空間を有している。この胴部13は底部を有し、該底部を水平面に接地させることで、容器本体10(容器1)を自立させた自立状態にすることができる。自立状態において容器1の高さ方向(中心軸方向)は鉛直方向と一致し、口首部14が鉛直方向の上方に位置し且つ同方向において胴部13の底部と対向配置される。本実施形態の容器1は、自立状態において口首部14の中心軸が、鉛直方向に対して角度を有しているが、容器1は自立状態において口首部14の中心軸が、鉛直方向と平行であってもよい。前者の場合、口首部14の中心軸は胴部13の中心軸に対し角度を有し、後者の場合、口首部14の中心軸は胴部13の中心軸と一致する。
以下、特に断らない限り、図1以降に示す実施形態の容器1の説明は、自立状態における容器1の説明とする。
また容器1の高さ方向(鉛直方向)は、後述するノズル部30の突出方向と略一致する。注出部材2の説明は、後述するノズル部30の突出方向を鉛直方向に一致させた状態の説明とする。このノズル部30の突出方向を、注出部材2の高さ方向Zとする。
(【0011】以降は省略されています)
この特許をJ-PlatPat(特許庁公式サイト)で参照する
関連特許
花王株式会社
袋体
24日前
花王株式会社
組立体
1か月前
花王株式会社
吐出容器
15日前
花王株式会社
固形食品
1か月前
花王株式会社
吐出容器
15日前
花王株式会社
清掃用具
23日前
花王株式会社
製函装置
1か月前
花王株式会社
放散装置
1か月前
花王株式会社
固形食品
29日前
花王株式会社
毛髪洗浄剤
16日前
花王株式会社
泡吐出容器
15日前
花王株式会社
容器組立体
2か月前
花王株式会社
吸収性物品
2か月前
花王株式会社
吸収性物品
2か月前
花王株式会社
化粧料容器
3か月前
花王株式会社
乳化化粧料
24日前
花王株式会社
乳化化粧料
24日前
花王株式会社
パウチ容器
2か月前
花王株式会社
吸収性物品
2か月前
花王株式会社
固形入浴剤
2か月前
花王株式会社
皮膚外用剤
3か月前
花王株式会社
皮膚化粧料
3か月前
花王株式会社
樹脂組成物
3か月前
花王株式会社
乳化化粧料
3日前
花王株式会社
吸収性物品
1か月前
花王株式会社
油性化粧料
1か月前
花王株式会社
油性化粧料
11日前
花王株式会社
吸収性パッド
1か月前
花王株式会社
口腔用組成物
1か月前
花王株式会社
口腔用組成物
1か月前
花王株式会社
抗菌剤組成物
25日前
花王株式会社
剥離剤組成物
1か月前
花王株式会社
吸収性パッド
1か月前
花王株式会社
鋳型用組成物
2か月前
花王株式会社
防錆剤組成物
1か月前
花王株式会社
防錆剤組成物
1か月前
続きを見る
他の特許を見る