TOP
|
特許
|
意匠
|
商標
特許ウォッチ
Twitter
他の特許を見る
10個以上の画像は省略されています。
公開番号
2025150054
公報種別
公開特許公報(A)
公開日
2025-10-09
出願番号
2024050726
出願日
2024-03-27
発明の名称
清掃用具
出願人
花王株式会社
代理人
個人
,
個人
主分類
A47L
13/20 20060101AFI20251002BHJP(家具;家庭用品または家庭用設備;コーヒーひき;香辛料ひき;真空掃除機一般)
要約
【課題】形態が可変である清掃用具を提供する。
【解決手段】使用者により把持される柄部、および清掃物品が装着される第1の物品装着部を有する第1用具と、前記第1用具に着脱可能に装着される第2用具と、を備え、前記第2用具は、清掃物品が装着される、1または2以上の第2の物品装着部を有する、清掃用具。
【選択図】図1
特許請求の範囲
【請求項1】
使用者により把持される柄部、および清掃物品が装着される第1の物品装着部を有する第1用具と、
前記第1用具に着脱可能に装着される第2用具と、
を備え、
前記第2用具は、清掃物品が装着される、1または2以上の第2の物品装着部を有する、清掃用具。
続きを表示(約 860 文字)
【請求項2】
前記清掃物品が有する被挿入部に、前記第1の物品装着部および前記1または2以上の第2の物品装着部が挿入されることにより、前記清掃物品が前記第1用具または前記第2用具に装着される、請求項1に記載の清掃用具。
【請求項3】
前記第2用具は、
前記第1用具と着脱可能に係合する係合部と、
前記係合部と前記1または2以上の第2の物品装着部の間に位置し、前記係合部から、前記第1物品装着部が前記清掃物品に挿入される挿入方向と交差する方向に延びる1または2以上の間隔形成部と、
を有する、請求項2に記載の清掃用具。
【請求項4】
前記1または2以上の第2の物品装着部は、前記間隔形成部から、前記柄部から見て前記第1の物品装着部が位置する側である前側に向かって延びている、請求項3に記載の清掃用具。
【請求項5】
前記清掃物品は、留め部を有し、
前記第1の物品装着部および前記1または2以上の第2の物品装着部は、前記留め部に掛けられることで前記清掃物品を係止する突起を有する、請求項4に記載の清掃用具。
【請求項6】
前記第1の物品装着部の突起は、前記1または2以上の第2の物品装着部の突起よりも前記先端側に位置する、請求項5に記載の清掃用具。
【請求項7】
前記係合部は、前記第1の物品装着部の前記突起が嵌まる切り欠きを含む、請求項6に記載の清掃用具。
【請求項8】
前記係合部は、前記第1の物品装着部の厚み方向または幅方向から前記第1の物品装着部を挟持する機構を含む、請求項6に記載の清掃用具。
【請求項9】
前記1または2以上の間隔形成部は、前記挿入方向に直交する方向に沿って延びている、請求項3~8のいずれか一項に記載の清掃用具。
【請求項10】
前記間隔形成部は、開口を有する、請求項9に記載の清掃用具。
(【請求項11】以降は省略されています)
発明の詳細な説明
【技術分野】
【0001】
本発明は、清掃用具に関する。
続きを表示(約 1,300 文字)
【背景技術】
【0002】
近年、清掃の用途で使用される多様な清掃用具が知られている。ある種の清掃用具は、使用者が把持する柄部と、清掃物品が装着される装着プレートを有する本体を有する。使用者は、当該清掃用具を用いて、床または壁などの被清掃面の清掃または仕上げなどを行い得る。
【0003】
例えば、特許文献1には、上記の装着プレートとして機能する複数の物品保持部を有する清掃用具が開示されている。複数の物品保持部に清掃物品が装着されることにより、物品保持部が1つである形態と比較して、清掃用具の動きが同じでも、被清掃面がより広範囲に清掃される。
【先行技術文献】
【特許文献】
【0004】
特開2016-36433号公報
【発明の概要】
【発明が解決しようとする課題】
【0005】
しかし、複数の物品保持部を有する清掃用具では、部屋の隅、および幅の狭い場所などの清掃を行い難くなる懸念がある。
【0006】
本発明は、形態が可変である清掃用具に関する。
【課題を解決するための手段】
【0007】
上記課題を解決するために、本発明のある観点は、使用者により把持される柄部、および清掃物品が装着される第1の物品装着部を有する第1用具と、前記第1用具に着脱可能に装着される第2用具と、を備え、前記第2用具は、清掃物品が装着される、1または2以上の第2の物品装着部を有する、清掃用具に関する。
【発明の効果】
【0008】
以上説明したように本発明によれば、形態が可変である清掃用具が提供される。
【図面の簡単な説明】
【0009】
本発明の第1の実施形態による清掃用具1の外観を示す説明図である。
本発明の第1の実施形態による清掃用具1に清掃物品40が装着された状態を示す説明図である。
内側シート42の構成例を示す説明図である。
本発明の第1の実施形態による主パーツ10の構成を示す説明図である。
柄部12の長さが最も長い状態を示す説明図である。
主パーツ10に清掃物品40が装着された状態を示す説明図である。
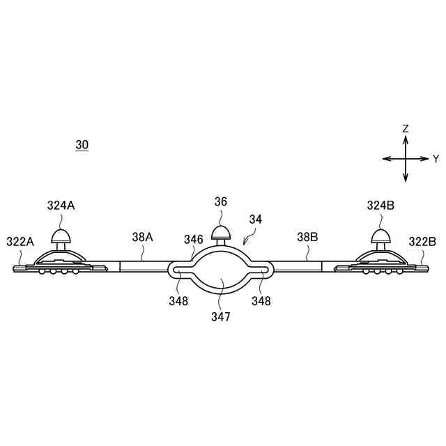
本発明の第1の実施形態による着脱パーツ30の斜視図である。
前側の視点から見た本発明の第1の実施形態による着脱パーツ30を示す正面図である。
主パーツ10の本体部20に着脱パーツ30が装着された形態を示す説明図である。
本発明の第2の実施形態による清掃用具2の外観を示す説明図である。
本発明の第2の実施形態による着脱パーツ30-2の平面図である。
前側の視点から見た本発明の第2の実施形態による着脱パーツ30-2を示す正面図である。
【発明を実施するための形態】
【0010】
以下に添付図面を参照しながら、本発明の好適な実施の形態について詳細に説明する。なお、本明細書及び図面において、実質的に同一の機能構成を有する構成要素については、同一の符号を付することにより重複説明を省略する。
(【0011】以降は省略されています)
この特許をJ-PlatPat(特許庁公式サイト)で参照する
関連特許
花王株式会社
袋体
7日前
花王株式会社
組立体
26日前
花王株式会社
固形食品
12日前
花王株式会社
製函装置
16日前
花王株式会社
清掃用具
6日前
花王株式会社
固形食品
28日前
花王株式会社
乳化化粧料
7日前
花王株式会社
吸収性物品
28日前
花王株式会社
乳化化粧料
7日前
花王株式会社
油性化粧料
16日前
花王株式会社
口腔用組成物
12日前
花王株式会社
口腔用組成物
12日前
花王株式会社
防錆剤組成物
1か月前
花王株式会社
抗菌剤組成物
8日前
花王株式会社
口腔用組成物
28日前
花王株式会社
口腔用組成物
28日前
花王株式会社
剥離剤組成物
1か月前
花王株式会社
吸収性パッド
1か月前
花王株式会社
水系顔料分散体
5日前
花王株式会社
口腔菌叢改善剤
28日前
花王株式会社
焼却灰の処理方法
26日前
花王株式会社
睫毛用油性化粧料
1か月前
花王株式会社
口腔内菌叢改善剤
12日前
花王株式会社
焼却灰の処理方法
26日前
花王株式会社
界面活性剤組成物
13日前
花王株式会社
ウイルス検出方法
1日前
花王株式会社
衣料用液体洗浄剤
5日前
花王株式会社
衣料用液体洗浄剤
5日前
花王株式会社
吸収性物品用不織布
14日前
花王株式会社
アスファルト改質材
12日前
花王株式会社
アスファルト改質材
28日前
花王株式会社
吸収性物品用不織布
26日前
花王株式会社
静電荷像現像用トナー
今日
花王株式会社
植物由来の抽出組成物
1か月前
花王株式会社
硬質表面用拭浄シート
1日前
花王株式会社
静電荷像現像用トナー
16日前
続きを見る
他の特許を見る