TOP
|
特許
|
意匠
|
商標
特許ウォッチ
Twitter
他の特許を見る
公開番号
2025125667
公報種別
公開特許公報(A)
公開日
2025-08-28
出願番号
2024021751
出願日
2024-02-16
発明の名称
吸収性物品
出願人
花王株式会社
代理人
弁理士法人南青山国際特許事務所
主分類
A61F
13/475 20060101AFI20250821BHJP(医学または獣医学;衛生学)
要約
【課題】立体ギャザーの起立性を向上することができる吸収性物品に関する。
【解決手段】吸収性物品は、表面シート、裏面シート及び吸収体を有する本体を備える。本体は、前方領域、排泄部対向領域を有する中間領域及び後方領域に区分される。本体は、下着当接面に左右一対の第1粘着部及び左右一対の第2粘着部と一対の立体ギャザーを備える。一対の第2粘着部は、粘着部が配置されない離間部を間に介して一対の第1粘着部の後方に位置する。本体は、前方領域及び/又は後方領域に離間部を有する。立体ギャザーは弾性部材を有し、起立領域と前方固定領域と後方固定領域を有する。起立領域の前端部は前方領域に位置し、起立領域の後端部は後方領域に位置する。前端部及び/又は後端部は、吸収性物品の横方向全幅に亘って粘着部が存在しない、離間部の少なくとも一部を含む粘着部不存在領域内に位置する、又は、粘着部不存在領域よりも縦方向内側に位置する。
【選択図】図2
特許請求の範囲
【請求項1】
着用者の前後方向に対応する縦方向に沿って延び、前方領域、排泄部対向領域を有する中間領域及び後方領域に区分され、着用者の左右方向に対応する横方向を備え、表面シートと、裏面シートと、前記表面シートと前記裏面シートとの間に配される吸収体とを有する本体を備える吸収性物品であって、
前記本体は、
前記本体の下着当接面に配置される、縦方向に延びる横方向両側一対の第1粘着部、及び、粘着部が配置されない離間部を間に介して前記一対の第1粘着部の後方に位置し、縦方向に延びる横方向両側一対の第2粘着部と、
前記本体の横方向の両側部に沿って縦方向に延びる一対の立体ギャザーと、
を備え、
前記本体は、前記前方領域及び/又は前記後方領域に、前記離間部を有し、
前記立体ギャザーは、縦方向に伸縮可能な弾性部材がシート部材に配された構成を有し、
前記立体ギャザーは、
少なくとも前記中間領域で着用者肌側に向かって起立可能な縦方向に延在する起立領域と、
前記起立領域よりも前方にあり前記表面シートに固定される前方固定領域と、
前記起立領域よりも後方にあり前記表面シートに固定される後方固定領域と、
有し、
前記起立領域の前端部は前記前方領域に位置し、前記起立領域の後端部は前記後方領域に位置し、
前記前端部及び前記後端部の少なくとも一方は、前記吸収性物品の横方向全幅に亘って粘着部が存在しない、前記離間部の少なくとも一部を含む粘着部不存在領域内に位置する、又は、該粘着部不存在領域よりも縦方向内側に位置する
吸収性物品。
続きを表示(約 910 文字)
【請求項2】
請求項1に記載の吸収性物品であって、
前記離間部及び前記一対の第2粘着部は、前記後方領域に位置し、
前記本体は、前記一対の立体ギャザーそれぞれの前記後方固定領域により挟まれた領域内に、前記表面シートと前記吸収体とが一体的に圧搾された第1横圧搾溝を有し、
前記第1横圧搾溝は、横方向に延び、前記第2粘着部と重なる
吸収性物品。
【請求項3】
請求項2に記載の吸収性物品であって、
前記本体は、前記一対の立体ギャザーそれぞれの前記後方固定領域により挟まれた領域内に、前記第1横圧搾溝よりも前方に位置し、前記表面シートと前記吸収体とが一体的に圧搾された第2横圧搾溝を有し、
前記第2横圧搾溝は、前記一対の第2粘着部を跨いで横方向に延びる
吸収性物品。
【請求項4】
請求項1又は2に記載の吸収性物品であって、
前記吸収体は、前記中間領域から前記後方領域に亘って、周囲よりも吸収体材料の坪量が高い高坪量領域を有し、
平面視で、前記離間部は前記高坪量領域よりも縦方向外側に位置する
吸収性物品。
【請求項5】
請求項4に記載の吸収性物品であって、
前記離間部は前記後方領域に位置し、
前記本体は、前記高坪量領域より後方で、かつ、前記離間部より前方に、前記表面シートと前記吸収体とが一体的に圧搾された、横方向に延びる第3横圧搾溝を有する
吸収性物品。
【請求項6】
請求項1又は2に記載の吸収性物品であって、
前記中間領域から横方向外側に延びる一対のウイングと、
前記後方領域から横方向外側に延びる一対のヒップガードと、
を更に備え、
前記吸収性物品の前記後方領域と縦方向で重なる後方部は、前方から後方に向かって横方向の長さが増加する第1領域と、前記第1領域よりも後方に位置し、横方向の長さが最大となる部位から後方に向かって減少する第2領域と、を有し、
前記離間部は前記第1領域と重なる
吸収性物品。
発明の詳細な説明
【技術分野】
【0001】
本発明は、生理用ナプキン等の吸収性物品に関する。
続きを表示(約 1,800 文字)
【背景技術】
【0002】
一般に、生理用ナプキン等の吸収性物品は、非肌側面に配された粘着部によって下着に固定されて着用される。このような吸収性物品には、液漏れ防止を目的に、肌側面の左右両側部に前後方向に沿って延在する一対の立体ギャザーを有するものがある(例えば特許文献1~3)。立体ギャザーは弾性部材を含み、着用時、立体ギャザーは、物品が体の形状に沿って前後に湾曲するのに伴って体側に起立し、物品と着用者の体との間に生じる隙間を埋めて、液漏れを防止する。
【先行技術文献】
【特許文献】
【0003】
特開2016-103711号公報
特開2020-156578号公報
特開2017-176449号公報
【発明の概要】
【発明が解決しようとする課題】
【0004】
立体ギャザーは、安定した起立形状をとることで防漏機能を効果的に発揮する。このため、立体ギャザーの起立性の向上が望まれている。
【0005】
本発明の課題は、立体ギャザーの起立性を向上することができる吸収性物品に関する。
【課題を解決するための手段】
【0006】
本発明の一形態に係る吸収性物品は、本体を備える。
上記本体は、着用者の前後方向に対応する縦方向に沿って延び、前方領域、排泄部対向領域を有する中間領域及び後方領域に区分される。
上記本体は、着用者の左右方向に対応する横方向を備える。
上記本体は、表面シートと、裏面シートと、上記表面シートと上記裏面シートとの間に配される吸収体とを有する。
上記本体は、横方向両側一対の第1粘着部及び横方向両側一対の第2粘着と、一対の立体ギャザーと、を備える。
上記一対の第1粘着部及び上記一対の第2粘着部は、上記本体の下着当接面に配置される。
上記一対の第1粘着部は縦方向に延びる。
上記一対の第2粘着部は、粘着部が配置されない離間部を間に介して上記一対の第1粘着部の後方に位置し、縦方向に延びる。
上記一対の立体ギャザーは、上記本体の横方向の両側部に沿って縦方向に延びる。
上記本体は、上記前方領域及び/又は上記後方領域に、上記離間部を有する。
上記立体ギャザーは、縦方向に伸縮可能な弾性部材がシート部材に固定された構成を有する。
上記立体ギャザーは、少なくとも上記中間領域で着用者肌側に向かって起立可能な縦方向に延在する起立領域と、上記起立領域よりも前方にあり上記表面シートに固定される前方固定領域と、上記起立領域よりも後方にあり上記表面シートに固定される後方固定領域と、を有する。
上記起立領域の前端部は上記前方領域に位置し、上記起立領域の後端部は上記後方領域に位置する。
上記前端部及び上記後端部の少なくとも一方は、上記吸収性物品の横方向全幅に亘って粘着部が存在しない、上記離間部の少なくとも一部を含む粘着部不存在領域内に位置する、又は、上記粘着部不存在領域よりも縦方向内側に位置する。
【発明の効果】
【0007】
本発明の吸収性物品によれば、立体ギャザーを安定して起立することができる。
【図面の簡単な説明】
【0008】
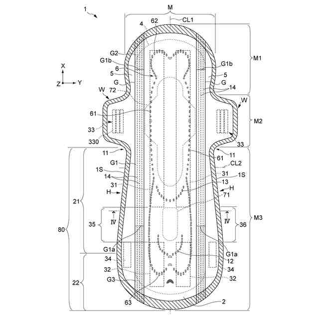
本発明の一実施形態に係る吸収性物品を肌側面からみた態様を示す平面図である。
上記吸収性物品を非肌側面からみた平面図である。
上記吸収性物品の一部を構成する吸収性コアの平面図である。
図2のVI-VI線で切断した上記吸収性物品の断面図である。
本発明に係わる吸収性物品を着用した着用者の歩行動作時の様子を模式的に示す模試図である。
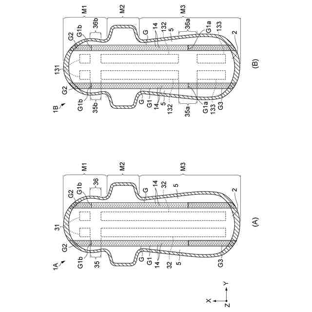
(A)及び(B)はそれぞれ他の実施形態に係わる吸収性物品を肌側面からみた態様を示す平面図である。
【発明を実施するための形態】
【0009】
以下、図面を参照しながら、本発明の実施形態を説明する。各図面には、適宜、相互に直交する座標軸であるX軸、Y軸、及びZ軸が示されている。以下の説明において、既出の構成については同様の符号を付し、説明を省略する場合がある。
【0010】
<吸収性物品の全体構成>
(【0011】以降は省略されています)
この特許をJ-PlatPat(特許庁公式サイト)で参照する
関連特許
花王株式会社
袋体
5日前
花王株式会社
組立体
24日前
花王株式会社
製函装置
14日前
花王株式会社
放散装置
1か月前
花王株式会社
固形食品
10日前
花王株式会社
清掃用具
4日前
花王株式会社
固形食品
26日前
花王株式会社
吸収性物品
1か月前
花王株式会社
容器組立体
1か月前
花王株式会社
パウチ容器
1か月前
花王株式会社
油性化粧料
14日前
花王株式会社
吸収性物品
26日前
花王株式会社
固形入浴剤
1か月前
花王株式会社
皮膚外用剤
3か月前
花王株式会社
乳化化粧料
5日前
花王株式会社
乳化化粧料
5日前
花王株式会社
吸収性物品
1か月前
花王株式会社
化粧料容器
2か月前
花王株式会社
吸収性物品
1か月前
花王株式会社
樹脂組成物
3か月前
花王株式会社
皮膚化粧料
2か月前
花王株式会社
鋳型用組成物
1か月前
花王株式会社
防錆剤組成物
1か月前
花王株式会社
吸収性パッド
1か月前
花王株式会社
シート材容器
2か月前
花王株式会社
口腔用組成物
26日前
花王株式会社
吸収性パッド
1か月前
花王株式会社
口腔用組成物
10日前
花王株式会社
口腔用組成物
26日前
花王株式会社
エッチング液
2か月前
花王株式会社
口腔用組成物
10日前
花王株式会社
防錆剤組成物
1か月前
花王株式会社
水解性シート
2か月前
花王株式会社
抗菌剤組成物
6日前
花王株式会社
消臭剤組成物
2か月前
花王株式会社
剥離剤組成物
1か月前
続きを見る
他の特許を見る