TOP
|
特許
|
意匠
|
商標
特許ウォッチ
Twitter
他の特許を見る
10個以上の画像は省略されています。
公開番号
2025125666
公報種別
公開特許公報(A)
公開日
2025-08-28
出願番号
2024021750
出願日
2024-02-16
発明の名称
吸収性物品
出願人
花王株式会社
代理人
弁理士法人南青山国際特許事務所
主分類
A61F
13/472 20060101AFI20250821BHJP(医学または獣医学;衛生学)
要約
【課題】着用感が良好な吸収性物品に関する。
【解決手段】吸収性物品は、本体と一対のウイングと一対のヒップガードを備える。本体は、縦方向に沿って延び、前方領域と排泄部対向領域を含む中間領域と後方領域とに区分される。本体は、表面シートと裏面シートと吸収体とを有する。吸収性物品は、本体に配置される互いに横方向に離間配置される一対の前方粘着部及び互いに横方向に離間配置される一対の後方粘着部と、ウイングに配置されるウイング粘着部と、ヒップガードに配置されるヒップガード粘着部とを備える。前方粘着部は本体の下着当接面に配置され、縦方向に連続して延びる。後方粘着部は、粘着部が配置されない離間部を間に介して前方粘着部の後方に位置する。吸収体は、離間部に相対的に剛性の高い第1高剛性領域と、その周囲に該第1高剛性領域より剛性の低い領域とを有する。
【選択図】図2
特許請求の範囲
【請求項1】
着用者の前後方向に対応する縦方向に沿って延び、前方領域と、排泄部対向領域を含む中間領域と、後方領域とに区分され、表面シートと、裏面シートと、前記表面シートと前記裏面シートとの間に配される吸収体とを有する本体と、前記中間領域から着用者左右方向に対応する横方向の外側に延びる一対のウイングと、前記後方領域から横方向外側に延びる一対のヒップガードと、を備える吸収性物品であって、
前記本体の下着当接面に配置される、縦方向に連続して延びる、互いに横方向に離間配置される一対の前方粘着部、及び、粘着部が配置されない離間部を間に介して前記一対の前方粘着部の後方に位置する互いに横方向に離間配置される一対の後方粘着部と、
前記ウイングの下着当接面に配置されるウイング粘着部と、
前記ヒップガードの下着当接面に配置されるヒップガード粘着部と、
を備え、
前記吸収体は、前記離間部に相対的に剛性の高い第1高剛性領域を有し、その周囲に該第1高剛性領域より剛性の低い領域を有する
吸収性物品。
続きを表示(約 840 文字)
【請求項2】
請求項1に記載の吸収性物品であって、
前記第1高剛性領域は、前記離間部において、前記前方粘着部及び前記後方粘着部と横方向において重ならない、又は、一部のみ重なる
吸収性物品。
【請求項3】
請求項1又は2に記載の吸収性物品であって、
前記吸収体は、前記後方領域に前記第1高剛性領域を有し、前記中間領域に周囲よりも前記構成繊維の坪量が高い第2高剛性領域を有し、前記第1高剛性領域と前記第2高剛性領域との間に、前記第1高剛性領域及び前記第2高剛性領域よりも剛性が低い低剛性領域を有する
吸収性物品。
【請求項4】
請求項3に記載の吸収性物品であって、
前記第1高剛性領域及び前記第2高剛性領域は、それぞれ、その前後領域よりも前記吸収体を構成する構成繊維の坪量が高い
吸収性物品。
【請求項5】
請求項3に記載の吸収性物品であって、
前記第1高剛性領域及び前記第2高剛性領域は、それぞれ、その前後領域よりも相対的に厚い
吸収性物品。
【請求項6】
請求項1又は2に記載の吸収性物品であって、
前記ウイングと前記ヒップガードとの間に、縦方向に沿う両側縁が横方向内側に括れた括れ部を有し、
前記吸収性物品の前記後方領域と縦方向で重なる後方部は、前方から後方に向かって横方向の長さが増加する第1領域と、前記第1領域よりも後方に位置し、横方向の長さが最大となる部位から後方に向かって減少する第2領域と、を有し、
前記離間部は前記第1領域と重なり、前記ヒップガード粘着部の前端部の縦方向における位置は、前記前方粘着部の後端部よりも後方である
吸収性物品。
【請求項7】
請求項1又は2に記載の吸収性物品であって、
前記ヒップガード粘着部の前端縁は、横方向に対して傾斜する
吸収性物品。
発明の詳細な説明
【技術分野】
【0001】
本発明は、生理用ナプキン等の吸収性物品に関する。
続きを表示(約 2,300 文字)
【背景技術】
【0002】
一般に、生理用ナプキンの裏面には、下着に生理用ナプキンを固定するためのずれ止め(粘着部ともいう。)が設けられている。
【0003】
特許文献1及び2には、本体、ウイング及びヒップガードを有し、本体の裏面側に、吸収性物品の長手方向に延びる粘着部が長手方向に沿って複数離間して配置された吸収性物品が記載されている。特許文献1には、後側剥離材により覆われる粘着部が、物品長手方向に沿うとともに幅方向に離間して複数設けられ、後側剥離材が吸収性物品の前側からスムーズに剥離できるように、幅方向中心側に設けられる粘着部の前端部が幅方向外側に設けられる粘着部の前側端部より前側に位置するように配置されることが記載されている。特許文献2には、長手方向に離間して隣り合う2つの粘着部の間に低目付部を設けることで、粘着部が下着から離れることを抑制することが記載されている。特許文献3には、本体、ウイング及びヒップガードを有する吸収性物品が記載され、当該吸収性物品が排泄部隆起領域と後方隆起領域を有する吸収性コアを備えることで、着用者の肌との間に隙間が生じることによる漏れを防止することが記載されている。
【先行技術文献】
【特許文献】
【0004】
特開2014-171559号公報
特開2017-176449号公報
特開2016-187474号
【発明の概要】
【発明が解決しようとする課題】
【0005】
ウイング及びヒップガードを備える吸収性物品は一般的に就寝時等夜用として使用されることが多いが、臀部付近からの漏れ抑制を期待して、多忙な日の日中に吸収性物品を交換できないような場面で使用することが増えている。しかしながら、そのような使用場面では、着用時、着用者の歩行などの動作によって下着の生地が大きく変形し、ウイングやヒップガードに設けられる粘着部が下着から剥がれ吸収性物品が変形し、吸収性物品の縁部が着用者の鼠経部や臀部に触れて着用違和感を引き起こすことがある。
【0006】
本発明の課題は、長時間着用時でも着用感が良好な吸収性物品に関する。
【課題を解決するための手段】
【0007】
本発明の一形態に係る吸収性物品は、本体と、一対のウイングと、一対のヒップガードと、を備える。
上記本体は、着用者の前後方向に対応する縦方向に沿って延び、前方領域と、排泄部対向領域を含む中間領域と、後方領域とに区分される。
上記本体は、表面シートと、裏面シートと、前記表面シートと前記裏面シートとの間に配される吸収体とを有する。
上記一対のウイングは、上記中間領域から着用者左右方向に対応する横方向の外側に延びる。
上記一対のヒップガードは、上記後方領域から横方向外側に延びる。
上記吸収性物品は、一対の前方粘着部及び一対の後方粘着部と、ウイング粘着部と、ヒップガード粘着部と、を備える。
上記一対の前方粘着部は、上記本体の下着当接面に配置され、縦方向に連続して延び、互いに横方向に離間配置される。
上記一対の後方粘着部は、上記本体の下着当接面に配置され、粘着部が配置されない離間部を間に介して上記一対の前方粘着部の後方に位置し、互いに横方向に離間配置される。
上記ウイング粘着部は、上記ウイングの下着当接面に配置される。
上記ヒップガード粘着部は、上記ヒップガードの下着当接面に配置される。
上記吸収体は、上記離間部に相対的に剛性の高い第1高剛性領域を有し、その周囲に該第1高剛性領域より剛性の低い領域を有する。
【発明の効果】
【0008】
本発明の吸収性物品によれば、長時間着用時でも着用感が良好な吸収性物品とすることができる。
【図面の簡単な説明】
【0009】
本発明の一実施形態に係る吸収性物品を外装シートにより包装した包装体を開封後に平面上に引き伸ばし肌側面からみた態様を示す平面図である。
上記吸収性物品を非肌側面からみた平面図である。
上記吸収性物品の一部を構成する吸収性コアの平面図である。
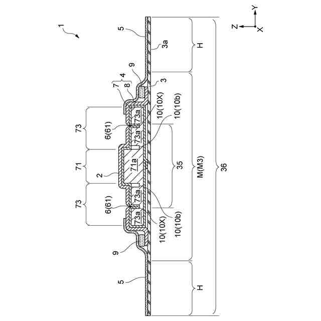
図1のVI-VI線で切断した上記吸収性物品の断面図である。
図1のV-V線で切断した上記吸収性物品の断面図である。
(A)は上記吸収性物品の非肌側面からみた部分拡大平面図であり、(B)~(D)は変形例に係わる吸収性物品の非肌側面からみた部分拡大平面図である。
(A)~(D)は変形例に係わる吸収性物品の非肌側面からみた部分拡大平面図である。
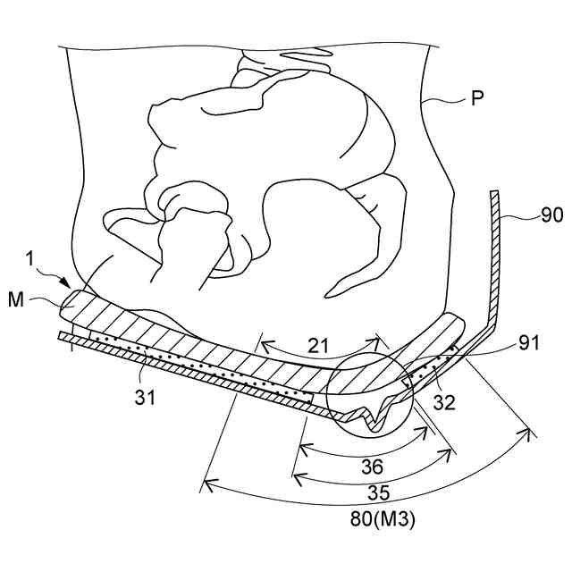
着用者の歩行動作によって吸収性物品に加わる力について説明する吸収性物品の平面図である。
本発明に係わる吸収性物品を着用した着用者の歩行動作時の様子を模式的に示す模試図である。
本発明の他の実施形態に係る立体ギャザーを有する吸収性物品を肌側面からみた平面図である。
【発明を実施するための形態】
【0010】
以下、図面を参照しながら、本発明の実施形態を説明する。各図面には、適宜、相互に直交する座標軸であるX軸、Y軸、及びZ軸が示されている。以下の説明において、既出の構成については同様の符号を付し、説明を省略する場合がある。
(【0011】以降は省略されています)
この特許をJ-PlatPat(特許庁公式サイト)で参照する
関連特許
花王株式会社
袋体
5日前
花王株式会社
組立体
24日前
花王株式会社
固形食品
26日前
花王株式会社
固形食品
10日前
花王株式会社
製函装置
14日前
花王株式会社
放散装置
1か月前
花王株式会社
清掃用具
4日前
花王株式会社
吸収性物品
1か月前
花王株式会社
化粧料容器
2か月前
花王株式会社
固形入浴剤
1か月前
花王株式会社
吸収性物品
1か月前
花王株式会社
乳化化粧料
5日前
花王株式会社
吸収性物品
1か月前
花王株式会社
乳化化粧料
5日前
花王株式会社
油性化粧料
14日前
花王株式会社
容器組立体
1か月前
花王株式会社
吸収性物品
26日前
花王株式会社
パウチ容器
1か月前
花王株式会社
防錆剤組成物
1か月前
花王株式会社
防錆剤組成物
1か月前
花王株式会社
吸収性パッド
1か月前
花王株式会社
酵素センサー
2か月前
花王株式会社
吸収性パッド
1か月前
花王株式会社
シート材容器
2か月前
花王株式会社
口腔用組成物
10日前
花王株式会社
口腔用組成物
10日前
花王株式会社
抗菌剤組成物
6日前
花王株式会社
鋳型用組成物
1か月前
花王株式会社
口腔用組成物
26日前
花王株式会社
口腔用組成物
26日前
花王株式会社
剥離剤組成物
1か月前
花王株式会社
水系顔料分散体
3日前
花王株式会社
口腔菌叢改善剤
26日前
花王株式会社
肌状態評価方法
2か月前
花王株式会社
焼却灰の処理方法
24日前
花王株式会社
焼却灰の処理方法
24日前
続きを見る
他の特許を見る