TOP
|
特許
|
意匠
|
商標
特許ウォッチ
Twitter
他の特許を見る
10個以上の画像は省略されています。
公開番号
2025115569
公報種別
公開特許公報(A)
公開日
2025-08-07
出願番号
2024010084
出願日
2024-01-26
発明の名称
決済システム
出願人
東芝テック株式会社
代理人
弁理士法人鈴榮特許綜合事務所
主分類
G07G
1/01 20060101AFI20250731BHJP(チェック装置)
要約
【課題】代金の支払いに関する操作を客に行わせることで人件費の削減を図る。
【解決手段】決済システムは、第1の処理装置と、第2の決済装置と、指示装置とを備える。第1の処理装置は、店員が操作者となって客との取引に係る情報を入力する入力装置と、入力装置を介して入力された取引に係る情報を基に、客が操作者となって取引を決済する第1の決済装置と、を含む。第2の決済装置は、入力装置で入力された取引に係る情報を保留する保留装置から当該取引に係る情報を取得し、客が操作者となって取引を決済する。指示装置は、店員が操作者となって保留装置で保留された取引に係る情報を第2の決済装置に出力する指示を行う。そして決済システムは、指示装置を、第2の決済装置の客が操作する操作面側とは反対側に配置する。
【選択図】 図47
特許請求の範囲
【請求項1】
店員が操作者となって客との取引に係る情報を入力する入力装置と、前記入力装置を介して入力された前記取引に係る情報を基に、客が操作者となって取引を決済する第1の決済装置と、を含む第1の処理装置と、
前記入力装置で入力された前記取引に係る情報を保留する保留装置から当該取引に係る情報を取得し、客が操作者となって取引を決済する第2の決済装置と、
店員が操作者となって前記保留装置で保留された前記取引に係る情報を前記第2の決済装置に出力する指示を行う指示装置と、
を備え、
前記指示装置を、前記第2の決済装置の客が操作する操作面側とは反対側に配置する、決済システム。
続きを表示(約 1,700 文字)
【請求項2】
店員が操作者となって客との取引に係る情報を入力する入力装置と、
前記入力装置を介して入力された前記取引に係る情報を基に、客が操作者となって取引を決済する第1の決済装置と、
前記入力装置で入力された前記取引に係る情報を保留する保留装置から当該取引に係る情報を取得し、客が操作者となって取引を決済する第2の決済装置と、
店員が操作者となって前記保留装置で保留された前記取引に係る情報を前記第2の決済装置に出力する指示を行う指示装置と、
を備え、
前記指示装置を、前記第2の決済装置の客が操作する操作面側とは反対側に配置する、決済システム。
【請求項3】
前記指示装置の店員が操作する操作面を、前記第2の決済装置の客が操作する操作面とは相反する向きに配置する、請求項1又は2記載の決済システム。
【請求項4】
前記入力装置と前記第1の決済装置とを、前記入力装置の店員が操作する操作面と前記第1の決済装置の客が操作する操作面とが相反する向きになるように並べて配置し、
前記第1の決済装置の客が操作する操作面の裏側に、前記第2の決済装置を配置する、請求項1又は2記載の決済システム。
【請求項5】
前記入力装置と前記第1の決済装置とを、前記入力装置の店員が操作する操作面と前記第1の決済装置の客が操作する操作面とが相反する向きになるように並べて配置し、さらに前記第1の決済装置の隣に前記第2の決済装置を、当該第2の決済装置の客が操作する操作面が前記第1の決済装置の客が操作する操作面と同一方向を向くように配置する、請求項1又は2記載の決済システム。
【請求項6】
前記入力装置と前記第2の決済装置とを、前記入力装置の店員が操作する操作面と前記第2の決済装置の客が操作する操作面とが相反する向きになるように並べて配置し、さらに前記第2の決済装置の隣に前記第1の決済装置を、当該第1の決済装置の客が操作する操作面が前記第2の決済装置の客が操作する操作面と同一方向を向くように配置する、請求項1又は2記載の決済システム。
【請求項7】
前記入力装置と前記第1の決済装置とを、前記入力装置の店員が操作する操作面と前記第1の決済装置の客が操作する操作面とが相反する向きになるように並べて配置し、さらに前記入力装置の隣に前記第2の決済装置を、当該第2の決済装置の客が操作する操作面が前記第1の決済装置の客が操作する操作面と同一方向を向くように配置する、請求項1又は2記載の決済システム。
【請求項8】
前記入力装置と前記第1の決済装置とは、1つのプロセッサで制御される1つの装置である、請求項1又は2記載の決済システム。
【請求項9】
店員が操作者となって客との取引に係る情報を入力する2台の入力装置と、
前記2台の入力装置と対応して設けられ、その対応する入力装置を介して入力された前記取引に係る情報を基に、客が操作者となって取引を決済する2台の第1の決済装置と、
前記入力装置で入力された前記取引に係る情報を保留する保留装置から当該取引に係る情報を取得し、客が操作者となって取引を決済する第2の決済装置と、
店員が操作者となって前記保留装置で保留された前記取引に係る情報を前記第2の決済装置に出力する指示を行う指示装置と、
を備え、
1台の前記入力装置及び当該入力装置と対応する1台の前記第1の決済装置と、別の1台の前記入力装置及び当該入力装置と対応する別の1台の前記第1の決済装置とを、店員用のスペースを挟んで互いに対向し、かつ、前記2台の入力装置の店員が操作する操作面は前記スペースの側を向き、前記2台の第1の決済装置の客が操作する操作面は前記スペースとは反対側を向くように配置し、
前記2台の第1の決済装置の間に前記第2の決済装置を、当該第2の決済装置の客が操作する操作面が前記スペースとは反対側を向くように配置し、
前記指示装置を、前記第2の決済装置の客が操作する操作面側とは反対側に配置する、決済システム。
発明の詳細な説明
【技術分野】
【0001】
本発明の実施形態は、決済システムに関する。
続きを表示(約 4,600 文字)
【背景技術】
【0002】
スーパーマーケット、ホームセンター等の大型小売店向けの決済システムとして、二人制のシステムがある。二人制の決済システムは、チェッカと称される店員が操作者となる入力装置と、キャッシャと呼ばれる店員が操作者となる取引処理装置とを備える。入力装置は、商品に付されたバーコード等の購買商品に係る情報を入力するための機器である。取引処理装置は、入力装置を介して入力された情報を基に購買商品の商品販売データを処理して客との取引を決済するための機器である。二人制の決済システムは、入力装置と取引処理装置とが分かれているため、取引処理装置で一人目の客の決済を処理している間に入力装置で二人目の客の購買商品に係る情報の入力を開始することができる。したがって、客を効率的に捌くことができる。
【0003】
一方、近年では、人件費の削減、感染症対策等の観点から、取引の決済に必要な入金に関する操作を客自身に行わせたいという要望がある。二人制の決済システムにおいても、取引処理装置に対しての入金に関する操作を客自身に行わせる。そうすることにより、キャッシャを担当する店員が不要となるので、人件費を削減できる。
【先行技術文献】
【特許文献】
【0004】
特開2018-152133号公報
【発明の概要】
【発明が解決しようとする課題】
【0005】
本発明の実施形態が解決しようとする課題は、代金の支払いに関する操作を客に行わせることで人件費の削減を図る決済システムを提供しようとするものである。
【課題を解決するための手段】
【0006】
一実施形態において、決済システムは、第1の処理装置と、第2の決済装置と、指示装置とを備える。第1の処理装置は、店員が操作者となって客との取引に係る情報を入力する入力装置と、入力装置を介して入力された取引に係る情報を基に、客が操作者となって取引を決済する第1の決済装置と、を含む。第2の決済装置は、入力装置で入力された取引に係る情報を保留する保留装置から当該取引に係る情報を取得し、客が操作者となって取引を決済する。指示装置は、店員が操作者となって保留装置で保留された取引に係る情報を第2の決済装置に出力する指示を行う。そして決済システムは、指示装置を、第2の決済装置の客が操作する操作面側とは反対側に配置する。
【図面の簡単な説明】
【0007】
図1は、実施形態に係る決済システムの概略構成を示すブロック図である。
図2は、1つの決済レーンが備える入力装置、取引処理装置、決済装置及び指示装置の位置関係を示す模式図である。
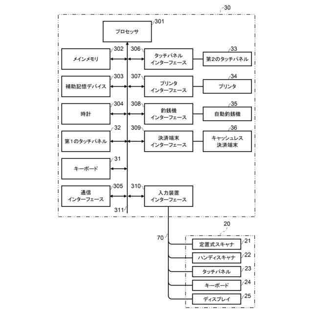
図3は、取引処理装置の要部回路構成を示すブロック図である。
図4は、取引処理装置のメインメモリに形成される主要な記憶領域を示す模式図である。
図5は、決済装置の要部回路構成を示すブロック図である。
図6は、決済装置のメインメモリに形成される主要な記憶領域を示す模式図である。
図7は、保留サーバの要部回路構成を示すブロック図である。
図8は、保留サーバが有するレーンテーブルのデータ構造を示す模式図である。
図9は、指示装置の要部回路構成を示すブロック図である。
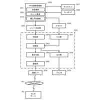
図10は、保留サーバ、入力装置、取引処理装置、決済装置及び指示装置がそれぞれ有する主要な機能構成を示す模式図である。
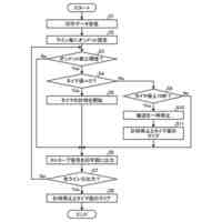
図11は、取引処理装置のプロセッサが第1の業務プログラムに従って実行する第1の情報処理の要部手順を示す流れ図である。
図12は、取引処理装置のプロセッサが第1の業務プログラムに従って実行する第1の情報処理の要部手順を示す流れ図である。
図13は、取引処理装置のプロセッサが第1の業務プログラムに従って実行する第1の情報処理の要部手順を示す流れ図である。
図14は、取引処理装置のプロセッサが第1の業務プログラムに従って実行する第1の情報処理の要部手順を示す流れ図である。
図15は、取引処理装置のプロセッサが第1の業務プログラムに従って実行する第2の情報処理の要部手順を示す流れ図である。
図16は、取引処理装置のプロセッサが第1の業務プログラムに従って実行する第3の情報処理の要部手順を示す流れ図である。
図17は、保留サーバのプロセッサが第2の業務プログラムに従って実行する第4の情報処理の要部手順を示す流れ図である。
図18は、保留サーバのプロセッサが第2の業務プログラムに従って実行する第4の情報処理の要部手順を示す流れ図である。
図19は、決済装置のプロセッサが第3の業務プログラムに従って実行する第5の情報処理の要部手順を示す流れ図である。
図20は、決済装置のプロセッサが第3の業務プログラムに従って実行する第6の情報処理の要部手順を示す流れ図である。
図21は、入力装置のタッチパネルに表示される登録画面の一例である。
図22は、入力装置のディスプレイに表示される登録画面の一例である。
図23は、入力装置のタッチパネルに表示される小計画面の一例である。
図24は、入力装置のディスプレイに表示される小計画面の一例である。
図25は、入力装置のタッチパネルに表示される支払い方法選択画面の一例である。
図26は、入力装置のタッチパネルに表示される支払い画面の一例である。
図27は、入力装置のタッチパネルにおいて支払い画面に表示される代金支払い待機時のポップアップの一例である。
図28は、入力装置のディスプレイにおいて小計画面に表示される代金支払い待機時のテキストの一例である。
図29は、入力装置のタッチパネルにおいて支払い画面に表示される取引処理装置での代金支払い可能時のポップアップの一例である。
図30は、入力装置のディスプレイにおいて小計画面に表示される取引処理装置での代金支払い可能時のテキストの一例である。
図31は、取引処理装置の第2のタッチパネルに表示される支払い方法選択画面の一例である。
図32は、取引処理装置の第2のタッチパネルに表示される支払い通知画面の一例である。
図33は、取引処理装置の第2のタッチパネルに表示される支払い中画面の一例である。
図34は、取引処理装置の第2のタッチパネルに表示される支払い完了画面の一例である。
図35は、取引処理装置の第1のタッチパネルに表示されるガイダンス画面の一例である。
図36は、指示装置のタッチパネルに表示される指示画面の一例である。
図37は、入力装置のタッチパネルにおいて支払い画面に表示される決済装置での代金支払い可能時のポップアップの一例である。
図38は、入力装置のディスプレイにおいて小計画面に表示される決済装置での代金支払い可能時のテキストの一例である。
図39は、決済装置のタッチパネルに表示される明細確認画面の一例である。
図40は、決済装置のタッチパネルに表示される支払い方法選択画面の一例である。
図41は、決済装置のタッチパネルに表示される支払い通知画面の一例である。
図42は、決済装置のタッチパネルに表示される支払い中画面の一例である。
図43は、決済装置のタッチパネルに表示される支払い完了画面の一例である。
図44は、実施形態に係る決済システムの作用を説明するためのシーケンス図である。
図45は、実施形態に係る決済システムの作用を説明するためのシーケンス図である。
図46は、実施形態に係る決済システムの作用を説明するためのシーケンス図である。
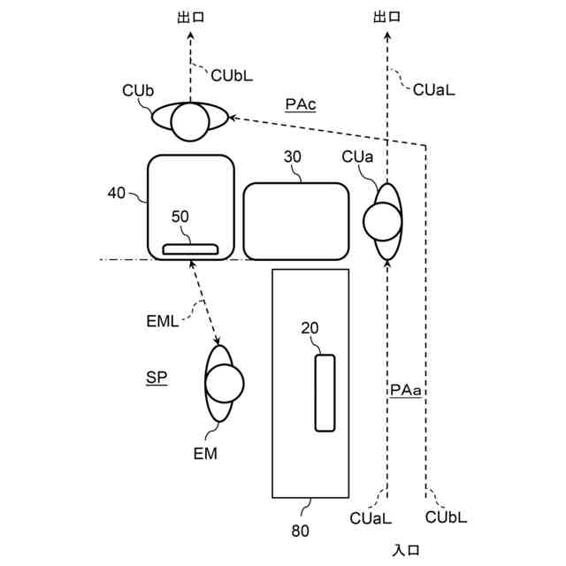
図47は、決済システムのレイアウトにおける第1のパターンを示す模式図である。
図48は、第1のパターンの変形例を示す模式図である。
図49は、第1のパターンの変形例を示す模式図である。
図50は、第1のパターンの変形例を示す模式図である。
図51は、決済システムのレイアウトにおける第2のパターンを示す模式図である。
図52は、第2のパターンの変形例を示す模式図である。
図53は、決済システムのレイアウトにおける第3のパターンを示す模式図である。
図54は、決済システムのレイアウトにおける第4のパターンを示す模式図である。
図55は、第4のパターンの変形例を示す模式図である。
図56は、決済システムのレイアウトにおける第5のパターンを示す模式図である。
図57は、第5のパターンの変形例を示す模式図である。
図58は、第5のパターンの変形例を示す模式図である。
図59は、第5のパターンのレイアウトによる決済システムの指示装置に表示される指示画面の一例である。
【発明を実施するための形態】
【0008】
以下、実施形態について、図面を用いて説明する。
始めに、実施形態に係る決済システムの基本的な構成及び動作について、図1乃至図43を用いて説明する。
【0009】
[決済システムの構成説明]
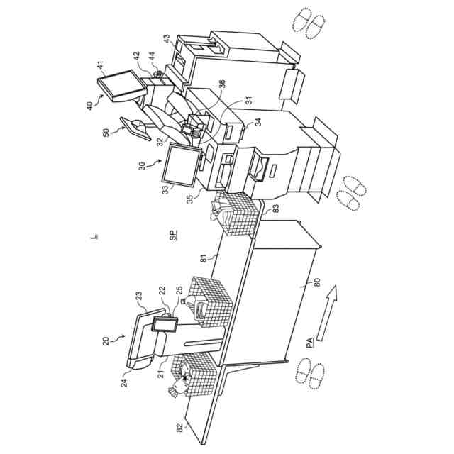
図1は、実施形態に係る決済システム100の概略構成を示すブロック図である。決済システム100は、保留サーバ10を備える。また決済システム100は、決済レーンL毎に第1の処理装置1、決済装置40及び指示装置50を備える。第1の処理装置1は、入力装置20と取引処理装置30とを含む。決済レーンLは、取引の決済を行う客が並ぶ通路を含む。本決済システム100を小売店で導入する場合には、商品を購入する消費者が客となる。本決済システム100を遊園地、美術館、博物館等の有料施設で導入する場合には、施設を利用する利用者が客となる。各決済レーンLには、それぞれ固有のレーン識別情報として例えば3桁のレーン番号が割り当てられている。
【0010】
決済システム100は、保留サーバ10と、各決済レーンLの取引処理装置30及び決済装置40とを、LAN(Local Area Network)等の通信ネットワーク60により双方向の通信自在に接続する。そして決済レーンL毎に、取引処理装置30に対して入力装置20を伝送ケーブル70で接続する。また決済システム100は、各決済レーンLの指示装置50を通信ネットワーク60に有線又は無線で接続する。ただし指示装置50は、同一決済レーンLの決済装置40の通信アドレスしか認識しない。したがって指示装置50は、決済装置40とデータ通信を行い得るものの、保留サーバ10及び取引処理装置30とデータ通信を行うことはできない。また、取引処理装置30と決済装置40との間で直接のデータ通信は生じない。保留サーバ10、入力装置20、取引処理装置30、決済装置40及び指示装置50の詳細については後述する。
(【0011】以降は省略されています)
この特許をJ-PlatPat(特許庁公式サイト)で参照する
関連特許
東芝テック株式会社
プリンタ
今日
東芝テック株式会社
プリンタ装置
今日
東芝テック株式会社
プリンタ装置
今日
東芝テック株式会社
画像形成装置
2日前
東芝テック株式会社
情報処理装置及びシステム
1日前
東芝テック株式会社
情報処理装置及びプログラム
今日
東芝テック株式会社
信号入出力装置および障害通知方法
4日前
東芝テック株式会社
読取装置、プログラムおよびシステム
4日前
東芝テック株式会社
商品登録装置、及び情報処理プログラム
今日
東芝テック株式会社
商品販売データ処理装置及びそのプログラム
1日前
東芝テック株式会社
情報処理装置、情報処理プログラム及び情報処理システム
今日
東芝テック株式会社
プリンタおよびプログラム
今日
東芝テック株式会社
情報端末及びそのプログラム
3日前
東芝テック株式会社
ファームウェアパッケージ作成装置、ファームウェアパッケージ作成プログラム及びファームウェア更新システム
4日前
株式会社イシダ
商品処理装置
2日前
株式会社バンダイ
物品供給装置
2か月前
株式会社バンダイ
物品供給装置
2か月前
株式会社バンダイ
物品供給装置
2か月前
株式会社バンダイ
物品供給装置
2か月前
富士電機株式会社
通貨識別装置
2か月前
沖電気工業株式会社
媒体処理装置
1か月前
沖電気工業株式会社
媒体処理装置
1か月前
沖電気工業株式会社
媒体処理装置
1か月前
沖電気工業株式会社
紙幣処理装置
1か月前
富士電機株式会社
自動販売機
1か月前
株式会社ライト
情報処理装置
1か月前
株式会社ライト
情報処理装置
1か月前
株式会社ライト
情報処理装置
2か月前
富士電機株式会社
金銭処理装置
2か月前
株式会社デンソー
車載器
今日
グローリー株式会社
物品投出装置
24日前
グローリー株式会社
硬貨処理装置
2か月前
株式会社トイスピリッツ
景品提供システム
1か月前
日本金銭機械株式会社
硬貨処理装置
4日前
日本金銭機械株式会社
硬貨処理装置
4日前
ユニティガードシステム株式会社
入館監視システム
1か月前
続きを見る
他の特許を見る