TOP
|
特許
|
意匠
|
商標
特許ウォッチ
Twitter
他の特許を見る
公開番号
2025128419
公報種別
公開特許公報(A)
公開日
2025-09-03
出願番号
2022117494
出願日
2022-07-22
発明の名称
炭素原子含有膜のドライエッチング方法
出願人
住友精化株式会社
代理人
個人
,
個人
,
個人
,
個人
主分類
H01L
21/3065 20060101AFI20250827BHJP(基本的電気素子)
要約
【課題】炭素原子含有膜に対するエッチング速度を向上させることができる炭素原子含有膜のドライエッチング方法を提供すること。
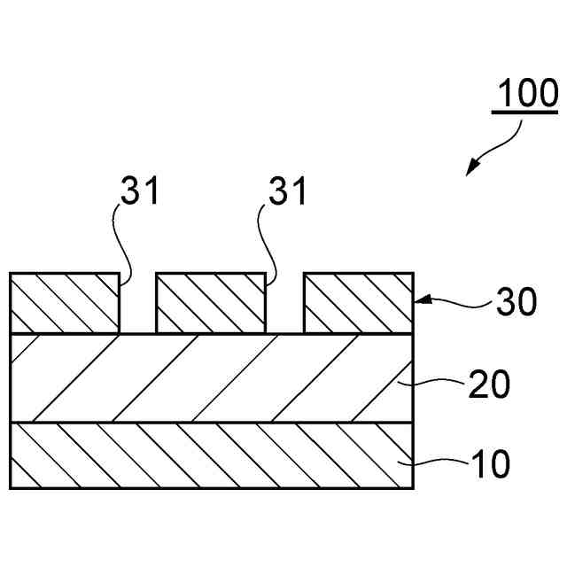
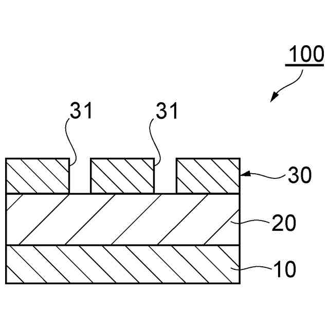
【解決手段】炭素原子を含有する炭素原子含有膜をエッチングガスによりエッチングする炭素原子含有膜のドライエッチング方法であって、少なくとも酸素及び二酸化硫黄を含む混合ガスを、炭素原子含有膜、および、第1開口部を有するマスクを備える構造体が配置されたエッチングチャンバーに導入する混合ガス導入工程と、混合ガスをエッチングチャンバー内でプラズマ化してプラズマガスを発生させ、このプラズマガスをエッチングガスとして用いて、構造体の炭素原子含有膜をエッチングして第2開口部を形成するエッチング工程とを含み、エッチング工程において、アスペクト比が1~40となるように第2開口部を形成する、炭素原子含有膜のドライエッチング方法。
【選択図】図1
特許請求の範囲
【請求項1】
炭素原子を含有する炭素原子含有膜をエッチングガスによりエッチングする炭素原子含有膜のドライエッチング方法であって、
少なくとも酸素及び二酸化硫黄を含む混合ガスを、前記炭素原子含有膜、および、第1開口部を有するマスク、を備える構造体が配置されたエッチングチャンバーに導入する混合ガス導入工程と、
前記混合ガスを前記エッチングチャンバー内でプラズマ化してプラズマガスを発生させ、このプラズマガスを前記エッチングガスとして用いて、前記構造体の前記炭素原子含有膜をエッチングして第2開口部を形成するエッチング工程とを含み、
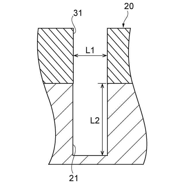
前記エッチング工程において、下記式(1)で定義されるアスペクト比が1~40となるように前記第2開口部を形成する、炭素原子含有膜のドライエッチング方法。
アスペクト比=L2/L1・・・(1)
(前記式(1)中、L1は、前記第1開口部の設計幅を表し、L2は、前記第2開口部の深さを表す。)
続きを表示(約 420 文字)
【請求項2】
前記アスペクト比が4~40である、請求項1に記載の炭素原子含有膜のドライエッチング方法。
【請求項3】
前記第1開口部の形状がトレンチまたはホールである、請求項1に記載の炭素原子含有膜のドライエッチング方法。
【請求項4】
前記炭素原子含有膜がアモルファスカーボンを含む、請求項1に記載の炭素原子含有膜のドライエッチング方法。
【請求項5】
前記マスクが酸素含有材料を含む、請求項1に記載の炭素原子含有膜のドライエッチング方法。
【請求項6】
前記酸素含有材料が二酸化珪素である、請求項5に記載の炭素原子含有膜のドライエッチング方法。
【請求項7】
前記混合ガスにおいて、前記二酸化硫黄及び前記酸素の合計体積中の前記二酸化硫黄の含有率が20~40体積%である、請求項1~6のいずれか一項に記載の炭素原子含有膜のドライエッチング方法。
発明の詳細な説明
【技術分野】
【0001】
本開示は、炭素原子含有膜のドライエッチング方法に関する。
続きを表示(約 1,400 文字)
【背景技術】
【0002】
半導体集積回路においては、素子の微細化および積層化が進んでおり、半導体集積回路の製造には、被エッチング膜をパターニングするためにフォトレジストなどのマスクを用いて、被エッチング膜に、開口が小さくアスペクト比の大きい深いホールやトレンチを高精度かつ高速に加工する技術が求められている。
このような技術として、例えば特許文献1に記載の方法が知られている。同公報では、酸素に硫化カルボニルを添加した混合ガスのプラズマガスを、炭素を含む炭素質層のエッチングガスとして用いることで、加工精度が向上することが報告されている。
【先行技術文献】
【特許文献】
【0003】
特開2009-200459号公報
【発明の概要】
【発明が解決しようとする課題】
【0004】
しかしながら、上記特許文献1に記載の方法は、炭素質層のエッチング速度の向上の点で改善の余地を有していた。
【0005】
本開示は、上記課題に鑑みてなされたものであり、炭素原子含有膜に対するエッチング速度を向上させることができる炭素原子含有膜のドライエッチング方法を提供することを目的とする。
【課題を解決するための手段】
【0006】
本発明者は、エッチング後の炭素原子含有膜の開口部の異方性(アスペクト比)を制御しながら、炭素原子含有膜のエッチング時の酸素への添加ガスを、硫化カルボニルから二酸化硫黄にすることで、意外にも上記課題を解決し得ることを見出し、本開示に至った。
【0007】
すなわち、本開示の一側面は、炭素原子を含有する炭素原子含有膜をエッチングガスによりエッチングする炭素原子含有膜のドライエッチング方法であって、少なくとも酸素及び二酸化硫黄を含む混合ガスを、上記炭素原子含有膜、および、第1開口部を有するマスク、を備える構造体が配置されたエッチングチャンバーに導入する混合ガス導入工程と、上記混合ガスを上記エッチングチャンバー内でプラズマ化してプラズマガスを発生させ、このプラズマガスを用いて、上記構造体の上記炭素原子含有膜をエッチングして第2開口部を形成するエッチング工程とを含み、上記エッチング工程において、下記式(1)で定義されるアスペクト比が1~40となるように上記第2開口部を形成する、炭素原子含有膜のドライエッチング方法を提供する。
アスペクト比=L2/L1・・・(1)
(前記式(1)中、L1は、前記第1開口部の設計幅を表し、L2は、前記第2開口部の深さを表す。)
【0008】
上記炭素原子含有膜のドライエッチング方法によれば、エッチング時のアスペクト比を上記範囲に制御しながら、酸素及び二酸化硫黄を含む混合ガスのプラズマガスで炭素原子含有膜をエッチングすることで、酸素及び硫化カルボニルを含む混合ガスのプラズマガスで炭素原子含有膜をエッチングする場合に比べて、炭素原子含有膜に対するエッチング速度を向上させることができる。
【0009】
上記アスペクト比は4~40であってもよい。
【0010】
上記第1開口部の形状はトレンチまたはホールであってもよい。
(【0011】以降は省略されています)
この特許をJ-PlatPat(特許庁公式サイト)で参照する
関連特許
住友精化株式会社
吸水剤の製造方法
17日前
住友精化株式会社
樹脂水性分散組成物製造方法
1か月前
住友精化株式会社
吸水性樹脂粒子を製造する方法
1か月前
住友精化株式会社
炭素原子含有膜のドライエッチング方法
1か月前
住友精化株式会社
炭素原子含有膜のドライエッチング方法
1か月前
住友精化株式会社
導電層選択保護膜用材料および成膜方法
1か月前
株式会社ファンケル
水性化粧料
4か月前
個人
安全なNAS電池
1か月前
日本発條株式会社
積層体
7日前
個人
フリー型プラグ安全カバー
1か月前
東レ株式会社
多孔質炭素シート
26日前
エイブリック株式会社
半導体装置
28日前
ローム株式会社
半導体装置
26日前
ローム株式会社
半導体装置
3日前
ローム株式会社
半導体装置
5日前
ローム株式会社
半導体装置
5日前
キヤノン株式会社
電子機器
26日前
エイブリック株式会社
半導体装置
28日前
ローム株式会社
半導体装置
5日前
個人
防雪防塵カバー
7日前
株式会社GSユアサ
蓄電装置
1か月前
オムロン株式会社
電磁継電器
1か月前
個人
半導体パッケージ用ガラス基板
6日前
株式会社GSユアサ
蓄電装置
3日前
太陽誘電株式会社
全固体電池
3日前
株式会社ティラド
面接触型熱交換器
18日前
東レ株式会社
ガス拡散層の製造方法
26日前
株式会社ホロン
冷陰極電子源
3日前
株式会社GSユアサ
蓄電装置
7日前
ニチコン株式会社
コンデンサ
19日前
ニチコン株式会社
コンデンサ
19日前
沖電気工業株式会社
アンテナ
1か月前
TDK株式会社
電子部品
3日前
マクセル株式会社
配列用マスク
18日前
株式会社ヨコオ
コネクタ
28日前
日本特殊陶業株式会社
保持装置
5日前
続きを見る
他の特許を見る