TOP
|
特許
|
意匠
|
商標
特許ウォッチ
Twitter
他の特許を見る
10個以上の画像は省略されています。
公開番号
2025128420
公報種別
公開特許公報(A)
公開日
2025-09-03
出願番号
2022117496
出願日
2022-07-22
発明の名称
炭素原子含有膜のドライエッチング方法
出願人
住友精化株式会社
代理人
個人
,
個人
,
個人
,
個人
,
個人
主分類
H01L
21/3065 20060101AFI20250827BHJP(基本的電気素子)
要約
【課題】炭素原子含有膜に対するエッチングを、大きいエッチング速度で簡便に行うことができる炭素原子含有膜のドライエッチング方法を提供すること。
【解決手段】酸素及び硫黄化合物を含む混合ガスを、炭素原子含有膜を備える構造体が配置されたエッチングチャンバーに導入する混合ガス導入工程と、混合ガスをエッチングチャンバー内でプラズマ化し、プラズマガスをエッチングガスとして構造体の炭素原子含有膜をエッチングするエッチング工程とを含み、エッチング工程において、プラズマガスの発光分光分析法による分析結果が下記(A)、(B)及び(C)の要件のうち少なくとも1つの要件を満たすようにプラズマガスを発生させる、炭素原子含有膜のドライエッチング方法。
(A)最大強度比R1が0.52以上であること
(B)最大強度比R2が0.12以上であること
(C)最大強度比R3が0.48以上であること
【選択図】図2
特許請求の範囲
【請求項1】
炭素原子を含有する炭素原子含有膜を、エッチングガスによりエッチングする炭素原子含有膜のドライエッチング方法において、
少なくとも酸素及び硫黄化合物を含む混合ガスを、前記炭素原子含有膜を備える構造体が配置されたエッチングチャンバーに導入する混合ガス導入工程と、
前記混合ガスを前記エッチングチャンバー内でプラズマ化してプラズマガスを発生させ、このプラズマガスを前記エッチングガスとして用いて、前記構造体の前記炭素原子含有膜をエッチングするエッチング工程とを含み、
前記エッチング工程において、前記プラズマガスの発光分光分析法による分析結果が下記(A)、(B)及び(C)の要件のうち少なくとも1つの要件を満たすように前記プラズマガスを発生させる、炭素原子含有膜のドライエッチング方法。
(A)250-260nmの波長範囲における最大発光強度に対する770-780nmの波長範囲における最大発光強度の最大強度比R1が0.52以上であること
(B)280-350nmの波長範囲における最大発光強度に対する770-780nmの波長範囲における最大発光強度の最大強度比R2が0.12以上であること
(C)470-600nmの波長範囲における最大発光強度に対する770-780nmの波長範囲における最大発光強度の最大強度比R3が0.48以上であること
続きを表示(約 330 文字)
【請求項2】
前記エッチング工程において、前記プラズマガスの発光分光分析法による分析結果が前記(A)、(B)及び(C)の要件のうち少なくとも2つの要件を満たすように前記プラズマガスを発生させる、請求項1に記載の炭素原子含有膜のドライエッチング方法。
【請求項3】
前記エッチング工程において、前記プラズマガスの発光分光分析法による分析結果が前記(A)、(B)及び(C)の要件のすべてを満たすように前記プラズマガスを発生させる、請求項2に記載の炭素原子含有膜のドライエッチング方法。
【請求項4】
前記硫黄化合物として二酸化硫黄または硫化カルボニルを用いる、請求項1~3のいずれか一項に記載の炭素原子含有膜のドライエッチング方法。
発明の詳細な説明
【技術分野】
【0001】
本開示は、炭素原子含有膜のドライエッチング方法に関する。
続きを表示(約 2,800 文字)
【背景技術】
【0002】
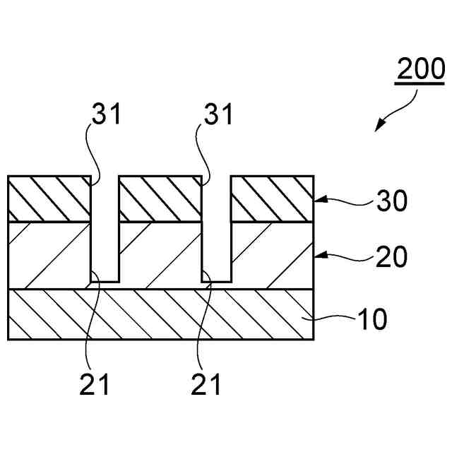
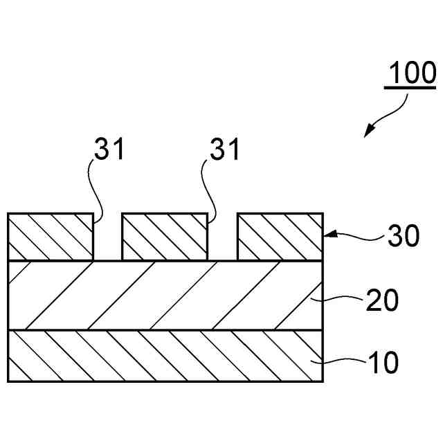
半導体集積回路においては、素子の微細化および積層化が進んでおり、半導体集積回路の製造では、炭素を含む被エッチング膜をパターニングするためにフォトレジストなどのマスクを用いて、被エッチング膜に、開口が小さくアスペクト比の大きい深いホールやトレンチを高精度かつ高速に加工する技術が求められている。
そのための技術として、例えば特許文献1には、酸素と炭素・硫黄末端リガンドを含むガスとを含むエッチャントガス混合物のプラズマで炭素質層をエッチングする方法が開示されている。
【先行技術文献】
【特許文献】
【0003】
特開2009-200459号公報
【発明の概要】
【発明が解決しようとする課題】
【0004】
しかし、上記特許文献1に記載の方法は、以下の課題を有していた。
すなわち、上記方法では、大きいエッチング速度でのエッチング条件を設定するためにエッチングの実施及び電子顕微鏡(SEM)での観察を繰り返すことが必要となり、大きいエッチング速度でのエッチングを簡便に行う点で改善の余地があった。
【0005】
本開示は、上記課題に鑑みてなされたものであり、炭素原子含有膜に対するエッチングを、大きいエッチング速度で簡便に行うことができる炭素原子含有膜のドライエッチング方法を提供することを目的とする。
【課題を解決するための手段】
【0006】
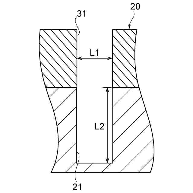
本開示の発明者らは、上記課題を解決するため鋭意検討した。まず、エッチングガスとしてのプラズマガスにおいて、酸素原子に由来するイオン又はラジカルがエッチングを速める働きをするのに対して、S原子及びC原子に由来するイオン又はラジカルがエッチングを遅くするように働く、すなわちS原子及びC原子を堆積させるように働くものと本開示の発明者らは考えた。したがって、炭素原子含有膜に対するエッチング速度を大きくするためには、S原子及びC原子に由来するイオン又はラジカルに対する酸素原子に由来するイオン又はラジカルの量をある一定値以上にすればよいのではないかと考えた。そこで、本開示の発明者らは、まず酸素と、硫化カルボニル又は二酸化硫黄との混合ガスのプラズマガスについて発光分光分析を行った時の分析結果(発光分光分析(OES:Optical Emission Spectrometer)チャート)に着目した(図1参照)。図1において、上側の発光分光分析チャートは、混合ガス中のSO
2
の濃度が30体積%であるときのチャートであり、下側の発光分光分析チャートは、混合ガス中のCOSの濃度が30体積%であるときのチャートである。これらの発光分光分析チャートでは、波長257nm付近に鋭い形状の発光ピークと、300nm付近及び500nm付近を中心に幅の広い形状の二つの発光ピークが観測され、さらに、777nm付近には酸素原子に由来する発光ピークが観測される。その波長から257nm付近の発光ピークはCSとS、300nm付近の発光ピークはSO、500nm付近のピークはCOとS2に対応するものと考えられた。
また、これらの発光ピーク強度の絶対値は、観測状況に依存するものであるが、発光ピーク強度同士間の強度比は、観測条件に依存しにくいこともわかった。
そして、本開示の発明者らが更に鋭意研究を重ねた結果、777nmの酸素原子に由来する発光ピーク強度が、257nm、300nm、500nmの発光ピーク強度に対してそれぞれ一定値以上である場合には、エッチング速度が大きくなり、小さい場合は小さくなることが判明した。すなわち、エッチング速度が大きくなる条件を、サンプルウエハーを消費して走査電子顕微鏡(SEM)による観察等を行うことなくプラズマガスの発光分光分析の結果を見るだけで簡便に見出せることが判明した。
また、各発光ピークは幅を有しているため、257nm付近の発光ピークの位置は250-260nmの波長範囲で特定し、300nm付近の発光ピークの位置は280-350nmの波長範囲で特定し、500nm付近の発光ピークの位置は470-600nmの波長範囲で特定し、777nm付近の発光ピークは770-780nmの波長範囲で特定することが適当であると考えられた。
こうして本開示の発明者らは、以下の本開示により上記課題を解決し得ることを見出したものである。
【0007】
すなわち、本開示の一側面は、炭素原子を含有する炭素原子含有膜を、エッチングガスによりエッチングする炭素原子含有膜のドライエッチング方法において、少なくとも酸素及び硫黄化合物を含む混合ガスを、上記炭素原子含有膜を備える構造体が配置されたエッチングチャンバーに導入する混合ガス導入工程と、上記混合ガスを上記エッチングチャンバー内でプラズマ化してプラズマガスを発生させ、このプラズマガスを上記エッチングガスとして用いて、上記構造体の上記炭素原子含有膜をエッチングするエッチング工程とを含み、上記エッチング工程において、上記プラズマガスの発光分光分析法による分析結果が下記(A)、(B)及び(C)の要件のうち少なくとも1つの要件を満たすように上記プラズマガスを発生させる、炭素原子含有膜のドライエッチング方法を提供する。
(A)250-260nmの波長範囲における最大発光強度に対する770-780nmの波長範囲における最大発光強度の最大強度比R1が0.52以上であること
(B)280-350nmの波長範囲における最大発光強度に対する770-780nmの波長範囲における最大発光強度の最大強度比R2が0.12以上であること
(C)470-600nmの波長範囲における最大発光強度に対する770-780nmの波長範囲における最大発光強度の最大強度比R3が0.48以上であること
【0008】
上記炭素原子含有膜のドライエッチング方法によれば、炭素原子含有膜に対するエッチングを、大きいエッチング速度で簡便に行うことができる。
【0009】
上記エッチング工程において、上記プラズマガスの発光分光分析法による分析結果が上記(A)、(B)及び(C)の要件のうち少なくとも2つの要件を満たすように上記プラズマガスを発生させてよい。
【0010】
上記エッチング工程において、上記プラズマガスの発光分光分析法による分析結果が上記(A)、(B)及び(C)の要件のすべてを満たすように上記プラズマガスを発生させてよい。
(【0011】以降は省略されています)
この特許をJ-PlatPat(特許庁公式サイト)で参照する
関連特許
住友精化株式会社
吸水剤の製造方法
14日前
住友精化株式会社
樹脂水性分散組成物製造方法
1か月前
住友精化株式会社
炭素原子含有膜のドライエッチング方法
1か月前
住友精化株式会社
炭素原子含有膜のドライエッチング方法
1か月前
住友精化株式会社
導電層選択保護膜用材料および成膜方法
1か月前
個人
安全なNAS電池
28日前
東レ株式会社
多孔質炭素シート
23日前
日本発條株式会社
積層体
4日前
個人
フリー型プラグ安全カバー
1か月前
エイブリック株式会社
半導体装置
25日前
ローム株式会社
半導体装置
2日前
ローム株式会社
半導体装置
2日前
ローム株式会社
半導体装置
今日
エイブリック株式会社
半導体装置
25日前
ローム株式会社
半導体装置
23日前
キヤノン株式会社
電子機器
23日前
ローム株式会社
半導体装置
2日前
個人
防雪防塵カバー
4日前
株式会社ホロン
冷陰極電子源
今日
オムロン株式会社
電磁継電器
1か月前
ニチコン株式会社
コンデンサ
16日前
沖電気工業株式会社
アンテナ
1か月前
太陽誘電株式会社
全固体電池
今日
ニチコン株式会社
コンデンサ
16日前
株式会社ティラド
面接触型熱交換器
15日前
個人
半導体パッケージ用ガラス基板
3日前
株式会社GSユアサ
蓄電装置
1か月前
東レ株式会社
ガス拡散層の製造方法
23日前
株式会社GSユアサ
蓄電装置
4日前
株式会社GSユアサ
蓄電装置
今日
トヨタ自動車株式会社
二次電池
4日前
日本特殊陶業株式会社
保持装置
今日
マクセル株式会社
配列用マスク
15日前
日本特殊陶業株式会社
保持装置
今日
日本特殊陶業株式会社
保持装置
4日前
TDK株式会社
電子部品
今日
続きを見る
他の特許を見る