TOP
|
特許
|
意匠
|
商標
特許ウォッチ
Twitter
他の特許を見る
10個以上の画像は省略されています。
公開番号
2025131060
公報種別
公開特許公報(A)
公開日
2025-09-09
出願番号
2024028560
出願日
2024-02-28
発明の名称
携帯型決済端末
出願人
パナソニックIPマネジメント株式会社
代理人
弁理士法人栄光事務所
主分類
G07G
1/00 20060101AFI20250902BHJP(チェック装置)
要約
【課題】様々な決済方式によって決済でき、小型化、特に薄型化を達成可能な携帯型決済端末を提供する。
【解決手段】携帯型決済端末は、筐体と、表示面を有するタッチパネルと、カメラと、スピーカと、接触ICカード用スロットと、磁気カード用スリットと、アンテナと、を備える。カメラ及びスピーカは、第1の延長線と第2の延長線との間であって、筐体の下面の側に設けられる。第1空間、第2空間及び前面が、互いに略平行に延びる様に設けられる。第1空間及び第2空間が、表示面の中心点から背面に向けて延びる垂線よりも上面の側に設けられる。接触ICカード用スロット及び第1空間が、接触ICカードの挿入方向が、第1の延長線及び第2の延長線と略平行になるように設けられる。磁気カード用スリット及び第2空間が、磁気カードのスワイプ方向が、第1の延長線及び第2の延長線のそれぞれと直交するように設けられる。
【選択図】図10
特許請求の範囲
【請求項1】
少なくともコード決済、非接触決済、接触ICカード及び磁気カードによる決済が可能な携帯型決済端末であって、
前面、前記前面に対向する背面、並びに前記前面と前記背面の間に設けられる上面、下面及び二つの側面を有する筐体と、
前記前面から露出し、前記上面に対応する上辺、前記下面に対応する下辺、一方の側面に対応する左辺及び他方の側面に対応する右辺によって画定される表示面を有するタッチパネルと、
前記左辺の延長線である第1の延長線と前記右辺の延長線である第2の延長線との間であって、かつ、前記下辺よりも前記下面の側に設けられ、前記前面から前記コード決済用のコードを撮像するための第1カメラのカメラレンズと、
前記筐体の内部において、前記第1の延長線と前記第2の延長線との間であって、かつ、前記下辺よりも前記下面の側に設けられ、前記前面から決済処理に係わる音を出力可能なスピーカユニットと、
前記第1の延長線と前記第2の延長線との間であって、かつ、前記上面に設けられ、前記接触ICカードを差し込むための接触ICカード用スロットと、
前記上面及び前記二つの側面に設けられ、前記磁気カードをスワイプするための磁気カード用スリットと、
前記筐体の内部において、前記上辺、前記下辺、前記左辺及び前記右辺の少なくともいずれに沿う様に配置され、前記非接触決済に用いられるアンテナと、
を備え、
前記接触ICカード用スロットを画定する第1空間、前記磁気カード用スリットを画定する第2空間及び前記前面は、互いに略平行に延びる様に設けられ、
前記第1空間及び前記第2空間は、前記表示面の中心点から前記筐体の前記背面に向けて延びる垂線よりも前記上面の側に設けられ、
前記接触ICカード用スロット及び前記第1空間は、前記接触ICカードの挿入方向が、前記第1の延長線及び前記第2の延長線と略平行になるように設けられ、
前記磁気カード用スリット及び前記第2空間は、前記磁気カードのスワイプ方向が、前記第1の延長線及び前記第2の延長線のそれぞれと直交するように設けられる、
携帯型決済端末。
続きを表示(約 1,000 文字)
【請求項2】
少なくともコード決済、非接触決済、接触ICカード及び磁気カードによる決済が可能な携帯型決済端末であって、
前面、前記前面に対向する背面、並びに前記前面と前記背面の間に設けられる上面、下面及び二つの側面を有する筐体と、
前記前面から露出し、前記上面に対応する上辺、前記下面に対応する下辺、一方の側面に対応する左辺及び他方の側面に対応する右辺によって画定される表示面を有するタッチパネルと、
前記左辺の延長線である第1の延長線と前記右辺の延長線である第2の延長線との間であって、かつ、前記上面に設けられ、前記接触ICカードを差し込むための接触ICカード用スロットと、
前記上面及び前記二つの側面に設けられ、前記磁気カードをスワイプするための磁気カード用スリットと、
前記筐体の内部において、前記上辺、前記下辺、前記左辺及び前記右辺の少なくともいずれに沿う様に配置され、前記非接触決済に用いられるアンテナと、
を備え、
前記接触ICカード用スロットを画定する第1空間、前記磁気カード用スリットを画定する第2空間及び前記前面は、互いに略平行に延びる様に設けられ、
前記第1空間及び前記第2空間は、前記表示面の中心点から前記筐体の前記背面に向けて延びる垂線よりも前記上面の側に設けられ、
前記接触ICカード用スロット及び前記第1空間は、前記接触ICカードの挿入方向が、前記第1の延長線及び前記第2の延長線と略平行になるように設けられ、
前記磁気カード用スリット及び前記第2空間は、前記磁気カードのスワイプ方向が、前記第1の延長線及び前記第2の延長線のそれぞれと直交するように設けられ、
前記前面から前記コード決済用のコードを撮像するための第1カメラのカメラレンズが、前記第1の延長線と前記第2の延長線との間であって、かつ、前記下辺よりも前記下面の側に設けられ、
決済処理に係わる音が孔を通じて出力されるスピーカ孔が、前記第1の延長線と前記第2の延長線との間であって、かつ、前記下辺よりも前記下面の側に設けられる、
携帯型決済端末。
【請求項3】
前記筐体の内部において、前記第1の延長線と前記第2の延長線との間であって、かつ、前記垂線よりも前記上面の側に設けられ、前記背面から商品に設けられた商品コードを撮像するための第2カメラのカメラレンズを更に備える、
請求項1又は2に記載の携帯型決済端末。
発明の詳細な説明
【技術分野】
【0001】
本開示は、携帯型決済端末に関する。
続きを表示(約 2,300 文字)
【背景技術】
【0002】
決済端末は、例えば店舗のカウンターなどに設置され、決済を行う装置が知られている。決済端末は、タッチパネルを備えており、タッチパネルより入力された個人情報に基づき、決済を行うことが可能である。また、決済端末は、カード等の決済用媒体にも対応しており、このような媒体から個人情報等を読み取ることにより、決済を行うこともできる。
【0003】
昨今の取引の多様化に伴い、決済の場所が店舗のカウンターに限らず様々な場所に拡がっている。例えば、宅配物の決済が配達先で行われるような事例である。このため、持ち運びのできる携帯型決済端末がより重視されつつある(特許文献1~3参照)。
【先行技術文献】
【特許文献】
【0004】
特開2019-144944号公報
特開2012-185543号公報
特開2017-228237号公報
【発明の概要】
【発明が解決しようとする課題】
【0005】
携帯型決済型端末は、持ち運びのために装置の小型化が求められる。しかしながら、決済の種類は、コード決済、非接触決済、接触ICカードによる決済、及び磁気カードによる決済等、多岐に渡っており、決済の種類に応じて使用されるデバイスが異なる。端末が複数の異なるデバイスを搭載することにより、小型化がより困難となる。特に、カメラ、スピーカ等のように背の高い部分を有する(端末の厚み方向に長い)部品(以下、背の高い部品という)は、端末の厚みを増大させ、小型化の障壁となり得る。
【0006】
本開示は、様々な決済方式によって決済でき、小型化、特に薄型化を達成可能な携帯型決済端末を提供する。
【課題を解決するための手段】
【0007】
本開示の携帯型決済端末は、少なくともコード決済、非接触決済、接触ICカード及び磁気カードによる決済が可能な携帯型決済端末であって、前面、前記前面に対向する背面、並びに前記前面と前記背面の間に設けられる上面、下面及び二つの側面を有する筐体と、前記前面から露出し、前記上面に対応する上辺、前記下面に対応する下辺、一方の側面に対応する左辺及び他方の側面に対応する右辺によって画定される表示面を有するタッチパネルと、前記筐体の内部において、前記左辺の延長線である第1の延長線と前記右辺の延長線である第2の延長線との間であって、かつ、前記下辺よりも前記下面の側に設けられ、前記前面から前記コード決済用のコードを読み取るための第1カメラと、前記筐体の内部において、前記第1の延長線と前記第2の延長線との間であって、かつ、前記下辺よりも前記下面の側に設けられ、前記前面から決済処理に係わる音を出力可能なスピーカと、前記第1の延長線と前記第2の延長線との間であって、かつ、前記上面に設けられ、前記接触ICカードを差し込むための接触ICカード用スロットと、前記上面及び前記二つの側面に設けられ、前記磁気カードをスワイプするための磁気カード用スリットと、前記筐体の内部において、前記上辺、前記下辺、前記左辺及び前記右辺の少なくともいずれに沿う様に配置され、前記非接触決済に用いられるアンテナと、を備え、前記接触ICカード用スロットを画定する第1空間、前記磁気カード用スリットを画定する第2空間及び前記前面が、互いに略平行に延びる様に設けられ、前記第1空間及び前記第2空間が、前記表示面の中心点から前記筐体の前記背面に向けて延びる垂線よりも前記上面の側に設けられ、前記接触ICカード用スロット及び前記第1空間が、前記接触ICカードの挿入方向が、前記第1の延長線及び前記第2の延長線と略平行になるように設けられ、前記磁気カード用スリット及び前記第2空間が、前記磁気カードのスワイプ方向が、前記第1の延長線及び前記第2の延長線のそれぞれと直交するように設けられる。
【発明の効果】
【0008】
本開示によれば、様々な決済方式によって決済でき、携帯型決済端末の小型化、特に薄型化を達成可能である。
【図面の簡単な説明】
【0009】
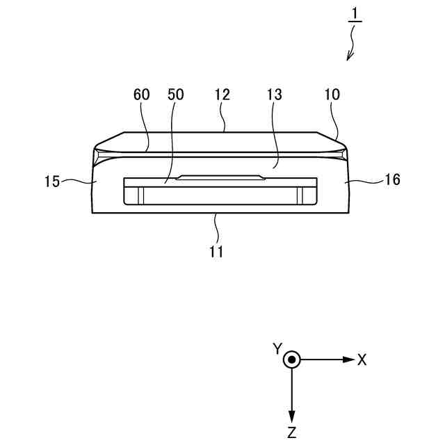
本開示の実施形態に係る携帯型決済端末の構成例を示す前面図
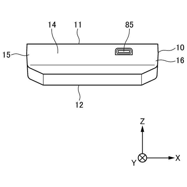
携帯型決済端末の構成例を示す背面図
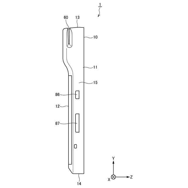
携帯型決済端末の構成例を示す左側面図
携帯型決済端末の構成例を示す右側面図
携帯型決済端末の構成例を示す上面図
携帯型決済端末の構成例を示す下面図
図1のI-I線に沿った断面図
図1のII-II線に沿った断面図
図1のIII-III線に沿った断面図
携帯型決済端末の模式的な構成例を示す第1斜視図
携帯型決済端末の模式的な構成例を示す第2斜視図
【発明を実施するための形態】
【0010】
以下、適宜図面を参照しながら、実施形態を詳細に説明する。但し、必要以上に詳細な説明は省略する場合がある。例えば、既によく知られた事項の詳細説明や実質的に同一の構成に対する重複説明を省略する場合がある。これは、以下の説明が不必要に冗長になることを避け、当業者の理解を容易にするためである。尚、添付図面及び以下の説明は、当業者が本開示を十分に理解するために提供されるものであり、これらにより特許請求の範囲に記載の主題を限定することは意図されていない。
(【0011】以降は省略されています)
この特許をJ-PlatPat(特許庁公式サイト)で参照する
関連特許
株式会社イシダ
商品処理装置
2日前
株式会社バンダイ
物品供給装置
2か月前
株式会社バンダイ
物品供給装置
2か月前
株式会社バンダイ
物品供給装置
2か月前
株式会社バンダイ
物品供給装置
2か月前
富士電機株式会社
通貨識別装置
2か月前
沖電気工業株式会社
媒体処理装置
1か月前
沖電気工業株式会社
媒体処理装置
1か月前
沖電気工業株式会社
媒体処理装置
1か月前
沖電気工業株式会社
紙幣処理装置
1か月前
株式会社ライト
情報処理装置
2か月前
富士電機株式会社
自動販売機
1か月前
株式会社ライト
情報処理装置
1か月前
株式会社ライト
情報処理装置
1か月前
株式会社デンソー
車載器
今日
富士電機株式会社
金銭処理装置
2か月前
グローリー株式会社
物品投出装置
24日前
グローリー株式会社
硬貨処理装置
2か月前
日本金銭機械株式会社
硬貨処理装置
4日前
日本金銭機械株式会社
硬貨処理装置
4日前
株式会社トイスピリッツ
景品提供システム
1か月前
ユニティガードシステム株式会社
入館監視システム
1か月前
沖電気工業株式会社
棒金収納装置
1日前
旭精工株式会社
紙葉類処理装置および紙葉類処理方法
14日前
沖電気工業株式会社
現金処理装置及び印字装置
14日前
沖電気工業株式会社
棒金収納装置
1か月前
沖電気工業株式会社
現金処理装置
1か月前
沖電気工業株式会社
媒体処理装置
28日前
沖電気工業株式会社
媒体識別装置及び媒体処理装置
1か月前
中井銘鈑株式会社
商品見本取付け構造
1か月前
株式会社東芝
ドア構造
1か月前
独立行政法人 国立印刷局
画像観察装置及び画像観察方法
1か月前
沖電気工業株式会社
硬貨処理装置及び貨幣取扱装置
1か月前
グローリー株式会社
紙幣処理方法
2か月前
富士電機株式会社
自動販売機
2か月前
株式会社寺岡精工
施設管理システム
1か月前
続きを見る
他の特許を見る