TOP
|
特許
|
意匠
|
商標
特許ウォッチ
Twitter
他の特許を見る
10個以上の画像は省略されています。
公開番号
2025138359
公報種別
公開特許公報(A)
公開日
2025-09-25
出願番号
2024037402
出願日
2024-03-11
発明の名称
管理装置、管理方法、および、プログラム
出願人
パナソニックIPマネジメント株式会社
代理人
個人
,
個人
,
個人
主分類
H05K
13/00 20060101AFI20250917BHJP(他に分類されない電気技術)
要約
【課題】生産ラインにおける生産コストに関する問題を検出できる管理装置などを提供する。
【解決手段】管理装置100は、基板に部品を実装することにより回路基板を生産する生産ライン200における生産状態を監視する監視部110と、回路基板を生産するときに要求される第1生産コストを設定する設定部120と、生産状態に基づく第2生産コストを第1生産コストと比較することによって、生産コストに関する問題を検出する問題検出部130と、を備える。
【選択図】図2
特許請求の範囲
【請求項1】
基板に部品を実装することにより回路基板を生産する生産ラインにおける生産状態を監視する監視部と、
前記回路基板を生産するときに要求される第1生産コストを設定する設定部と、
前記生産状態に基づく第2生産コストを前記第1生産コストと比較することによって、生産コストに関する問題を検出する問題検出部と、を備える、
管理装置。
続きを表示(約 910 文字)
【請求項2】
前記設定部は、前記回路基板を生産するときに要求される第1生産性を設定し、
前記問題検出部は、前記生産状態に基づく第2生産性を前記第1生産性と比較することによって、生産性に関する問題を検出する、
請求項1に記載の管理装置。
【請求項3】
前記問題検出部は、前記生産状態として監視された部品の吸着に関するエラーを示す情報と、前記エラーが発生した部品の単価を示す情報とに基づいて前記第2生産コストを算出し、算出した前記第2生産コストに基づいて前記生産コストに関する問題を検出する、
請求項1に記載の管理装置。
【請求項4】
前記問題検出部は、さらに、前記生産状態を取得した以降に基板に実装される部品の数にも基づいて、前記第2生産コストを算出する、
請求項3に記載の管理装置。
【請求項5】
部品の単価を示す情報は、部品の単価と当該部品の種類とを示す情報を教師ありデータとして学習することで生成された学習モデルに前記生産ラインの生産条件を入力することで得られる、
請求項4に記載の管理装置。
【請求項6】
前記問題検出部により前記生産コストに関する問題が検出された前記生産ラインの前記第2生産コストを表示部に表示させる出力部を備える、
請求項1~5のいずれか1項に記載の管理装置。
【請求項7】
基板に部品を実装することにより回路基板を生産する生産ラインにおける生産状態を監視し、
前記回路基板を生産するときに要求される第1生産コストを設定し、
前記生産状態に基づく第2生産コストを前記第1生産コストと比較することによって、生産コストに関する問題を検出する、
管理方法。
【請求項8】
前記生産コストに関する前記問題が検出された前記生産ラインの前記第2生産コストを表示部に表示させる、
請求項7に記載の管理方法。
【請求項9】
請求項7または8に記載の管理方法をコンピュータが実行するための、
プログラム。
発明の詳細な説明
【技術分野】
【0001】
本発明は、管理装置、管理方法、および、プログラムに関する。
続きを表示(約 1,500 文字)
【背景技術】
【0002】
特許文献1には、複数の生産装置によって構成される生産ラインが開示されている。この生産ラインには、生産ラインと通信可能な統合制御装置が接続されている。統合制御装置は、複数の生産装置の複数の異なる異常を含む生産状態を示す情報を取得したとき、異常に対処する処理作業が実行されるべき生産装置を示す情報を各生産装置が備える各表示装置に表示する。
【先行技術文献】
【特許文献】
【0003】
特開2012-145997号公報
【発明の概要】
【発明が解決しようとする課題】
【0004】
上記特許文献1の統合制御装置は、例えば、生産性の低下によって生産装置の異常を判定している。しかしながら、統合制御装置は、生産コストについては考慮せずに異常を判定している。そのため、統合制御装置は、例えば、高価な部品でエラーが発生している場合と、安価な部品でエラーが発生している場合とで、生産コストに係る問題の大小を判定することはできない。そのため、生産性だけで一律に異常を判定すると、その異常への対策のために生産コストが増大するおそれがある。そこで、生産ラインの生産状態を改善するために、生産コストに関する問題を検出できることが望まれている。
【0005】
本発明は、生産ラインにおける生産コストに関する問題を検出できる管理装置などを提供する。
【課題を解決するための手段】
【0006】
本発明の一態様に係る管理装置は、基板に部品を実装することにより回路基板を生産する生産ラインにおける生産状態を監視する監視部と、前記回路基板を生産するときに要求される第1生産コストを設定する設定部と、前記生産状態に基づく第2生産コストを前記第1生産コストと比較することによって、生産コストに関する問題を検出する問題検出部と、を備える。
【0007】
本発明の一態様に係る管理方法は、基板に部品を実装することにより回路基板を生産する生産ラインにおける生産状態を監視し、前記回路基板を生産するときに要求される第1生産コストを設定し、前記生産状態に基づく第2生産コストを前記第1生産コストと比較することによって、生産コストに関する問題を検出する。
【0008】
本発明の一態様に係るプログラムは、上記記載の管理方法をコンピュータが実行するためのプログラムである。
【発明の効果】
【0009】
本発明によれば、生産ラインにおける生産コストに関する問題を検出できる管理装置などを提供できる。
【図面の簡単な説明】
【0010】
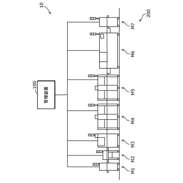
図1は、実施の形態に係る実装システムの概略構成を示す図である。
図2は、実施の形態に係る実装システムを示すブロック図である。
図3は、実施の形態に係る生産性と生産コストとを説明するための図である。
図4は、実施の形態に係る生産性と生産コストとを説明するための図である。
図5は、実施の形態に係る生産性と生産コストとを説明するための図である。
図6は、実施の形態に係る生産性を説明するための図である。
図7は、実施の形態に係る実装システムの処理手順を示すシーケンス図である。
図8は、実施の形態に係る管理装置が実行する問題検出処理の具体例を示すフローチャートである。
図9は、実施の形態に係る管理方法を示すフローチャートである。
【発明を実施するための形態】
(【0011】以降は省略されています)
この特許をJ-PlatPat(特許庁公式サイト)で参照する
関連特許
株式会社コロナ
電気機器
3か月前
個人
電子部品の実装方法
9日前
個人
非衝突型ガウス加速器
1か月前
愛知電機株式会社
装柱金具
1日前
日本精機株式会社
回路基板
1か月前
キヤノン株式会社
電子機器
23日前
日本放送協会
基板固定装置
29日前
アイホン株式会社
電気機器
1か月前
アイホン株式会社
電気機器
23日前
個人
節電材料
2か月前
イビデン株式会社
配線基板
2日前
キヤノン株式会社
電子機器
3か月前
メクテック株式会社
配線基板
1か月前
メクテック株式会社
配線基板
3か月前
マクセル株式会社
配列用マスク
2か月前
東レ株式会社
霧化状活性液体供給装置
1か月前
株式会社デンソー
電子装置
2日前
イビデン株式会社
プリント配線板
2か月前
イビデン株式会社
配線基板
1か月前
イビデン株式会社
プリント配線板
29日前
イビデン株式会社
プリント配線板
3か月前
イビデン株式会社
配線基板
1か月前
トキコーポレーション株式会社
照明器具
3か月前
株式会社レクザム
剥離装置
1日前
イビデン株式会社
プリント配線板
3か月前
FDK株式会社
基板
8日前
サクサ株式会社
筐体の壁掛け構造
1か月前
富士フイルム株式会社
積層体
2日前
新電元工業株式会社
電子装置
23日前
メクテック株式会社
伸縮性配線基板
3か月前
日産自動車株式会社
電子部品
21日前
新電元工業株式会社
充電装置
3か月前
株式会社レゾナック
冷却装置
8日前
メクテック株式会社
配線モジュール
3か月前
カシン工業株式会社
PTC発熱装置
2か月前
株式会社電気印刷研究所
金属画像形成方法
3か月前
続きを見る
他の特許を見る