TOP
|
特許
|
意匠
|
商標
特許ウォッチ
Twitter
他の特許を見る
10個以上の画像は省略されています。
公開番号
2025139167
公報種別
公開特許公報(A)
公開日
2025-09-26
出願番号
2024037964
出願日
2024-03-12
発明の名称
防水構造
出願人
新電元工業株式会社
代理人
個人
,
個人
,
個人
,
個人
主分類
H05K
5/06 20060101AFI20250918BHJP(他に分類されない電気技術)
要約
【課題】電子機器等の筐体に対するケーブル接続部の防水性を向上可能とする。
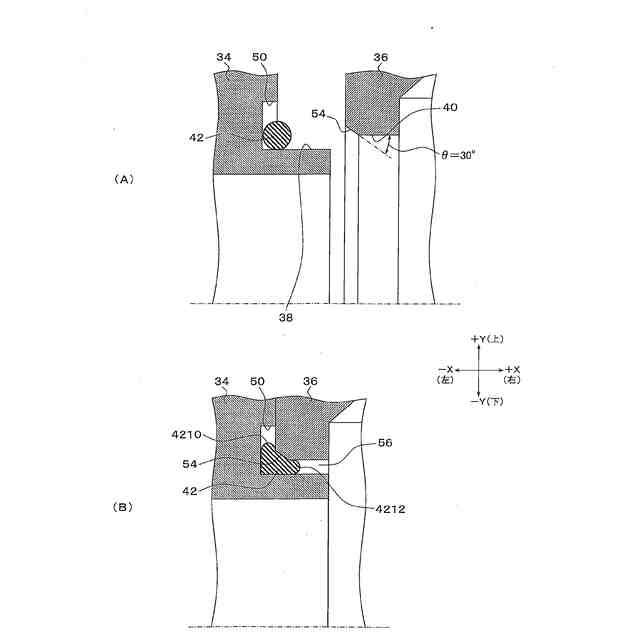
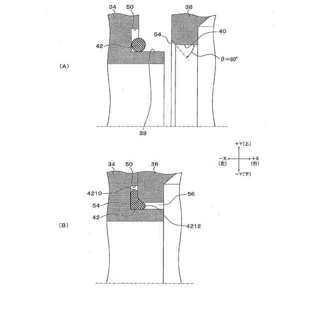
【解決手段】電子機器の防水構造は、第1アダプタ部材34の外周段部38と第2アダプタ部材36の内周段部の間にOリング42が配置される。第1アダプタ部材34と第2アダプタ部材36を軸方向で締め付け固定した場合に、外周段部38と内周段部との間に形成される軸方向の隙間と径方向の隙間の各々に、Oリング42の押圧変形された径方向変形部4210と軸方向変形部4212が圧入されて密閉させる弾性リング押圧構造とする。弾性リング押圧構造は、外周段部38の当接面にOリング42の一部を収納する環状溝が形成され、Oリング42を押圧して径方向に変形した部分を圧入する径方向の隙間d1を形成し、また、外周段部38と内周段部の間にOリング42を押圧して軸方向に変形した部分を圧入する軸方向の隙間d2が形成される。
【選択図】図6
特許請求の範囲
【請求項1】
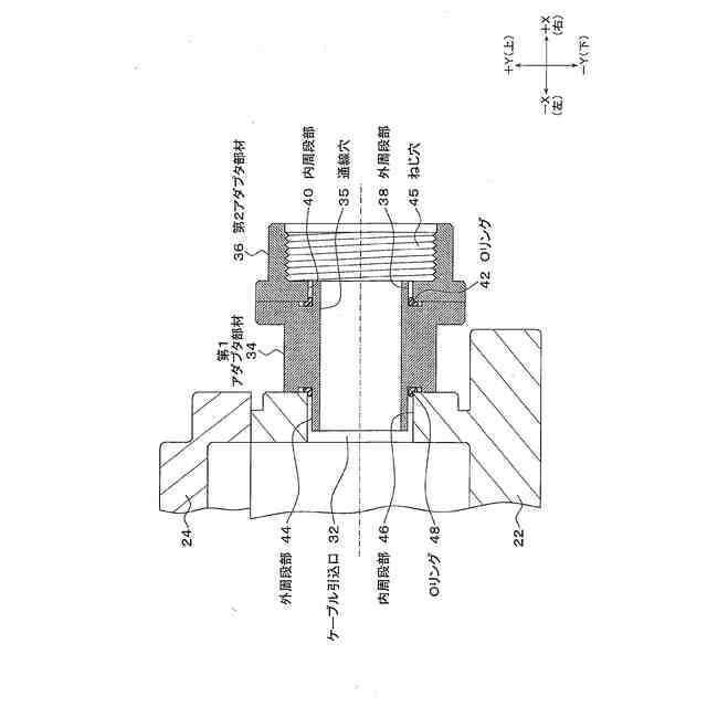
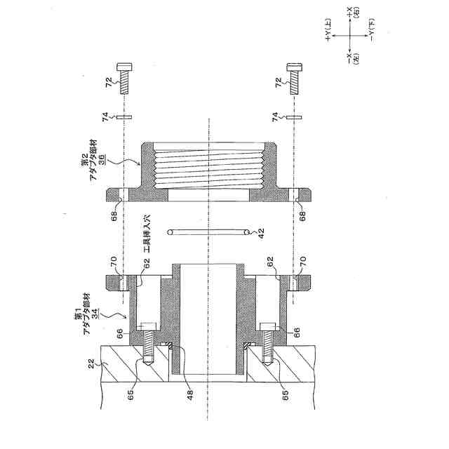
機器筐体側に設けられ、通線穴を備えた外周段部を有する円筒状の第1部材と、
前記外周段部の外側に嵌め込み配置され通線穴を備えた内周段部を有する円筒状の第2部材と、
前記第1部材の外周段部と前記第2部材の内周段部の間に配置される弾性リングと、
を備えた防水構造であって、
前記第1部材と前記第2部材を軸方向で締め付け固定した場合に、前記外周段部と前記内周段部との間に形成される径方向の隙間と軸方向の隙間の各々に、前記弾性リングの押圧変形された部分が圧入されて密閉させる弾性リング押圧構造を備えたことを特徴とする防水構造。
続きを表示(約 960 文字)
【請求項2】
請求項1記載の防水構造であって、
前記弾性リング押圧構造は、
前記外周段部の当接面に、前記弾性リングの一部を収納する環状溝が形成されたことを特徴とする防水構造。
【請求項3】
請求項2記載の防水構造であって、
前記環状溝の深さ(d1)を、前記弾性リングの断面外径より小さい所定の深さにしたことを特徴とする防水構造。
【請求項4】
請求項2記載の防水構造であって、
前記環状溝の深さ(d1)を、前記弾性リングの断面外径の半分又は略半分の深さとしたことを特徴とする防水構造。
【請求項5】
請求項1記載の防水構造であって、
前記弾性リング押圧構造は、
前記外周段部の外径面と前記内周段部の内径面との間隔(d2)を、前記内周段部のコーナーエッジ部が、前記外径段部に配置された前記弾性リングの押圧側周面の所定位置に当接する間隔としたことを特徴とする防水構造。
【請求項6】
請求項1記載の防水構造であって、
前記弾性リング押圧構造は、
前記外周段部の外径面と前記内周段部の内径面との間隔(d2)を、前記内周段部のコーナーエッジ部が、前記外径段部に配置された前記弾性リングの押圧側周面の中心位置に当接するように、前記弾性リングの断面外径の半分又は略半分の間隔としたことを特徴とする防水構造。
【請求項7】
請求項2記載の防水構造であって、
前記内周段部のコーナーエッジ部に、面取りにより所定角度(θ)の微小なテーパー押圧面が形成されたことを特徴とする防水構造。
【請求項8】
請求項7記載の防水構造であって、
前記テーパー押圧面の角度(θ)を、30°乃至60°の範囲内の所定角度としたことを特徴とする防水構造。
【請求項9】
請求項7記載の防水構造であって、
前記テーパー押圧面の角度(θ)を45°としたことを特徴とする防水構造。
【請求項10】
請求項2記載の防水構造であって、
前記内周段部のコーナーエッジ部に、アール取りにより微小なアール押圧面が形成されたことを特徴とする防水構造。
発明の詳細な説明
【技術分野】
【0001】
本発明は、電子回路を収納した筐体にケーブルを接続する電子機器等の防水構造に関する。
続きを表示(約 1,600 文字)
【背景技術】
【0002】
従来、筐体に収納された電子回路にコネクタやケーブルグランド等により外部からケーブルを引き込んで接続する場合、筐体のケーブル引込口とコネクタやケーブルグランドとの間にOリングを用いた防水構造が設けられる。
【0003】
図11は従来の防水構造の一例であり、防水構造は筐体側の第1部材100とケーブル接続側の第2部材102で構成され、第1部材100には通線穴を有する外周段部104が設けられ、第2部材102には通線穴を有する内周段部106が設けられ、外周段部104と内周段部106の間にはOリング108が配置され、第1部材100に第2部材102を軸方向で締付け固定することで、Oリング108を密着させた防水構造としている(特許文献1,2)。
【0004】
ここで、図11の説明では、X-Y-Z方向が互いに直交する方向であり、具体的には、第1部材100と第2部材102の一面を正面に見て、X方向を左右方向とし、Y方向を上下方向とし、Z方向(図11では図示なし)を前後方向とする。また、X方向における+X側を右側、-X側を左側とし、Y方向における+Y側を上側、-Y側を下側とし、Z方向における+Z側を前側、-Z側を後側とする。この点は従来技術を示した図12及び本発明の実施形態となる図1~図10においても同様となる。尚、X-Y-Z方向は電子機器の任意の一面を正面とした場合に相対的に決まる方向であり、実空間における方向と必ずしも一致するものではない。
【0005】
図12は従来の防水構造の他の例であり、第2部材102の内周段部106のコーナーエッジ部に45°のテーパー面110を形成し、第1部材100に第2部材102を軸方向(左右方向)で締付け固定することで、テーパー面110でOリング108を外周段部104に押し付けて密着させた防水構造としている(特許文献3)。
【先行技術文献】
【特許文献】
【0006】
特開2008-060442号公報
特開2020-272561号公報
特開2018-148089号公報
【発明の概要】
【発明が解決しようとする課題】
【0007】
しかしながら、図11に示した従来の防水構造にあっては、第1部材100に第2部材102を締め付け固定した場合のOリング108の変形による接触面は2面であり、また図12に示したテーパー面110を設けた防水構造にあっては、Oリング108の変形による接触面は3面であり、変形したOリングには接触していない部分が残ることから、軸方向及び径方向の隙間の密閉性に限界がある。
【0008】
本発明は、電子機器の筐体に対するケーブル接続部の防水性を向上可能とする防水構造を提供することを目的とする。
【課題を解決するための手段】
【0009】
(防水構造)
本発明は、機器筐体側に設けられ、通線穴を備えた外周段部を有する円筒状の第1部材と、
外周段部の外側に嵌め込み配置され、通線穴を備えた内周段部を有する円筒状の第2部材と、
第1部材の外周段部と第2部材の内周段部の間に配置される弾性リングと、
を備えた防水構造であって、
第1部材と第2部材を軸方向で締め付け固定した場合に、外周段部と内周段部との間に形成される径方向の隙間と軸方向の隙間の各々に、弾性リングの押圧変形された部分を圧入して密閉させる弾性リング押圧構造を備えたことを特徴とする。
【0010】
(弾性リング押圧構造)
弾性リング押圧構造は、
外周段部の当接面に、弾性リングの一部を収納する環状溝が形成される。
(【0011】以降は省略されています)
この特許をJ-PlatPat(特許庁公式サイト)で参照する
関連特許
新電元工業株式会社
充電器
7日前
新電元工業株式会社
防水構造
7日前
新電元工業株式会社
電子装置
16日前
新電元工業株式会社
電子装置
25日前
新電元工業株式会社
コイル装置
1日前
新電元工業株式会社
半導体回路
8日前
新電元工業株式会社
巻線用ボビン及びコイル部品
8日前
新電元工業株式会社
チョークコイル、ボビン及びコイル
23日前
トヨタ自動車株式会社
非接触充電装置
8日前
トヨタ自動車株式会社
非接触充電制御装置
14日前
新電元工業株式会社
チョークコイル、コイル用ケース及びコイル
23日前
新電元工業株式会社
絶縁型電力変換システム及び制御プログラム
1か月前
新電元工業株式会社
電気車両用充電装置及び充電ケーブル支持構造
16日前
新電元工業株式会社
半導体装置、端子部品及び半導体装置の製造方法
22日前
株式会社コロナ
電気機器
2か月前
個人
電子部品の実装方法
2日前
日本精機株式会社
回路基板
24日前
個人
非衝突型ガウス加速器
1か月前
株式会社遠藤照明
照明装置
3か月前
日本精機株式会社
回路基板
3か月前
アイホン株式会社
電気機器
16日前
キヤノン株式会社
電子機器
3か月前
キヤノン株式会社
電子機器
16日前
日本放送協会
基板固定装置
22日前
アイホン株式会社
電気機器
1か月前
個人
節電材料
1か月前
メクテック株式会社
配線基板
1か月前
メクテック株式会社
配線基板
3か月前
東レ株式会社
霧化状活性液体供給装置
1か月前
マクセル株式会社
配列用マスク
2か月前
サクサ株式会社
筐体の壁掛け構造
1か月前
FDK株式会社
基板
1日前
イビデン株式会社
プリント配線板
22日前
イビデン株式会社
配線基板
1か月前
イビデン株式会社
プリント配線板
2か月前
トキコーポレーション株式会社
照明器具
2か月前
続きを見る
他の特許を見る