TOP
|
特許
|
意匠
|
商標
特許ウォッチ
Twitter
他の特許を見る
10個以上の画像は省略されています。
公開番号
2025142589
公報種別
公開特許公報(A)
公開日
2025-10-01
出願番号
2024042037
出願日
2024-03-18
発明の名称
照明装置
出願人
カーボントレードネオ株式会社
代理人
弁理士法人磯野国際特許商標事務所
主分類
H05H
1/24 20060101AFI20250924BHJP(他に分類されない電気技術)
要約
【課題】照明装置に簡便な構造のプラズマ処理装置を組み込むことで、照明装置として機能するだけでなく、周辺の空気を殺菌または消臭することを可能とする照明装置を提供する。
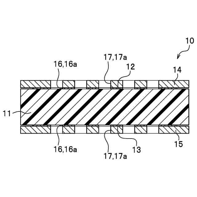
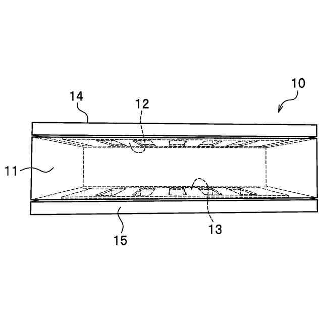
【解決手段】照明素子23と、前記照明素子23を保護する照明素子カバー22と、誘電体層11及び当該誘電体層11の両側に設けられた一対の電極層12、13を有し、プラズマを発生させるプラズマ生成部50と、一対の前記電極層に交流電圧を印加する電源部と、を有する照明装置30であって、前記プラズマ生成部50が前記照明素子カバー22上に設置されていることを特徴とする照明装置30。
【選択図】図10
特許請求の範囲
【請求項1】
照明素子と、
前記照明素子を保護する照明素子カバーと、
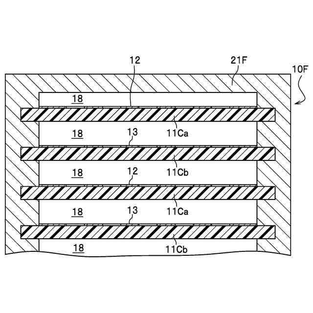
誘電体層及び当該誘電体層の両側に設けられた一対の電極層を有し、プラズマを発生させるプラズマ生成部と、
一対の前記電極層に交流電圧を印加する電源部と、を有する照明装置であって、
前記プラズマ生成部が前記照明素子カバー上に設置されていることを特徴とする照明装置。
続きを表示(約 270 文字)
【請求項2】
前記電極層が厚さ方向に貫通する貫通孔を有していることを特徴とする請求項1に記載の照明装置。
【請求項3】
前記プラズマ生成部が可撓性を有していることを特徴とする請求項1または請求項2に記載の照明装置。
【請求項4】
前記プラズマ生成部が一対の前記電極層の少なくとも一方の外側にマスク層を有していることを特徴とする請求項1または請求項2に記載の照明装置。
【請求項5】
前記プラズマ生成部が透明性を有していることを特徴とする請求項1または請求項2に記載の照明装置。
発明の詳細な説明
【技術分野】
【0001】
本発明は、周辺の空気をプラズマ処理することが可能なプラズマ処理装置を備えた照明装置に関する。
続きを表示(約 2,100 文字)
【背景技術】
【0002】
近年、新型コロナウィルスのパンデミック感染という事態が発生したため、世界的にウィルスや細菌に対する防御手段についての関心が非常に高まっている。そのような背景の中にあって、ウィルスや細菌に対する新たな防御手段の一つとしてプラズマ処理という方法が開発されつつある。プラズマ処理技術に関しては、誘電体バリア放電(Dielectric Barrier Discharge、DBD)という手法が近年開発されて、大気圧下で低温度のプラズマを発生させることが可能となった。
【0003】
空気等の酸素や水分を含有するガスは、プラズマ処理されることによって、一重項酸素、過酸化水素、OHラジカル、ペルオキシドラジカル、オゾン等の活性種(Reactive Species、ROS)を生成させる。これらの活性種は、酸化反応等によって、微生物を分解したり、死滅させたり、不活化させたりすることができる。微生物としては、各種のウィルス、細菌、カビなどが挙げられる。また、活性種は、酸化反応等によって、化学物質を分解することができる。そのため、プラズマ処理は、殺菌だけでなく、消臭といった用途にも用いることができる。
【0004】
空気を流動させつつ連続的にプラズマ処理するために、種々のプラズマ処理装置が開発されている。例えば、特許文献1には、平板状の第1電極と第2電極とが間隙を隔てて対向するように設けられたプラズマ生成部が2以上積層配置されたプラズマ発生装置が開示されている。また、特許文献2には、放電電極の少なくとも一部が誘電体で覆われた電極部材を厚さ方向に並べて配置した構造を有し、隣接する前記電極部材間の隙間にプラズマを発生させる構造を有するプラズマ発生器と、電圧を印加する電源と、前記隙間に空気を流すとともに発生したオゾンを空気とともに放出する送風手段とを備えた空気清浄器が開示されている。
【先行技術文献】
【特許文献】
【0005】
特開2022-190472号公報
特開2018-130208号公報
【発明の概要】
【発明が解決しようとする課題】
【0006】
特許文献1に記載のプラズマ発生装置も、特許文献2に記載の空気清浄器も、空気をプラズマ処理するために、多数の電極層、誘電体層、空隙層を厚さ方向に繰り返し積層させた構造を有している。また、空隙層の薄い空間に空気を強制的に通過させることを必要とするものであった。すなわち、いずれの装置も、照明装置に取り付けて、周辺の空気をプラズマ処理することが可能となるような簡便な構造を有するものではなかった。
【0007】
日常生活において、生活環境の種々の場面において、殺菌や消臭といった機能が求められている。そのため、日常的に使用する、例えば、照明器具といった製品に対して、プラズマ処理装置を組み込むことができれば、非常に有用である。ここで、「殺菌」とは、微生物を消滅させる場合だけでなく、微生物の働きを停止や低下させる「不活化」という場合も含む広い意味で用いている(以下同じ。)。
【0008】
本発明は、上記のような状況に鑑みてなされたものである。すなわち、本発明は、照明装置に簡便な構造のプラズマ処理装置を組み込むことで、照明装置として機能するだけでなく、周辺の空気を殺菌または消臭することを可能とする照明装置を提供することを課題としている。
【課題を解決するための手段】
【0009】
前記した課題を解決するために、本発明は、以下のような構成を有している。
(1)照明素子と、前記照明素子を保護する照明素子カバーと、誘電体層及び当該誘電体層の両側に設けられた一対の電極層を有し、プラズマを発生させるプラズマ生成部と、一対の前記電極層に交流電圧を印加する電源部と、を有する照明装置であって、前記プラズマ生成部が前記照明素子カバー上に設置されていることを特徴とする照明装置。
(2)前記電極層が厚さ方向に貫通する貫通孔を有していることを特徴とする前記(1)に記載の照明装置。
(3)前記プラズマ生成部が可撓性を有していることを特徴とする前記(1)または前記(2)に記載の照明装置。
(4)前記プラズマ生成部が一対の前記電極層の少なくとも一方の外側にマスク層を有していることを特徴とする前記(1)または前記(2)に記載の照明装置。
(5)前記プラズマ生成部が透明性を有していることを特徴とする前記(1)または前記(2)に記載の照明装置。
【発明の効果】
【0010】
本発明の照明装置は、照明装置に簡便な構造のプラズマ処理装置を組み込むことで、照明装置として機能するだけでなく、周辺の空気を殺菌または消臭することを可能とするものである。
【図面の簡単な説明】
(【0011】以降は省略されています)
この特許をJ-PlatPat(特許庁公式サイト)で参照する
関連特許
個人
電子部品の実装方法
9日前
株式会社コロナ
電気機器
3か月前
個人
非衝突型ガウス加速器
1か月前
日本精機株式会社
回路基板
1か月前
愛知電機株式会社
装柱金具
1日前
アイホン株式会社
電気機器
1か月前
イビデン株式会社
配線基板
2日前
キヤノン株式会社
電子機器
3か月前
アイホン株式会社
電気機器
23日前
個人
節電材料
2か月前
キヤノン株式会社
電子機器
23日前
日本放送協会
基板固定装置
29日前
メクテック株式会社
配線基板
1か月前
メクテック株式会社
配線基板
3か月前
東レ株式会社
霧化状活性液体供給装置
1か月前
マクセル株式会社
配列用マスク
2か月前
株式会社レクザム
剥離装置
1日前
株式会社デンソー
電子装置
2日前
サクサ株式会社
筐体の壁掛け構造
1か月前
トキコーポレーション株式会社
照明器具
3か月前
イビデン株式会社
プリント配線板
3か月前
イビデン株式会社
プリント配線板
2か月前
イビデン株式会社
配線基板
1か月前
FDK株式会社
基板
8日前
イビデン株式会社
プリント配線板
29日前
イビデン株式会社
配線基板
1か月前
イビデン株式会社
プリント配線板
3か月前
サクサ株式会社
開き角度規制構造
今日
日産自動車株式会社
電子部品
21日前
株式会社電気印刷研究所
金属画像形成方法
3か月前
株式会社電気印刷研究所
金属画像形成方法
3か月前
日産自動車株式会社
電子機器
2か月前
新電元工業株式会社
電子装置
23日前
メクテック株式会社
配線モジュール
3か月前
オムロン株式会社
端子折り曲げ治具
11日前
カシン工業株式会社
PTC発熱装置
2か月前
続きを見る
他の特許を見る