TOP
|
特許
|
意匠
|
商標
特許ウォッチ
Twitter
他の特許を見る
10個以上の画像は省略されています。
公開番号
2025144618
公報種別
公開特許公報(A)
公開日
2025-10-03
出願番号
2024044346
出願日
2024-03-21
発明の名称
コネクタおよびワイヤハーネス
出願人
矢崎総業株式会社
代理人
弁理士法人虎ノ門知的財産事務所
主分類
H01R
13/42 20060101AFI20250926BHJP(基本的電気素子)
要約
【課題】端子ホルダの共用化を図ることができるコネクタおよびワイヤハーネスを提供することを目的とする。
【解決手段】コネクタ10は、雌端子11および雄端子21のうち一方の端子を保持する端子ホルダ13を備え、端子ホルダ13は、筒状部13aと、筒状部13aの軸線方向Xの一端部に設けられ、軸線方向Xに沿って延在する切欠部13d、13eと、筒状部13aの軸線方向Xの一端部に設けられ、当該一端部から筒状部13aの径方向内方に向けて突出し、軸線方向Xの一端面13i1が一方の端子の外周面に形成されたフランジ部11a1、21a1と係止される係止部13iと、を含んで構成されると共に、係止部13iの内径D1よりも小さな第1外径D2の外周面を有した雌端子11と、内径D1よりも大きな第2外径D3の外周面を有した雄端子21と、で共用可能に構成される。
【選択図】図15
特許請求の範囲
【請求項1】
軸線方向に沿って延在する雌端子および雄端子のうち一方の端子と、
前記一方の端子を保持する端子ホルダと、
前記一方の端子および前記端子ホルダを内部に収容するハウジングと、を備え、
前記端子ホルダは、
内部に前記一方の端子が前記軸線方向に沿って挿入される端子挿入孔が設けられた筒状部と、
前記筒状部の前記軸線方向の一端部に設けられ、前記軸線方向に沿って延在する切欠部と、
前記筒状部の前記軸線方向の前記一端部に設けられ、当該一端部から前記筒状部の径方向内方に向けて突出し、前記軸線方向の一端面が前記一方の端子の外周面に形成されたフランジ部と係止される係止部と、を含んで構成されると共に、
前記係止部の内径よりも小さな第1外径の前記外周面を有した前記雌端子と、前記内径よりも大きな第2外径の前記外周面を有した前記雄端子と、で共用可能に構成される、
コネクタ。
続きを表示(約 1,000 文字)
【請求項2】
前記切欠部は、
前記筒状部の前記軸線方向の前記一端部における前記軸線方向と交差する高さ方向の中央部よりも一端部側の第1領域に設けられ、前記軸線方向に沿って延在する第1切欠部と、
前記筒状部の前記軸線方向の前記一端部における前記高さ方向の前記中央部よりも他端部側の第2領域に設けられ、前記軸線方向に沿って延在しかつ前記第1切欠部よりも前記軸線方向に沿った長さが長い第2切欠部と、を含んで構成され、
前記端子ホルダは、
前記筒状部の前記軸線方向の前記一端部に設けられ、前記第1領域から前記筒状部の径方向内方に向けて突出すると共に前記係止部と前記軸線方向に沿って離間して位置され、前記軸線方向の他端面が前記フランジ部と係止されるストッパ部と、
前記第1切欠部の前記軸線方向および前記高さ方向と交差する幅方向の両端部に設けられ、当該両端部から前記筒状部の径方向外方に向けて突出し、前記ハウジングの内部に形成されたランス部と位置合わせされる一対の位置決めリブと、を含んで構成される、
請求項1に記載のコネクタ。
【請求項3】
前記一対の位置決めリブは、前記軸線方向に沿って延在し、前記ストッパ部と接続される、
請求項2に記載のコネクタ。
【請求項4】
導電性を有する配索材と、
前記配索材の端末に設けられるコネクタと、を備え、
前記コネクタは、
軸線方向に沿って延在する雌端子および雄端子のうち一方の端子と、
前記一方の端子を保持する端子ホルダと、
前記一方の端子および前記端子ホルダを内部に収容するハウジングと、を有し、
前記端子ホルダは、
内部に前記一方の端子が前記軸線方向に沿って挿入される端子挿入孔が設けられた筒状部と、
前記筒状部の前記軸線方向の一端部に設けられ、前記軸線方向に沿って延在する切欠部と、
前記筒状部の前記軸線方向の前記一端部に設けられ、当該一端部から前記筒状部の径方向内方に向けて突出し、前記軸線方向の一端面が前記一方の端子の外周面に形成されたフランジ部と係止される係止部と、を含んで構成されると共に、
前記係止部の内径よりも小さな第1外径の前記外周面を有した前記雌端子と、前記内径よりも大きな第2外径の前記外周面を有した前記雄端子と、で共用可能に構成される、
ワイヤハーネス。
発明の詳細な説明
【技術分野】
【0001】
本発明は、コネクタおよびワイヤハーネスに関する。
続きを表示(約 3,100 文字)
【背景技術】
【0002】
従来のワイヤハーネスのコネクタに関する技術として、例えば、特許文献1には、雌端子および雄端子のうち一方の端子と、一方の端子を保持する端子ホルダと、一方の端子および端子ホルダを内部に収容するハウジングと、を備えたコネクタが開示されている。端子ホルダには、軸線方向に沿って延在する複数の切欠部が設けられている。
【先行技術文献】
【特許文献】
【0003】
特開2022-72046号公報
【発明の概要】
【発明が解決しようとする課題】
【0004】
ところで、上述した特許文献1に記載のコネクタでは、例えば、直径が異なる雌端子と雄端子とにおける端子ホルダの共用化の点で更なる改善の余地があった。
【0005】
本発明は、上記の事情に鑑みてなされたものであって、端子ホルダの共用化を図ることができるコネクタおよびワイヤハーネスを提供することを目的とする。
【課題を解決するための手段】
【0006】
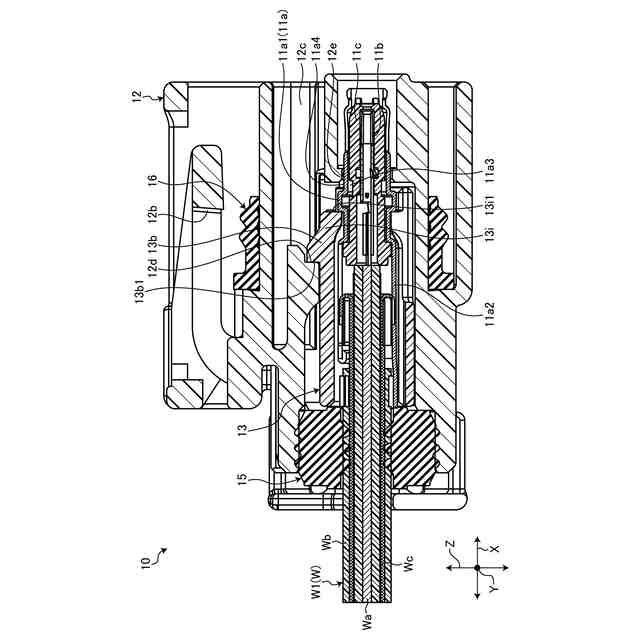
上記目的を達成するために、本発明に係るコネクタは、軸線方向に沿って延在する雌端子および雄端子のうち一方の端子と、前記一方の端子を保持する端子ホルダと、前記一方の端子および前記端子ホルダを内部に収容するハウジングと、を備え、前記端子ホルダは、内部に前記一方の端子が前記軸線方向に沿って挿入される端子挿入孔が設けられた筒状部と、前記筒状部の前記軸線方向の一端部に設けられ、前記軸線方向に沿って延在する切欠部と、前記筒状部の前記軸線方向の前記一端部に設けられ、当該一端部から前記筒状部の径方向内方に向けて突出し、前記軸線方向の一端面が前記一方の端子の外周面に形成されたフランジ部と係止される係止部と、を含んで構成されると共に、前記係止部の内径よりも小さな第1外径の前記外周面を有した前記雌端子と、前記内径よりも大きな第2外径の前記外周面を有した前記雄端子と、で共用可能に構成される。
【発明の効果】
【0007】
本発明に係るコネクタおよびワイヤハーネスでは、端子ホルダは、筒状部の軸線方向の一端部に設けられ、軸線方向に沿って延在する切欠部と、筒状部の軸線方向の一端部に設けられ、当該一端部から筒状部の径方向内方に向けて突出し、軸線方向の一端面が一方の端子の外周面に形成されたフランジ部と係止される係止部と、を含んで構成される。この構成により、コネクタおよびワイヤハーネスは、例えば、互いに異なる外径の雌端子および雄端子でも、筒状部の端子挿入孔への挿入に伴ってフランジ部が係止部の軸線方向の他端面と接触することで、切欠部が作用して係止部が径方向外方に向けて撓み、フランジ部と係止部の軸線方向の一端面とが係止される係止位置に挿入することができる。この結果、コネクタおよびワイヤハーネスは、端子ホルダの共用化を図ることができる、という効果を奏する。
【図面の簡単な説明】
【0008】
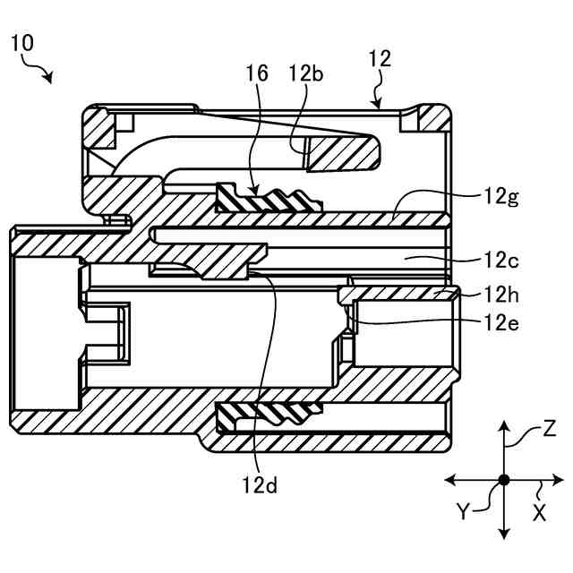
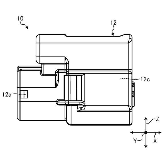
図1は、実施形態に係るコネクタユニットの例示的な分解斜視図である。
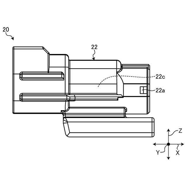
図2は、実施形態に係るコネクタユニットの相手側コネクタの例示的な分解斜視図である。
図3は、実施形態に係るコネクタユニットのコネクタの例示的な分解斜視図である。
図4は、実施形態に係るコネクタの例示的な側面図である。
図5は、実施形態に係るコネクタの例示的な断面図である。
図6は、実施形態に係る相手側コネクタの例示的な側面図である。
図7は、実施形態に係る相手側コネクタの例示的な断面図である。
図8は、実施形態に係るコネクタの端子ホルダの例示的な斜視図である。
図9は、実施形態に係る相手側コネクタの端子ホルダの例示的な斜視図である。
図10は、実施形態に端子ホルダの例示的な断面図である。
図11は、実施形態に係るコネクタの雌端子の例示的な斜視図である。
図12は、実施形態に係るコネクタの雌端子の例示的な分解斜視図である。
図13は、実施形態に係る相手側コネクタの雄端子の例示的な斜視図である。
図14は、実施形態に係る相手側コネクタの例示的な断面図である。
図15は、実施形態に係るコネクタの例示的な断面図である。
図16は、実施形態に係るコネクタの雌端子および端子ホルダの例示的な側面図である。
図17は、実施形態に係るコネクタの雌端子および端子ホルダの例示的な正面図である。
図18は、実施形態に係るコネクタの雌端子および端子ホルダの例示的な断面図であって、端子ホルダの第1挿入工程を示した図である。
図19は、実施形態に係るコネクタの雌端子および端子ホルダの例示的な断面図であって、端子ホルダの第2挿入工程を示した図である。
図20は、実施形態に係るコネクタの雌端子および端子ホルダの例示的な断面図であって、端子ホルダの第3挿入工程を示した図である。
図21は、実施形態に係るコネクタの雌端子および端子ホルダの例示的な断面図であって、端子ホルダの第4挿入工程を示した図である。
図22は、実施形態に係る相手側コネクタの雄端子および端子ホルダの例示的な側面図である。
図23は、実施形態に係る相手側コネクタの雄端子および端子ホルダの例示的な側面図である。
図24は、実施形態に係る相手側コネクタの雄端子および端子ホルダの例示的な断面図であって、端子ホルダの第1挿入工程を示した図である。
図25は、実施形態に係る相手側コネクタの雄端子および端子ホルダの例示的な断面図であって、端子ホルダの第2挿入工程を示した図である。
図26は、実施形態に係る相手側コネクタの雄端子および端子ホルダの例示的な断面図であって、端子ホルダの第3挿入工程を示した図である。
【発明を実施するための形態】
【0009】
以下、本発明に係る実施形態を図面に基づいて詳細に説明する。なお、下記実施形態によりこの発明が限定されるものではない。また、下記実施形態における構成要素には、当業者が置換可能かつ容易なもの、あるいは実質的に同一のものが含まれる。なお、本明細書では、序数は、部品や、部材、部位、位置、方向等を区別するためだけに用いられており、順番や優先度を示すものではない。
【0010】
[実施形態]
図1は、実施形態に係るコネクタユニット1の分解斜視図である。図1に示される本実施形態のコネクタユニット1は、自動車等の車両に配索されるワイヤハーネスWHに組み込まれるものである。ここで、ワイヤハーネスWHは、例えば、車両に搭載される各機器間の接続のために、電源供給や信号通信に用いられる配索材Wを束にして集合部品とし、コネクタ等で配索材Wを各機器に接続するようにしたものである。本実施形態のワイヤハーネスWHは、例えば、導電性を有する複数の配索材Wと、複数の配索材Wのうち第1シールド電線W1の端末に設けられるコネクタ10と、複数の配索材Wのうち第2シールド電線W2の端末に設けられ、コネクタ10と電気的かつ機械的に接続される相手側コネクタ20と、を備えている。なお、ワイヤハーネスWHは、この他、さらに、グロメットや、固定具など種々の構成部品を含んで構成されてもよい。
(【0011】以降は省略されています)
この特許をJ-PlatPat(特許庁公式サイト)で参照する
関連特許
矢崎総業株式会社
照明灯
1か月前
矢崎総業株式会社
箱状体
3日前
矢崎総業株式会社
箱状体
3日前
矢崎総業株式会社
コネクタ
1日前
矢崎総業株式会社
コネクタ
10日前
矢崎総業株式会社
コネクタ
10日前
矢崎総業株式会社
コネクタ
12日前
矢崎総業株式会社
コネクタ
15日前
矢崎総業株式会社
コネクタ
2日前
矢崎総業株式会社
コネクタ
22日前
矢崎総業株式会社
コネクタ
24日前
矢崎総業株式会社
コネクタ
24日前
矢崎総業株式会社
コネクタ
1か月前
矢崎総業株式会社
照明構造
8日前
矢崎総業株式会社
コネクタ
1か月前
矢崎総業株式会社
コネクタ
1か月前
矢崎総業株式会社
コネクタ
1か月前
矢崎総業株式会社
コネクタ
1か月前
矢崎総業株式会社
コネクタ
1か月前
矢崎総業株式会社
コネクタ
1か月前
矢崎総業株式会社
コネクタ
1か月前
矢崎総業株式会社
止水部材
8日前
矢崎総業株式会社
コネクタ
16日前
矢崎総業株式会社
コネクタ
4日前
矢崎総業株式会社
コネクタ
8日前
矢崎総業株式会社
コネクタ
3日前
矢崎総業株式会社
コネクタ
3日前
矢崎総業株式会社
コネクタ
4日前
矢崎総業株式会社
コネクタ
8日前
矢崎総業株式会社
コネクタ
4日前
矢崎総業株式会社
プロテクタ
8日前
矢崎総業株式会社
電気接続箱
1か月前
矢崎総業株式会社
カバー構造
1か月前
矢崎総業株式会社
電流センサ
1か月前
矢崎総業株式会社
電流センサ
1か月前
矢崎総業株式会社
電気接続箱
3日前
続きを見る
他の特許を見る