TOP
|
特許
|
意匠
|
商標
特許ウォッチ
Twitter
他の特許を見る
公開番号
2025147472
公報種別
公開特許公報(A)
公開日
2025-10-07
出願番号
2024047731
出願日
2024-03-25
発明の名称
加締型、端子付き電線の製造方法、及び、端子付き電線
出願人
矢崎総業株式会社
代理人
個人
,
個人
,
個人
主分類
H01R
43/048 20060101AFI20250930BHJP(基本的電気素子)
要約
【課題】端子付き電線の電気的性能を向上させる加締型を提供する。
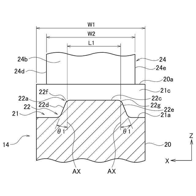
【解決手段】圧着端子110の圧着形成部112を電線101に圧着させる下型14と上型16とからなる加締型10において、圧着形成部112が圧着される電線101の芯線102に係る導体サイズが、40sq以上、95sq以下の範囲内にあり、かつ、芯線102を構成する複数の素線の素線径が、0.20mm以上、0.80mm以下である場合、例えば、下型インデント部22の下型中央凸部22aにおける先端面22cの前後方向での長さとして規定されるインデント長さL1は、6.5mm以上である。
【選択図】図9
特許請求の範囲
【請求項1】
上下方向で互いに近接したときに圧着端子の圧着形成部を電線に圧着させる下型と上型とからなる加締型であって、
前記下型及び前記上型は、それぞれ、前記圧着形成部の軸方向に合わせた前後方向と当該前後方向とは垂直な幅方向とで水平面上の断面が規定される直方体状であり、
前記下型及び前記上型は、それぞれ、
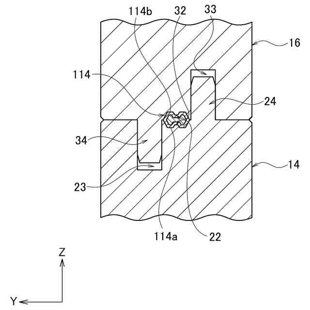
圧着方向に向かう型表面の側に形成されて前記圧着形成部を前記前後方向に沿わせて接触させる凹状部に設けられ、前記圧着方向に突出する中央凸部を有するインデント部と、
前記インデント部の前記幅方向での一方の端部に隣接し、前記型表面から前記圧着方向とは反対方向に形成された凹部と、
前記インデント部の前記幅方向での他方の端部に隣接し、前記型表面から前記圧着方向に突出する凸部と、を有し、
前記圧着形成部が圧着される前記電線の芯線に係る導体サイズが、40sq以上、95sq以下の範囲内にあり、かつ、前記芯線を構成する複数の素線の素線径が、0.20mm以上、0.80mm以下である場合、
前記インデント部の前記中央凸部における先端面の前記前後方向での長さとして規定されるインデント長さは、6.5mm以上である、加締型。
続きを表示(約 1,000 文字)
【請求項2】
圧着端子の圧着形成部を電線に圧着させた端子付き電線の製造方法であって、
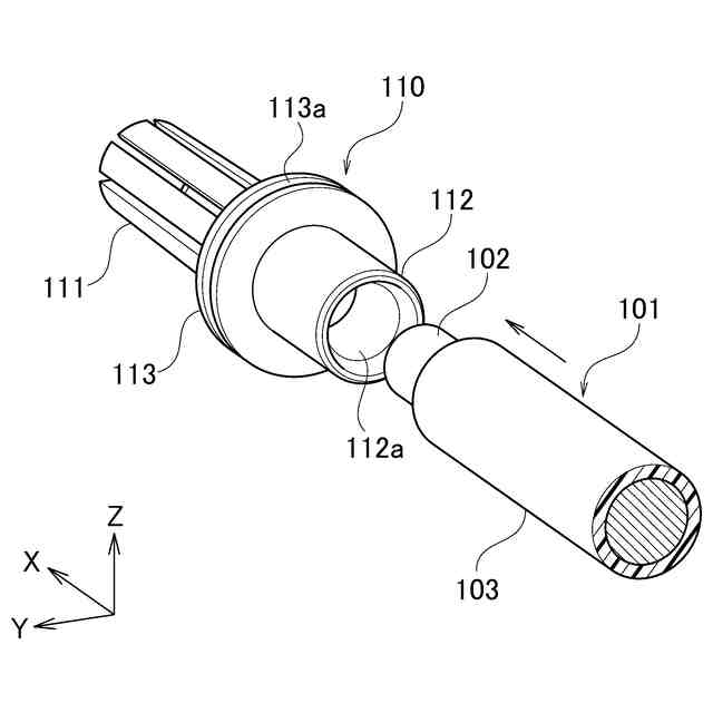
前記圧着形成部に前記電線の一部を挿通する工程と、
前記電線の一部が挿通されている前記圧着形成部を下型と上型とからなる加締型で挟み込む工程と、を含み、
前記加締型は、請求項1に記載の加締型である、端子付き電線の製造方法。
【請求項3】
前記加締型で挟み込まれたことで形成された圧着部は、前記インデント部の前記中央凸部の形状が転写された圧着凹部を有し、
前記加締型は、前記圧着部の前記前後方向での後端部に前記圧着凹部が形成されていない後ろベルマウス部があるように、前記圧着形成部を挟み込む、請求項2に記載の端子付き電線の製造方法。
【請求項4】
前記圧着部の前記前後方向での中間位置を通過する前記芯線の導体断面積に関して、(圧着後の前記導体断面積/圧着前の前記導体断面積)に100を乗じた値として表される圧縮率は、70%以下に設定され、
前記圧縮率の下限値は、前記圧着部において、引張強度が確保され、かつ、前記芯線の切断が発生しない値に設定される、請求項3に記載の端子付き電線の製造方法。
【請求項5】
電線の一部が挿通されている圧着端子の圧着形成部を下型と上型とからなる加締型で挟み込むことで形成された圧着部を有し、
前記圧着部は、
前記下型の一部の凸形状が転写された下方圧着凹部と、
前記上型の一部の凸形状が転写された上方圧着凹部と、を有し、
前記圧着形成部が圧着される前記電線の芯線に係る導体サイズが、40sq以上、95sq以下の範囲内にあり、かつ、前記芯線を構成する複数の素線の素線径が、0.20mm以上、0.80mm以下である場合、
前記下方圧着凹部及び前記上方圧着凹部の各々の底面における前記圧着形成部の軸方向に合わせた前後方向での長さとして規定される凹部長さは、6.5mm以上である、端子付き電線。
【請求項6】
前記圧着部の前記前後方向での後端部には、前記下方圧着凹部及び前記上方圧着凹部が形成されていない後ろベルマウス部がある、請求項5に記載の端子付き電線。
【請求項7】
前記圧着部の前記前後方向での中間位置を通過する前記芯線の導体断面積に関して、(圧着後の前記導体断面積/圧着前の前記導体断面積)に100を乗じた値として表される圧縮率は、70%以下である、請求項6に記載の端子付き電線。
発明の詳細な説明
【技術分野】
【0001】
本発明は、加締型、端子付き電線の製造方法、及び、端子付き電線に関する。
続きを表示(約 1,900 文字)
【背景技術】
【0002】
従来、圧着端子の圧着形成部を電線の端末に圧着させることで端子付き電線を製造する端子圧着装置がある。一般に、端子圧着装置では、上下方向で互いに近接及び離隔自在に保持され、互いに近接したときに圧着形成部を塑性変形させることで圧着部を形成する下型と上型とからなる加締型が用いられる。
【0003】
特許文献1は、圧着形成部と接触する突起形のインデント部と、インデント部の幅方向での一方の側部近傍にある凹部と、他方の側部近傍にある凸部とを各々が有する下型及び上型からなる加締型に関する技術を開示している。ここで、幅方向は、圧着形成部の軸方向に合わせた前後方向とは直交する方向である。当該加締型では、下型のインデント部に圧着形成部を載置させた状態で下型と上型とが近接すると、下型の凸部は上型の凹部に係合し、上型の凸部は下型の凹部に係合する。そして、下型のインデント部と上型のインデント部とは、幅方向での両端部にある凸部同士に挟まれた状態で圧着形成部を押圧することで、圧着部を形成する。このとき、各々の凸部は、圧着形成部が幅方向へ延びるように塑性変形することを規制するので、圧着部にバリが発生することを抑止させつつ、圧着端子が加締型に嵌り込むことを抑止する。
【先行技術文献】
【特許文献】
【0004】
特開2022-42683号公報
【発明の概要】
【発明が解決しようとする課題】
【0005】
特許文献1に開示されている加締型では、当該加締型を用いて製造される端子付き電線の電気的性能を向上させるための加締型の形状に関する条件が実際上明らかでないため、具体的な提案が望まれている。
【0006】
本発明は、このような従来技術が有する課題に鑑みてなされたものである。そして本発明の目的は、端子付き電線の電気的性能を向上させる加締型、又は、電気的性能が向上した端子付き電線の製造方法若しくは端子付き電線を提供することにある。
【課題を解決するための手段】
【0007】
本発明の一態様は、上下方向で互いに近接したときに圧着端子の圧着形成部を電線に圧着させる下型と上型とからなる加締型であって、下型及び上型は、それぞれ、圧着形成部の軸方向に合わせた前後方向と当該前後方向とは垂直な幅方向とで水平面上の断面が規定される直方体状であり、下型及び上型は、それぞれ、圧着方向に向かう型表面の側に形成されて圧着形成部を前後方向に沿わせて接触させる凹状部に設けられ、圧着方向に突出する中央凸部を有するインデント部と、インデント部の幅方向での一方の端部に隣接し、型表面から圧着方向とは反対方向に形成された凹部と、インデント部の幅方向での他方の端部に隣接し、型表面から圧着方向に突出する凸部と、を有し、圧着形成部が圧着される電線の芯線に係る導体サイズが、40sq以上、95sq以下の範囲内にあり、かつ、芯線を構成する複数の素線の素線径が、0.20mm以上、0.80mm以下である場合、インデント部の中央凸部における先端面の前後方向での長さとして規定されるインデント長さは、6.5mm以上である。
【0008】
また、本発明の一態様は、圧着端子の圧着形成部を電線に圧着させた端子付き電線の製造方法であって、圧着形成部に電線の一部を挿通する工程と、電線の一部が挿通されている圧着形成部を下型と上型とからなる加締型で挟み込むことで、圧着形成部に電線を圧着させる工程と、を含み、加締型は、上記の一態様に係る加締型である。
【0009】
更に、本発明の一態様に係る端子付き電線は、電線の一部が挿通されている圧着端子の圧着形成部を下型と上型とからなる加締型で挟み込むことで形成された圧着部を有し、圧着部は、下型の一部の凸形状が転写された下方圧着凹部と、上型の一部の凸形状が転写された上方圧着凹部と、を有し、圧着形成部が圧着される電線の芯線に係る導体サイズが、40sq以上、95sq以下の範囲内にあり、かつ、芯線を構成する複数の素線の素線径が、0.20mm以上、0.80mm以下である場合、下方圧着凹部及び上方圧着凹部の各々の底面における圧着形成部の軸方向に合わせた前後方向での長さとして規定される凹部長さは、6.5mm以上である。
【発明の効果】
【0010】
本発明によれば、端子付き電線の電気的性能を向上させる加締型、又は、電気的性能が向上した端子付き電線の製造方法若しくは端子付き電線を提供することができる。
【図面の簡単な説明】
(【0011】以降は省略されています)
この特許をJ-PlatPat(特許庁公式サイト)で参照する
関連特許
矢崎総業株式会社
箱状体
3日前
矢崎総業株式会社
箱状体
3日前
矢崎総業株式会社
コネクタ
1日前
矢崎総業株式会社
コネクタ
4日前
矢崎総業株式会社
コネクタ
10日前
矢崎総業株式会社
止水部材
8日前
矢崎総業株式会社
コネクタ
2日前
矢崎総業株式会社
照明構造
8日前
矢崎総業株式会社
コネクタ
8日前
矢崎総業株式会社
コネクタ
8日前
矢崎総業株式会社
コネクタ
4日前
矢崎総業株式会社
コネクタ
12日前
矢崎総業株式会社
コネクタ
4日前
矢崎総業株式会社
コネクタ
3日前
矢崎総業株式会社
コネクタ
15日前
矢崎総業株式会社
コネクタ
10日前
矢崎総業株式会社
コネクタ
3日前
矢崎総業株式会社
ゴムブーツ
8日前
矢崎総業株式会社
プロテクタ
8日前
矢崎総業株式会社
電気接続箱
3日前
矢崎総業株式会社
電気接続箱
3日前
矢崎総業株式会社
電気接続箱
15日前
矢崎総業株式会社
電気接続箱
3日前
矢崎総業株式会社
電流検出装置
10日前
矢崎総業株式会社
フラット導体
3日前
矢崎総業株式会社
ワイヤハーネス
12日前
矢崎総業株式会社
ワイヤハーネス
15日前
矢崎総業株式会社
ワイヤハーネス
12日前
矢崎総業株式会社
バンドクランプ
15日前
矢崎総業株式会社
ワイヤハーネス
12日前
矢崎総業株式会社
ワイヤハーネス
12日前
矢崎総業株式会社
フロアハーネス
16日前
矢崎総業株式会社
バスバ配置構造
3日前
矢崎総業株式会社
コネクタユニット
9日前
矢崎総業株式会社
箱状体、及び、電気接続箱
3日前
矢崎総業株式会社
コネクタおよびワイヤハーネス
8日前
続きを見る
他の特許を見る