TOP
|
特許
|
意匠
|
商標
特許ウォッチ
Twitter
他の特許を見る
公開番号
2025148885
公報種別
公開特許公報(A)
公開日
2025-10-08
出願番号
2024049222
出願日
2024-03-26
発明の名称
フラット導体及びフラット導体の製造方法
出願人
矢崎総業株式会社
代理人
個人
,
個人
主分類
H01B
5/00 20060101AFI20251001BHJP(基本的電気素子)
要約
【課題】通電時の温度上昇を抑えつつ、生産性を向上させることが可能なフラット導体を提供する。
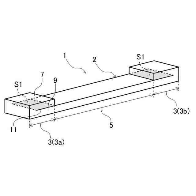
【解決手段】長尺状で、長手方向に直交する断面の厚さより幅が大きい導電性の板材2を備えるフラット導体1であって、板材2は長手方向の両端の少なくとも一方が厚さ方向に少なくとも1回は折り返されて、折り返されていない部分に面接触すると共に、他の導電部材に対して電気的に接続される端部3と、長手方向において端部3に隣接する部分である中央部5と、を備え、端部3の厚さが中央部5の厚さよりも厚く、中央部5の単位長さあたりの導体抵抗よりも端部3の単位長さあたりの導体抵抗の方が低いことを特徴とするフラット導体1。
【選択図】図1
特許請求の範囲
【請求項1】
長尺状で、長手方向に直交する断面の厚さより幅が大きい導電性の板材を備えるフラット導体であって、
前記板材は
長手方向の両端の少なくとも一方が厚さ方向に少なくとも1回は折り返されて、折り返されていない部分に面接触すると共に、他の導電部材に対して電気的に接続される端部と、
長手方向において前記端部に隣接する部分である中央部と、
を備え、
前記端部の厚さが前記中央部の厚さよりも厚く、
前記中央部の単位長さあたりの導体抵抗よりも前記端部の単位長さあたりの導体抵抗の方が低い
ことを特徴とするフラット導体。
続きを表示(約 690 文字)
【請求項2】
前記端部は、面接触した接触面の面積が、前記中央部の、長手方向に直交する断面積である導体断面積よりも大きい
ことを特徴とする請求項1に記載のフラット導体。
【請求項3】
前記板材は、
表面に絶縁体が被覆されているか、プロテクター又はテープで覆われて保護されている
ことを特徴とする請求項1又は2に記載のフラット導体。
【請求項4】
前記板材は、
銅、アルミニウム、マグネシウムのいずれかである
ことを特徴とする請求項1又は2に記載のフラット導体。
【請求項5】
前記端部に設けられ、前記他の導電部材に対して接続される圧着端子、又は前記他の導電部材とボルト締結される際にボルトが挿通する孔部を有する
ことを特徴とする請求項1又は2に記載のフラット導体。
【請求項6】
長尺状で、長手方向に直交する断面の厚さより幅が大きい導電性の板材を準備する準備工程と、
前記板材の両端の少なくとも一方を厚さ方向に少なくとも1回は折り返し、折り返されていない部分に面接触させることで、他の導電部材に対して電気的に接続される端部を形成する、折り返し工程とを含み、
前記折り返し工程では、長手方向に前記端部に隣接する部分である中央部の厚さよりも前記端部の厚さが厚くなるように、かつ前記中央部の単位長さあたりの導体抵抗よりも前記端部の単位長さあたりの導体抵抗の方が低くなるように前記端部を形成する
ことを特徴とするフラット導体の製造方法。
発明の詳細な説明
【技術分野】
【0001】
本発明は、フラット導体及びフラット導体の製造方法に関する。
続きを表示(約 2,000 文字)
【背景技術】
【0002】
近年、電気自動車が増加している中、大電流用の配索部材として、電気自動車用の電池パック内や電気自動車の床下等で用いられるバスバー等のフラット導体の需要が高まっている。一方でフラット導体は通電時の抵抗で温度が上昇することで発熱するため、温度上昇を抑制する構造を備えるのが好ましい。温度上昇を抑制する構造としては長手方向に対して断面積が異なる導体を用いる構造がある(例えば特許文献1参照)。また、導電率が異なる異種金属を長手方向に接続して、導電率が高い方を他の導電部材との接続部とすることで、接続部における発熱を抑制した構造もある(例えば特許文献2参照)。
【先行技術文献】
【特許文献】
【0003】
特開2014-229384号公報
特開2020-113524号公報
【発明の概要】
【発明が解決しようとする課題】
【0004】
特許文献1の構造は長板状の本体部と、本体部の長手方向に直交する幅方向に本体部から膨出した板状の膨出部とを有するT字状の導体板を板材のプレス打ち抜きで形成し、膨出部を本体部側に折り返すことで中央部の断面積を大きくする構造である。そのため、打ち抜いた後に残った板材はT字状の孔が空いており、これ以上の打ち抜きに使えない廃材となる。よって特許文献1の構造を備える部品を製造する際には、廃材が発生することから歩留まり率が低くなり易く、生産性が低い問題があった。
【0005】
また特許文献2のような異種金属を接合する方法は、接合する金属を板材の切断等で所望の寸法、形状に形成する工程と、所望の寸法、形状に形成した金属同士を接合する工程とが必要になり、工数が嵩むため、生産性が低い問題があった。
【0006】
本発明は、このような問題を解決するためになされたものであり、その目的とするところは、通電時の温度上昇を抑えつつ、生産性を向上させることが可能なフラット導体及びフラット導体の製造方法を提供することにある。
【課題を解決するための手段】
【0007】
本発明のフラット導体は、長尺状で、長手方向に直交する断面の厚さより幅が大きい導電性の板材を備えるフラット導体であって、前記板材は長手方向の両端の少なくとも一方が厚さ方向に少なくとも1回は折り返されて、折り返されていない部分に面接触すると共に、他の導電部材に対して電気的に接続される端部と、長手方向において前記端部に隣接する部分である中央部と、を備え、前記端部の厚さが前記中央部の厚さよりも厚く、前記中央部の単位長さあたりの導体抵抗よりも前記端部の単位長さあたりの導体抵抗の方が低いことを特徴とする。
【0008】
本発明のフラット導体の製造方法は、長尺状で、長手方向に直交する断面の厚さより幅が大きい導電性の板材を準備する準備工程と、前記板材の両端の少なくとも一方を厚さ方向に少なくとも1回は折り返し、折り返されていない部分に面接触させることで、他の導電部材に対して電気的に接続される端部を形成する、折り返し工程とを含み、前記折り返し工程では、長手方向に前記端部に隣接する部分である中央部の厚さよりも前記端部の厚さが厚くなるように、かつ前記中央部の単位長さあたりの導体抵抗よりも前記端部の単位長さあたりの導体抵抗の方が低くなるように前記端部を形成することを特徴とする。
【発明の効果】
【0009】
本発明によれば、通電時の温度上昇を抑えつつ、生産性を向上させることが可能なフラット導体及びフラット導体の製造方法を提供できる。
【図面の簡単な説明】
【0010】
本実施形態に係るフラット導体を示す斜視図である。
図1の側面図である。
(a)は図2のA-A断面図であり、(b)は図2のB-B断面図である。
本実施形態に係るフラット導体の第1の変形例及び第2の変形例を示す断面図であって、図2のA-A断面に該当する部分の断面図である。
本実施形態に係るフラット導体の第3の変形例を示す斜視図である。
本実施形態に係るフラット導体の第4の変形例を示す斜視図である。
本実施形態に係るフラット導体の第5の変形例を示す斜視図である。
本実施形態に係るフラット導体の第6の変形例を示す側面図である。
本実施形態に係るフラット導体の製造方法の手順を示す側面図である。
本実施形態に係るフラット導体の製造方法の手順を示す側面図である。
図8に示すフラット導体の製造方法の手順を示す側面図である。
実施例及び比較例のフラット導体に通電した場合の通電時間と中央部の温度との関係のシミュレーション結果を示すグラフである。
【発明を実施するための形態】
(【0011】以降は省略されています)
この特許をJ-PlatPat(特許庁公式サイト)で参照する
関連特許
矢崎総業株式会社
箱状体
3日前
矢崎総業株式会社
箱状体
3日前
矢崎総業株式会社
照明灯
1か月前
矢崎総業株式会社
コネクタ
1日前
矢崎総業株式会社
コネクタ
4日前
矢崎総業株式会社
コネクタ
1か月前
矢崎総業株式会社
コネクタ
1か月前
矢崎総業株式会社
コネクタ
1か月前
矢崎総業株式会社
コネクタ
1か月前
矢崎総業株式会社
止水部材
8日前
矢崎総業株式会社
照明構造
8日前
矢崎総業株式会社
コネクタ
24日前
矢崎総業株式会社
コネクタ
8日前
矢崎総業株式会社
コネクタ
8日前
矢崎総業株式会社
コネクタ
12日前
矢崎総業株式会社
コネクタ
1か月前
矢崎総業株式会社
コネクタ
1か月前
矢崎総業株式会社
コネクタ
10日前
矢崎総業株式会社
コネクタ
2日前
矢崎総業株式会社
コネクタ
1か月前
矢崎総業株式会社
コネクタ
1か月前
矢崎総業株式会社
コネクタ
15日前
矢崎総業株式会社
コネクタ
16日前
矢崎総業株式会社
コネクタ
22日前
矢崎総業株式会社
コネクタ
10日前
矢崎総業株式会社
コネクタ
1か月前
矢崎総業株式会社
コネクタ
24日前
矢崎総業株式会社
コネクタ
3日前
矢崎総業株式会社
コネクタ
3日前
矢崎総業株式会社
コネクタ
4日前
矢崎総業株式会社
コネクタ
1か月前
矢崎総業株式会社
コネクタ
4日前
矢崎総業株式会社
電気接続箱
1か月前
矢崎総業株式会社
カバー構造
1か月前
矢崎総業株式会社
電気接続箱
15日前
矢崎総業株式会社
電気接続箱
1か月前
続きを見る
他の特許を見る