TOP
|
特許
|
意匠
|
商標
特許ウォッチ
Twitter
他の特許を見る
公開番号
2025104378
公報種別
公開特許公報(A)
公開日
2025-07-10
出願番号
2023222090
出願日
2023-12-28
発明の名称
吸収性パッド
出願人
花王株式会社
代理人
弁理士法人翔和国際特許事務所
主分類
A61F
13/505 20060101AFI20250703BHJP(医学または獣医学;衛生学)
要約
【課題】ホルダに着脱可能に固定された状態で着用される吸収性パッドであって、着用者との間に隙間が生じにくく、防漏性に優れる吸収性パッドを提供すること。
【解決手段】吸収性パッド1は、前記縦方向の端部域に、前記ホルダとの着脱が可能なパッド側止着構造を有し、縦方向Xの端部域に、ホルダ11との着脱が可能なパッド側止着構造8を有し、横方向Yの側部域に、縦方向Xに沿って延びるサイドカフ6を有し、サイドカフ6は、端部域に、該サイドカフ6が横方向Yの外方に向けて倒伏した状態で固定された固定領域68を有しており、サイドカフ6における固定領域68以外の非固定領域69と、パッド側止着構造8とが、縦方向Xにおける同位置に位置している。
【選択図】図2
特許請求の範囲
【請求項1】
着用状態において着用者の肌に近い側に位置する表面シートと、着用者の肌から遠い側に位置する裏面シートと、両シート間に位置する吸収体とを備え、
縦方向及びそれに直交する横方向を有し、
着用者の腰周りに環状に装着されるホルダに着脱可能に固定されて使用される吸収性パッドであって、
前記縦方向の端部域に、前記ホルダとの着脱が可能なパッド側止着構造を有し、
前記横方向の側部域に、前記縦方向に沿って延びるサイドカフを有し、
前記サイドカフは、前記端部域に、該サイドカフが前記横方向の外方に向けて倒伏した状態で固定された固定領域を有しており、
前記サイドカフにおける前記固定領域以外の非固定領域と、前記パッド側止着構造とが、前記縦方向における同位置に位置している、吸収性パッド。
続きを表示(約 1,000 文字)
【請求項2】
前記パッド側止着構造が前記横方向に延在しており、
前記吸収性パッドの平面視において、前記サイドカフの前記非固定領域と、前記パッド側止着構造における前記横方向の側部域とが重なっていない領域を有する、請求項1に記載の吸収性パッド。
【請求項3】
前記サイドカフが前記縦方向に沿う伸縮性を有し、
前記サイドカフの伸縮開始位置が、前記パッド側止着構造における前記縦方向の内方端縁と一致しているか、又は該内方端縁を越えて前記縦方向の外方に位置している、請求項2に記載の吸収性パッド。
【請求項4】
前記サイドカフよりも前記横方向の外方の位置に、前記縦方向に沿って延びるレッグカフを有し、
前記レッグカフが前記縦方向に沿う伸縮性を有し、
前記レッグカフの伸縮開始位置が、前記パッド側止着構造における前記縦方向の内方端縁と一致しているか、又は該内方端縁を越えて前記縦方向の外方に位置している、請求項2又は3に記載の吸収性パッド。
【請求項5】
前記サイドカフよりも前記横方向の外方の位置に、前記縦方向に沿って延びるレッグカフを有し、
前記縦方向に沿って見たときに、前記レッグカフと前記パッド側止着構造とが重なっていない、請求項1ないし4のいずれか一項に記載の吸収性パッド。
【請求項6】
前記パッド側止着構造よりも前記縦方向の外方寄りの位置に、該パッド側止着構造から距離を隔てて配置された第2パッド側止着構造が、前記横方向に延在している、請求項1ないし5のいずれか一項に記載の吸収性パッド。
【請求項7】
前記縦方向に沿う前記パッド側止着構造の長さと前記第2パッド側止着構造の長さが相違している、請求項6に記載の吸収性パッド。
【請求項8】
前記横方向に沿う前記パッド側止着構造の長さと前記第2パッド側止着構造の長さが相違している、請求項6又は7に記載の吸収性パッド。
【請求項9】
前記サイドカフは、前記縦方向に沿って伸長状態で配された弾性部材を有し、
前記吸収性パッドの平面視において、前記弾性部材と前記パッド側止着構造とが重なっている、請求項1ないし8のいずれか一項に記載の吸収性パッド。
【請求項10】
請求項1ないし9のいずれか一項に記載の吸収性パッドと、
着用者の腰周りに装着されるホルダと、
を備える吸収性物品。
発明の詳細な説明
【技術分野】
【0001】
本発明は、着用者の腰周りに装着されるホルダに着脱可能に固定されて使用される吸収性パッドに関する。
続きを表示(約 2,400 文字)
【背景技術】
【0002】
使い捨ておむつ等の吸収性物品の一種として、尿等の体液を吸収保持する吸収性パッドと、着用者の腰周りに環状に装着されるとともに、着用者の股間部に配置された吸収性パッドを保持するホルダとを備え、吸収性パッドがホルダに対して着脱自在に構成されたセパレートタイプのものが知られている。従来のセパレートタイプの吸収性物品においては、特許文献1~3に記載されているように、吸収性パッドの縦方向(着用者の前後方向に対応する方向)の端部域に、ホルダが有する止着構造(ホルダ側止着構造)との着脱が可能なパッド側止着構造が設けられている。特許文献1~3には、吸収性パッドの側部域に、縦方向に沿って延びるサイドカフを配することが記載されている。
【先行技術文献】
【特許文献】
【0003】
特開2008-36019号公報
特開2003-175066号公報
特開2011-136063号公報
【発明の概要】
【発明が解決しようとする課題】
【0004】
ところで、サイドカフは、典型的には、該サイドカフの主体をなすシートと、該シートの横方向(着用者の左右方向に対応する方向)内方側の自由端部に伸長状態で固定された弾性部材とを含み、該弾性部材の収縮によって該シートの自由端部が起立するようになされている。またサイドカフは、典型的には、縦方向の両端部に、該サイドカフが起立しないように固定された固定領域を有しており、両固定領域の間の非固定領域が起立するようになされている。
【0005】
セパレートタイプの吸収性物品においては、該吸収性物品の着用者が足を上げたとき等に、該足によって吸収性パッドが着用者の前側に押されることがある。特許文献1ないし3に記載の吸収性パッドは、上述のように、縦方向の端部域にホルダ側止着構造を有するところ、サイドカフの固定領域とホルダ側止着構造との位置関係によっては、吸収性パッドが着用者の前側に押されたときに、図10に示すように、鼠径部近傍においてサイドカフ91が起立せず、着用者と吸収性パッド9との間に隙間92が発生し、その結果、隙間92からの漏れが生じる恐れがある。この点について、特許文献1ないし3の技術では何ら検討されておらず、改良の余地があった。
【0006】
したがって本発明の課題は、ホルダに着脱可能に固定された状態で着用される吸収性パッドであって、着用者との間に隙間が生じにくく、防漏性に優れた吸収性パッドを提供することに関する。
【課題を解決するための手段】
【0007】
本発明は、着用状態において着用者の肌に近い側に位置する表面シートと、着用者の肌から遠い側に位置する裏面シートと、両シート間に位置する吸収体とを備え、縦方向及びそれに直交する横方向を有し、着用者の腰周りに環状に装着されるホルダに着脱可能に固定されて使用される吸収性パッドに関する。
前記吸収性パッドは、前記縦方向の端部域に、前記ホルダとの着脱が可能なパッド側止着構造を有することが好ましい。
前記吸収性パッドは、前記横方向の側部域に、前記縦方向に沿って延びるサイドカフを有することが好ましい。
前記サイドカフは、前記端部域に、該サイドカフが前記横方向の外方に向けて倒伏した状態で固定された固定領域を有することが好ましい。
前記吸収性パッドは、前記サイドカフにおける前記固定領域以外の非固定領域と、前記パッド側止着構造とが、前記縦方向における同位置に位置していることが好ましい。
本発明の他の特徴、効果及び実施形態は、以下に説明される。
【発明の効果】
【0008】
本発明の吸収性パッドは、着用者との間に隙間が生じにくく、防漏性に優れる。
【図面の簡単な説明】
【0009】
図1は、本発明の吸収性パッドの一実施形態の斜視図である。
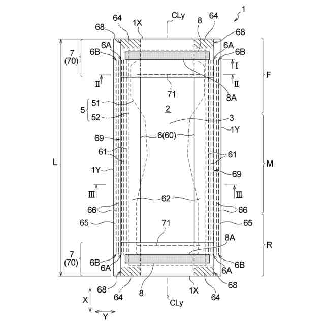
図2は、図1に示す吸収性パッドの最大伸長状態における肌対向面側(表面シート側)を模式的に示す平面図である。
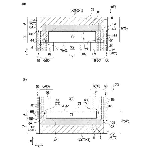
図3は、図2に示す吸収性パッドの所定位置における横方向且つ厚み方向に沿う断面を模式的に示す断面図であり、図3(a)は図2のI-I線断面、図3(b)は図2のII-II線断面、図3(c)は図2のIII-III線断面を示す。
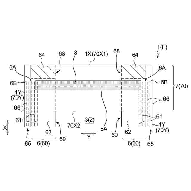
図4は、図2に示す吸収性パッドにおける縦方向の端部域を拡大して模式的に示す平面図であり、図4(a)は腹側部側、図4(b)は背側部側を示す。
図5は、図1に示す吸収性パッドの使用例を示す図であり、ホルダ及びこれに止着された該吸収性パッドを含む使い捨ておむつの斜視図である。
図6は、図4に示す模式平面図において、サイドカフの固定領域及び非固定領域を模式的に表した図であり、図6(a)は腹側部側、図6(b)は背側部側を示す。
図7は、図1に示す吸収性パッドの使用状態を示す図であり、ホルダ及びこれに固定された該吸収性パッドを含む使い捨ておむつを着用した乗田を模式的に示す斜視図である。
図8は、本発明の吸収性パッドの他の実施形態の図4(a)相当図である。
図9は、本発明の吸収性パッドの更に他の実施形態の図4(a)相当図である。
図10は、従来の吸収性パッドの使用状態を模式的に示す図であり、図7相当図である。
【発明を実施するための形態】
【0010】
以下、本発明をその好ましい実施形態に基づき図面を参照しながら説明する。なお、以下の図面の記載において、同一又は類似の部分には、同一又は類似の符号を付している。図面は基本的に模式的なものであり、各寸法の比率などは現実のものとは異なる場合がある。
(【0011】以降は省略されています)
この特許をJ-PlatPat(特許庁公式サイト)で参照する
関連特許
花王株式会社
袋体
7日前
花王株式会社
組立体
26日前
花王株式会社
製函装置
16日前
花王株式会社
固形食品
28日前
花王株式会社
固形食品
12日前
花王株式会社
清掃用具
6日前
花王株式会社
放散装置
1か月前
花王株式会社
吸収性物品
1か月前
花王株式会社
乳化化粧料
7日前
花王株式会社
吸収性物品
28日前
花王株式会社
吸収性物品
1か月前
花王株式会社
油性化粧料
16日前
花王株式会社
パウチ容器
1か月前
花王株式会社
固形入浴剤
1か月前
花王株式会社
容器組立体
1か月前
花王株式会社
吸収性物品
1か月前
花王株式会社
乳化化粧料
7日前
花王株式会社
口腔用組成物
28日前
花王株式会社
口腔用組成物
28日前
花王株式会社
抗菌剤組成物
8日前
花王株式会社
吸収性パッド
1か月前
花王株式会社
剥離剤組成物
1か月前
花王株式会社
口腔用組成物
12日前
花王株式会社
鋳型用組成物
1か月前
花王株式会社
防錆剤組成物
1か月前
花王株式会社
吸収性パッド
1か月前
花王株式会社
防錆剤組成物
1か月前
花王株式会社
口腔用組成物
12日前
花王株式会社
口腔菌叢改善剤
28日前
花王株式会社
水系顔料分散体
5日前
花王株式会社
焼却灰の処理方法
26日前
花王株式会社
口腔内菌叢改善剤
12日前
花王株式会社
消臭用香料組成物
1か月前
花王株式会社
衣料用液体洗浄剤
5日前
花王株式会社
衣料用液体洗浄剤
5日前
花王株式会社
睫毛用油性化粧料
1か月前
続きを見る
他の特許を見る