TOP
|
特許
|
意匠
|
商標
特許ウォッチ
Twitter
他の特許を見る
公開番号
2025113031
公報種別
公開特許公報(A)
公開日
2025-08-01
出願番号
2024007645
出願日
2024-01-22
発明の名称
パンツ型吸収性物品
出願人
花王株式会社
代理人
弁理士法人翔和国際特許事務所
主分類
A61F
13/49 20060101AFI20250725BHJP(医学または獣医学;衛生学)
要約
【課題】褥瘡予防とフィット性とを高いレベルで両立し得るパンツ型吸収性物品を提供すること。
【解決手段】胴周り部5は、ウエスト開口部WHを画成し且つ横方向Yに伸縮性を有するウエスト端部6と、ウエスト端部6と縦方向Xにおいて隣接するウエスト端部隣接域7とを有する。ウエスト端部6は、胴周り部5を構成するシート材41,42の表面に固定され且つ横方向Yに伸縮可能な弾性部材45を含み、ウエスト端部隣接域7は、弾性部材45の非配置領域である。ウエスト端部6及びウエスト端部隣接域7には、吸収性コア24は配置されていない。腹側外装体4Fは、背側外装体4Rに比べて、ウエスト端部6の横方向Yの伸長応力が大きい。パンツ型吸収性物品1の自然状態において、ウエスト端部6は、胴周り部5におけるウエスト端部6以外の他の領域に比べて、胴周り方向の全長が短い。
【選択図】図4
特許請求の範囲
【請求項1】
吸収性コアと、該吸収性コアの非肌対向面側に配された外装体とを備え、
前記外装体は、着用者の腹側に配される腹側外装体と、着用者の背側に配される背側外装体とを備え、
前記腹側外装体から前記背側外装体へ向けて延びる縦方向と、該縦方向に直交する横方向と、着用時に着用者の胴周りに沿う胴周り方向とを有し、
前記腹側外装体の側部域と前記背側外装体の側部域とが接合されて、着用者の胴周りに配置される環状の胴周り部並びにウエスト開口部及び一対のレッグ開口部が形成されてなるパンツ型吸収性物品であって、
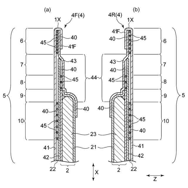
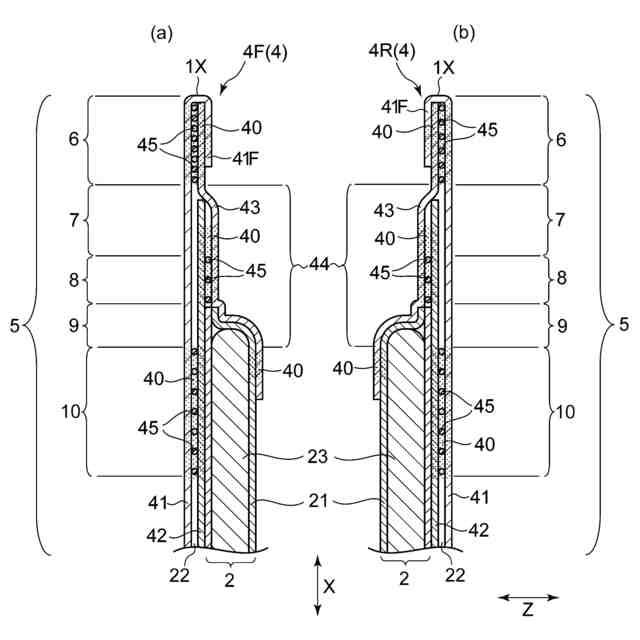
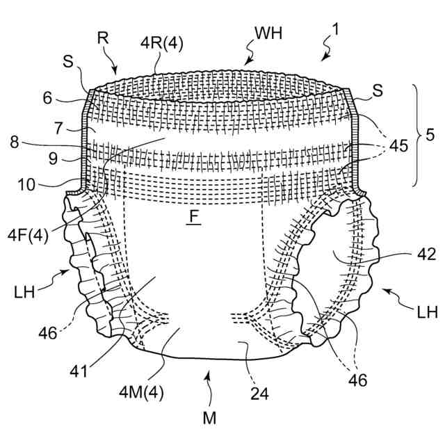
前記胴周り部は、前記ウエスト開口部を画成し且つ前記横方向に伸縮性を有するウエスト端部と、該ウエスト端部と前記縦方向において隣接するウエスト端部隣接域とを有し、
前記ウエスト端部は、前記胴周り部を構成するシート材の表面に固定され且つ前記横方向に伸縮可能な弾性部材を含み、前記ウエスト端部隣接域は、該弾性部材の非配置領域であり、
前記ウエスト端部及び前記ウエスト端部隣接域には、前記吸収性コアは配置されておらず、
前記腹側外装体は、前記背側外装体に比べて、前記ウエスト端部の前記横方向の伸長応力が大きく、
前記パンツ型吸収性物品の自然状態において、前記ウエスト端部は、前記胴周り部における該ウエスト端部以外の他の領域に比べて、前記胴周り方向の全長が短い、パンツ型吸収性物品。
続きを表示(約 260 文字)
【請求項2】
前記腹側外装体は、前記背側外装体に比べて、前記ウエスト端部における前記弾性部材の前記縦方向の単位長さ当たりの数が多い、請求項1に記載のパンツ型吸収性物品。
【請求項3】
前記胴周り部は、前記ウエスト端部隣接域とは別に、前記弾性部材の非配置領域を有する、請求項1又は2に記載のパンツ型吸収性物品。
【請求項4】
前記弾性部材の非配置領域に、相対向する2枚のシート材どうしの間に接着剤が塗布されていない非接着領域が存在する、請求項1又は2に記載のパンツ型吸収性物品。
発明の詳細な説明
【技術分野】
【0001】
本発明は、パンツ型使い捨ておむつ等のパンツ型吸収性物品に関する。
続きを表示(約 2,800 文字)
【背景技術】
【0002】
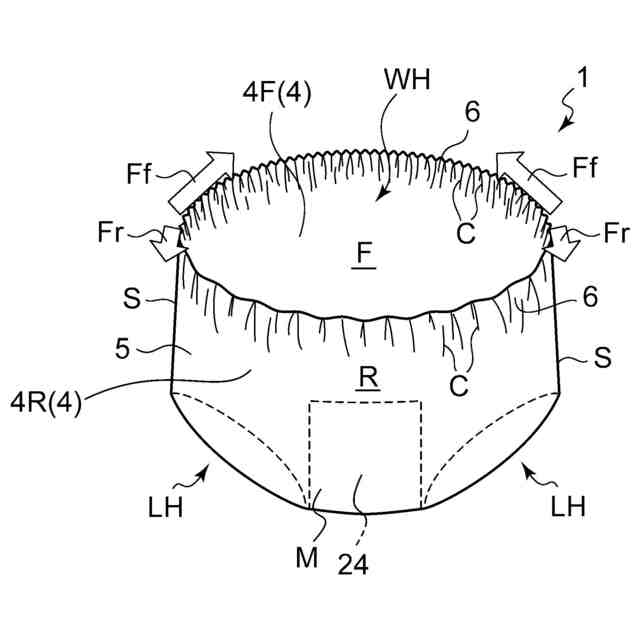
パンツ型使い捨ておむつは、典型的には、体液を吸収保持する吸収性コアと、該吸収性コアの非肌対向面側に配された外装体とを備え、該外装体における着用者の腹側に配置される部分(腹側外装体)の側部域と、該外装体における着用者の背側に配置される部分(背側外装体)の側部域とが接合されて一対のサイドシール部が形成されるとともに、着用者の胴周りに配置される環状の胴周り部並びにウエスト開口部及び一対のレッグ開口部が形成されてなる。腹側外装体及び背側外装体には、着用者の身体へのフィット性を高めるために、横方向に伸縮可能に配置された複数の糸状の弾性部材が縦方向に間欠配置されており、胴周り部全体として胴周り方向に伸縮性を有している。
【0003】
特許文献1には、パンツ型使い捨ておむつにおいて、後ウエストパネル(背側外装体に相当)を構成する伸縮性シートにおける吸収性コアと対向する部位の一部に、該伸縮性シートの残余の部位よりも低い伸長応力を有する低伸縮域が形成することが記載されている。特許文献に記載のおむつによれば、ウエスト域(胴周り部に相当)全体が適度なフィット性を有し、吸収性コアの存在領域での吸液性能を阻害せず、且つウエスト域における吸収性コアの存在領域に配置されたグラフィックシートに皺などの変形が生じるおそれがないとされている。
【0004】
特許文献2には、従来のパンツ型使い捨ておむつにおける、着用時に股間部がモコモコするという課題を解決するために、後身頃における臀裂対向部に、着用者の臀裂に入り込むように折れ曲がる屈曲フィット部を設けるとともに、前身頃及び後身頃に、股間部をウエスト側に持ち上げるように縦方向成分の収縮力を発揮する引上げ弾性部材を設け、且つ前身頃における縦方向の弾性変形時の引張応力を後身頃のそれよりも大きくすることが記載されている。
【0005】
特許文献3には、パンツ型使い捨ておむつの前身頃におけるサイドシール部を有する領域に、ウエスト開口部からレッグ開口部に向かって順に、前ウエスト縁部領域、腸骨当接領域及び下腹部当接領域を配置し、これらの領域の横方向の弾性変形時引張力について、下腹部当接領域>前ウエスト縁部領域>腸骨当接領域の大小関係を成立させることが記載されている。特許文献3に記載のおむつによれば、後身頃における前記下腹部当接領域に対応する後下端側領域が、該下腹部当接領域によって前側に強く引っ張られて左右方向に展開され、臀裂側への移動が抑制されるため、後身頃における立体ギャザーのズレを防止できるとされている。
【0006】
特許文献4には、パンツ型使い捨ておむつの胴周り部を、ウエスト開口部からレッグ開口部に向かって順に、第1弾性領域、第2弾性領域及び第3弾性領域を配置し、第2弾性領域の収縮率を、第1及び第3弾性領域の収縮率よりも小さくし、第1~3弾性領域が弾性的に弛緩した状態にあるとき、第2弾性領域がおむつの外側に向けて湾曲するようにすることが記載されている。特許文献4に記載のおむつによれば、高齢者がこれを着用するとき、湾曲した第2弾性領域を指で掴んで容易に引き上げることができるとされている。
【先行技術文献】
【特許文献】
【0007】
特開2010-57567号公報
特開2012-10905号公報
特開2012-210234号公報
特開2014-204805号公報
【発明の概要】
【発明が解決しようとする課題】
【0008】
従来のパンツ型吸収性物品の着用状態においては、胴周り部を構成する外装体の肌対向面に、該外装体の胴周り方向における収縮により、多数の皺が発生するところ、着用者が寝姿勢又は座位の姿勢をとっているときに体圧が集中しやすい背側の胴周り部にこの皺が発生すると、褥瘡(床ずれ)を引き起こすおそれがある。特に、背側の胴周り部における吸収性コアよりも縦方向外方に位置する部分は、体圧を分散するクッションとして機能し得る吸収性コアが存在しないため、着用者の肌における該部分と接触する部位は、該部分に発生する皺の影響を受けやすく、褥瘡を引き起こしやすい。一方、褥瘡の発生を防止する方法としては、胴周り部に配置された弾性部材の伸長応力を低減する等して、胴周り部による着用者の身体の締め付けを弱める方法が考えられるが、この方法は胴周り部のフィット性の低下を招くおそれがある。褥瘡予防とフィット性とを高いレベルで両立し得るパンツ型吸収性物品は未だ提供されていない。
【0009】
本発明の課題は、褥瘡予防とフィット性とを高いレベルで両立し得るパンツ型吸収性物品を提供することに関する。
【課題を解決するための手段】
【0010】
本発明は、吸収性コアと、該吸収性コアの非肌対向面側に配された外装体とを備え、
前記外装体は、着用者の腹側に配される腹側外装体と、着用者の背側に配される背側外装体とを備え、
前記腹側外装体から前記背側外装体へ向けて延びる縦方向と、該縦方向に直交する横方向と、着用時に着用者の胴周りに沿う胴周り方向とを有し、
前記腹側外装体の側部域と前記背側外装体の側部域とが接合されて、着用者の胴周りに配置される環状の胴周り部並びにウエスト開口部及び一対のレッグ開口部が形成されてなるパンツ型吸収性物品である。
本発明のパンツ型吸収性物品の一実施形態では、前記胴周り部は、前記ウエスト開口部を画成し且つ前記横方向に伸縮性を有するウエスト端部と、該ウエスト端部と前記縦方向において隣接するウエスト端部隣接域とを有し、
前記ウエスト端部は、前記胴周り部を構成するシート材の表面に固定され且つ前記横方向に伸縮可能な弾性部材を含み、前記ウエスト端部隣接域は、該弾性部材の非配置領域であることが好ましい。
本発明のパンツ型吸収性物品の一実施形態では、前記ウエスト端部及び前記ウエスト端部隣接域には、前記吸収性コアは配置されていないことが好ましい。
本発明のパンツ型吸収性物品の一実施形態では、前記腹側外装体は、前記背側外装体に比べて、前記ウエスト端部の前記横方向の伸長応力が大きいことが好ましい。
本発明のパンツ型吸収性物品の一実施形態では、前記パンツ型吸収性物品の自然状態において、前記ウエスト端部は、前記胴周り部における該ウエスト端部以外の他の領域に比べて、前記胴周り方向の全長が短いことが好ましい。
本発明の他の特徴、効果及び実施形態は、以下に説明される。
【発明の効果】
(【0011】以降は省略されています)
この特許をJ-PlatPat(特許庁公式サイト)で参照する
関連特許
花王株式会社
容器
3か月前
花王株式会社
飲料
3か月前
花王株式会社
容器
3か月前
花王株式会社
容器
2か月前
花王株式会社
組立体
13日前
花王株式会社
放散装置
22日前
花王株式会社
消臭方法
2か月前
花王株式会社
注出部材
2か月前
花王株式会社
注出部材
2か月前
花王株式会社
製函装置
3日前
花王株式会社
固形食品
15日前
花王株式会社
吸収性物品
1か月前
花王株式会社
吸収性物品
3か月前
花王株式会社
アイマスク
2か月前
花王株式会社
吸収性物品
1か月前
花王株式会社
皮膚外用剤
2か月前
花王株式会社
吸収性物品
1か月前
花王株式会社
パウチ容器
1か月前
花王株式会社
固形入浴剤
1か月前
花王株式会社
容器組立体
1か月前
花王株式会社
化粧料容器
2か月前
花王株式会社
皮膚化粧料
2か月前
花王株式会社
樹脂組成物
2か月前
花王株式会社
吸収性物品
15日前
花王株式会社
カプセル剤
3か月前
花王株式会社
油性化粧料
3日前
花王株式会社
口腔用組成物
15日前
花王株式会社
消臭剤組成物
2か月前
花王株式会社
吸収性パッド
29日前
花王株式会社
洗浄剤組成物
3か月前
花王株式会社
鋳型用組成物
1か月前
花王株式会社
口腔用組成物
15日前
花王株式会社
シート材容器
1か月前
花王株式会社
酵素センサー
1か月前
花王株式会社
消臭剤組成物
2か月前
花王株式会社
洗浄剤組成物
3か月前
続きを見る
他の特許を見る