TOP
|
特許
|
意匠
|
商標
特許ウォッチ
Twitter
他の特許を見る
公開番号
2025133352
公報種別
公開特許公報(A)
公開日
2025-09-11
出願番号
2024031252
出願日
2024-03-01
発明の名称
入力装置、電子楽器、設定方法及びプログラム
出願人
カシオ計算機株式会社
代理人
弁理士法人光陽国際特許事務所
主分類
G10H
1/18 20060101AFI20250904BHJP(楽器;音響)
要約
【課題】複数の設定項目の中から所望する設定項目の設定値を容易に入力できるようにする。
【解決手段】電子楽器のCPUは、複数の設定項目のそれぞれが割り当てられた複数のエリア161を有するタッチ面160においてタッチスライダー16によりタッチが検出されていない状態からタッチが検出されると、CPUは、タッチ面160のタッチが検出された位置に対応するエリア161に割り当てられている設定項目の値を設定するモードに移行し、前記タッチの解除が検出されると、前記タッチが解除された位置に応じた値を設定対象の設定項目の値として設定する。
【選択図】図5
特許請求の範囲
【請求項1】
複数の設定項目のそれぞれが割り当てられた複数のエリアを有するタッチ面に対するタッチを検出する検出部と、
制御部と、を備え、
前記制御部は、
前記検出部によりタッチが検出されていない状態からタッチが検出されると、前記タッチ面の前記タッチが検出された位置に対応するエリアに割り当てられた設定項目の値を設定するモードに移行し、
前記モードに移行した後、前記検出部により第1のタッチの状態が検出された場合における前記タッチの位置に応じた値を前記設定項目の値として設定する、入力装置。
続きを表示(約 1,300 文字)
【請求項2】
前記制御部は、
前記モードに移行した後、前記第1のタッチの状態として前記タッチの解除が検出された場合に、前記タッチが解除された位置に応じた値を前記設定項目の値として設定する、
請求項1に記載の入力装置。
【請求項3】
前記制御部は、
設定対象の前記設定項目が取り得る値が連続的に変化する値である場合、前記タッチ面の所定方向に沿って前記連続的に変化する値を割り当て、前記検出部により前記タッチが検出された位置からのスライド操作及び前記タッチの解除が検出されると、前記タッチが解除された位置に応じた値を前記設定項目の値として設定する、
請求項2に記載の入力装置。
【請求項4】
前記制御部は、
設定対象の前記設定項目が取り得る値が非連続の値である場合、前記タッチ面に前記非連続の値のそれぞれが割り当てられた複数のエリアを設定し、前記検出部により前記タッチが検出された位置からのスライド操作及び前記タッチの解除が検出されると、前記タッチが解除された位置に対応する前記エリアに応じた値を前記設定項目の値として設定する、
請求項2に記載の入力装置。
【請求項5】
前記制御部は、
設定対象の前記設定項目に応じて前記タッチ面の表示色を変化させる、
請求項1に記載の入力装置。
【請求項6】
前記設定項目は、音に関するパラメータの設定項目であり、
前記制御部は、
設定対象の前記設定項目が所定の設定項目である場合、前記検出部により前記タッチされた位置からのスライド操作が検出されると、前記設定項目の値をスライド後のタッチ位置に応じた値に変更した音を発音部により発音させる、
請求項1に記載の入力装置。
【請求項7】
請求項1~6のいずれか一項に記載の入力装置と、
演奏操作子と、
を備える電子楽器。
【請求項8】
複数の設定項目のそれぞれが割り当てられた複数のエリアを有するタッチ面に対するタッチを検出する検出部を備える入力装置のコンピュータが、
前記検出部によりタッチが検出されていない状態からタッチが検出されると、前記タッチ面の前記タッチが検出された位置に対応するエリアに割り当てられた設定項目の値を設定するモードに移行し、
前記モードに移行した後、前記検出部により第1のタッチの状態が検出された場合における前記タッチの位置に応じた値を前記設定項目の値として設定する、
設定方法。
【請求項9】
複数の設定項目のそれぞれが割り当てられた複数のエリアを有するタッチ面に対するタッチを検出する検出部を備える入力装置のコンピュータに、
前記検出部によりタッチが検出されていない状態からタッチが検出されると、前記タッチ面の前記タッチが検出された位置に対応するエリアに割り当てられた設定項目の値を設定するモードに移行し、
前記モードに移行した後、前記検出部により第1のタッチの状態が検出された場合における前記タッチの位置に応じた値を前記設定項目の値として設定する、
処理を実行させるためのプログラム。
発明の詳細な説明
【技術分野】
【0001】
本発明は、入力装置、電子楽器、設定方法及びプログラムに関する。
続きを表示(約 1,600 文字)
【背景技術】
【0002】
従来、鍵盤の側部にタッチバーからなる入力装置を備える電子楽器が開示されている(例えば、特許文献1参照)。特許文献1の入力装置は、ユーザ操作に応じて連続的に変化する値を受け付けるコンティニュアスモードと、ユーザの非連続操作によって接触されたグリッド位置に応じて各種のパラメータを指定するグリッドモードとが切替え可能である。
【先行技術文献】
【特許文献】
【0003】
特開2023-122459号公報
【発明の概要】
【発明が解決しようとする課題】
【0004】
しかしながら、特許文献1の入力装置では、設定可能な設定項目が複数存在する場合、どの設定項目の値を設定するのかを、例えば物理スイッチ等の別の操作手段で別途入力する必要があり、煩雑である。
【0005】
本発明の課題は、複数の設定項目の中から所望する設定項目の設定値を容易に入力できるようにすることである。
【課題を解決するための手段】
【0006】
上記課題を解決するため、本発明の一態様の入力装置は、
複数の設定項目のそれぞれが割り当てられた複数のエリアを有するタッチ面に対するタッチを検出する検出部と、
制御部と、を備え、
前記制御部は、
前記検出部によりタッチが検出されていない状態からタッチが検出されると、前記タッチ面の前記タッチが検出された位置に対応するエリアに割り当てられた設定項目の値を設定するモードに移行し、
前記モードに移行した後、前記検出部により第1のタッチの状態が検出された場合における前記タッチの位置に応じた値を前記設定項目の値として設定する。
【発明の効果】
【0007】
本発明によれば、複数の設定項目の中から所望する設定項目の設定値を容易に入力できる。
【図面の簡単な説明】
【0008】
本発明に係る電子楽器の機能的構成を示すブロック図である。
図1の電子楽器の外観構成例を示す図である。
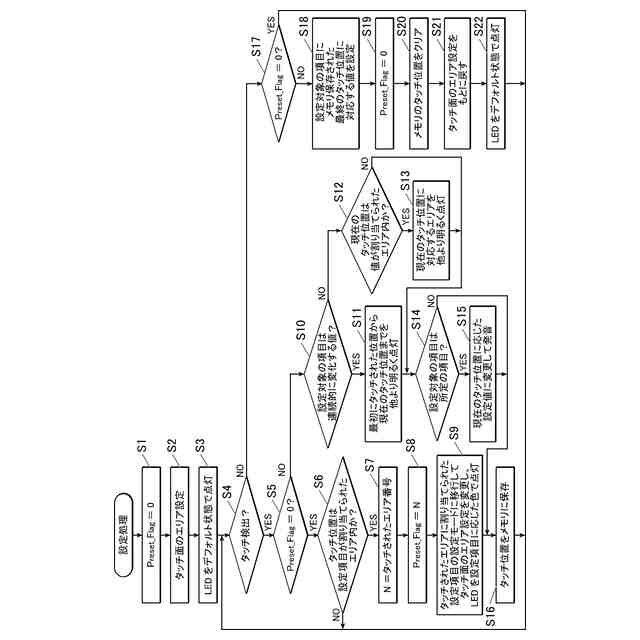
設定処理の流れを示すフローチャートである。
図1のタッチスライダーにおいて、複数の設定項目のそれぞれが割り当てられた複数のエリアが表示された例を示す図である。
設定対象の設定項目が取り得る値が連続的に変化する値である場合のタッチスライダー上の変化を示す図である。
設定対象の設定項目が取り得る値が非連続な値である場合のタッチスライダー上の変化を示す図である。
【発明を実施するための形態】
【0009】
以下に、本発明を実施するための形態について、図面を用いて説明する。但し、以下に述べる実施形態には、本発明を実施するために技術的に好ましい種々の限定が付されている。そのため、本発明の技術的範囲を以下の実施形態及び図示例に限定するものではない。
【0010】
まず、本実施形態の電子楽器100の構成について説明する。
電子楽器100は、図1に示すように、CPU(Central Processing Unit)11等の少なくとも一つのプロセッサと、RAM(Random Access Memory)12と、記憶部13と、鍵盤14と、サウンドシステム15と、タッチスライダー16と、LED17と、LED駆動部18と、通信部19と、を備えている。電子楽器100の各部はバス20により接続されている。本発明の入力装置は、CPU11、タッチスライダー16、LED17及びLED駆動部18を含んで構成される。すなわち、本発明の入力装置は、電子楽器100に含まれる。
(【0011】以降は省略されています)
この特許をJ-PlatPat(特許庁公式サイト)で参照する
関連特許
カシオ計算機株式会社
減音器具
1日前
カシオ計算機株式会社
減音器具
1日前
カシオ計算機株式会社
装飾板及び時計
今日
カシオ計算機株式会社
機器ケース及び時計
23日前
カシオ計算機株式会社
光源装置及び投影装置
1日前
カシオ計算機株式会社
光源装置及び投影装置
1日前
カシオ計算機株式会社
取付構造及び印刷装置
22日前
カシオ計算機株式会社
光源装置及び投影装置
13日前
カシオ計算機株式会社
光源装置及び投影装置
13日前
カシオ計算機株式会社
端末装置及びプログラム
1日前
カシオ計算機株式会社
電子時計及び電子時計本体
14日前
カシオ計算機株式会社
電子機器、及び表示制御方法
3日前
カシオ計算機株式会社
電子時計、外装部材及びバンド
14日前
カシオ計算機株式会社
演奏装置、方法およびプログラム
今日
カシオ計算機株式会社
発音装置及び音出力制御システム
13日前
カシオ計算機株式会社
演奏装置、方法およびプログラム
1日前
カシオ計算機株式会社
指針、時計、及び指針の製造方法
1か月前
カシオ計算機株式会社
補助バスマスタ回路及び電子機器
3日前
カシオ計算機株式会社
制御装置、方法およびプログラム
3日前
カシオ計算機株式会社
制御装置、方法およびプログラム
3日前
カシオ計算機株式会社
時計、表示制御方法及びプログラム
14日前
カシオ計算機株式会社
制御装置、制御方法、及びプログラム
今日
カシオ計算機株式会社
テープ製造方法及びテープ製造システム
21日前
カシオ計算機株式会社
発音装置、接続装置及び音出力システム
13日前
カシオ計算機株式会社
位置推定装置、位置推定方法、プログラム
21日前
カシオ計算機株式会社
情報処理装置、表示方法、及びプログラム
3日前
カシオ計算機株式会社
電子時計、針位置検出方法及びプログラム
22日前
カシオ計算機株式会社
情報処理装置、学習支援方法及びプログラム
27日前
カシオ計算機株式会社
切断制御装置、切断制御方法及びプログラム
13日前
カシオ計算機株式会社
情報提供装置、情報提供方法及びプログラム
1日前
カシオ計算機株式会社
学習支援装置、学習支援方法及びプログラム
1か月前
カシオ計算機株式会社
投影装置、投影装置の調整方法及びプログラム
今日
カシオ計算機株式会社
電子機器、電子機器の制御方法及びプログラム
3日前
カシオ計算機株式会社
電子時計、電子時計の制御方法及びプログラム
3日前
カシオ計算機株式会社
学習支援装置、学習支援方法およびプログラム
13日前
カシオ計算機株式会社
投影装置、投影装置の調整方法及びプログラム
今日
続きを見る
他の特許を見る