TOP
|
特許
|
意匠
|
商標
特許ウォッチ
Twitter
他の特許を見る
公開番号
2025135947
公報種別
公開特許公報(A)
公開日
2025-09-19
出願番号
2024034046
出願日
2024-03-06
発明の名称
自動販売機
出願人
サンデン・リテールシステム株式会社
代理人
個人
,
個人
,
個人
,
個人
主分類
G07F
11/00 20060101AFI20250911BHJP(チェック装置)
要約
【課題】複数の商品ラック機構を備えた自動販売機であって、複数の商品ラック機構の中から、販売待機位置以外の位置で停止した棚板を販売待機位置まで移動させて停止させることが容易にできる自動販売機を提供する。
【解決手段】複数の商品ラック機構9と商品ラック機構9を制御する制御部50とを備え、商品ラック機構9は、搬送用無端チェーン33の周方向に互いに間隔をあけて取り付けられた複数の商品棚16、搬送用無端チェーン33を駆動する駆動モータ34、商品棚16が販売待機位置に到達したことを検知する検知部35、を備え、制御部50は、商品棚16が販売待機位置とは異なる位置で停止した場合に、販売復帰指令が入力されると、複数の商品ラック機構9の中から販売待機位置とは異なる位置で停止した商品棚16の商品ラック機構9の駆動モータ34を駆動させて商品棚16を下方へ移動させ、販売待機位置で停止させる。
【選択図】図6
特許請求の範囲
【請求項1】
本体の内部に設けられた収納庫と、
前記収納庫内において水平方向に配置される複数の商品ラック機構と、
前記複数の商品ラック機構のそれぞれを制御する制御部と、
を備え、
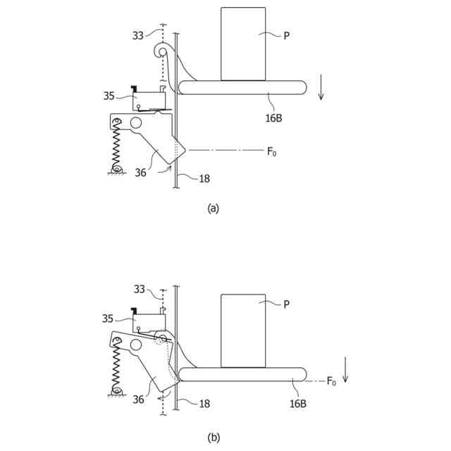
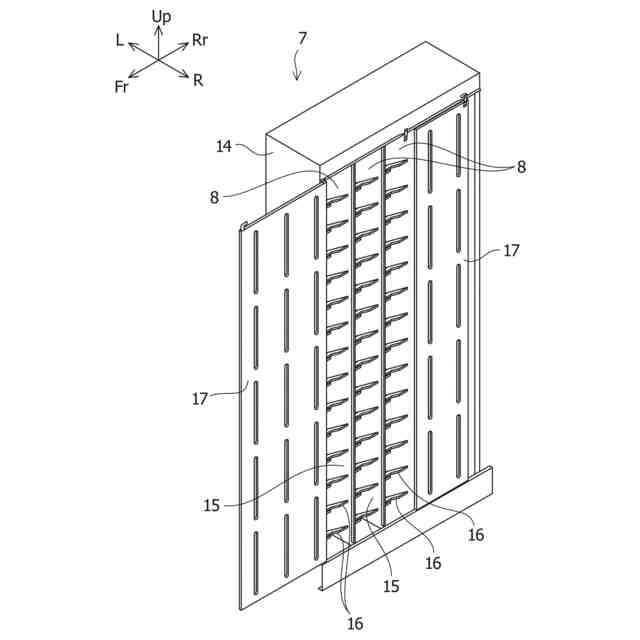
前記複数の商品ラック機構のそれぞれは、上下一対の回転体間に掛け渡された無端環状体と、商品が載置される複数の商品棚であって、前記無端環状体の周方向に互いに間隔をあけて前記無端環状体に取り付けられた複数の商品棚と、前記無端環状体を駆動して前記複数の商品棚を下方に移動させる駆動部と、前記商品棚が前記無端環状体の下端よりも上方の販売待機位置に到達したことを検知する検知部と、を備え、
前記制御部は、商品搬出指令が入力されると、対応する前記商品ラック機構の前記駆動部を駆動させて販売待機位置で停止していた商品棚を下方に移動させ、当該商品棚に載置された商品を前記無端環状体の下端近傍で落下搬出させると共に、当該商品棚に後続する商品棚である後続商品棚が販売待機位置に到達したことを前記検知部が検知すると前記後続商品棚を販売待機位置で停止させ、
少なくとも1つの前記商品ラック機構の前記後続商品棚が前記検知部の検知ではなく販売待機位置とは異なる位置で停止した場合に、販売復帰指令が入力されると、前記複数の商品ラック機構の中から、販売待機位置とは異なる位置で停止した前記後続商品棚の前記商品ラック機構の前記駆動部を駆動させて前記後続商品棚を下方へ移動させ、前記検知部の検知によって前記後続商品棚を販売待機位置で停止させることを特徴とする自動販売機。
続きを表示(約 2,800 文字)
【請求項2】
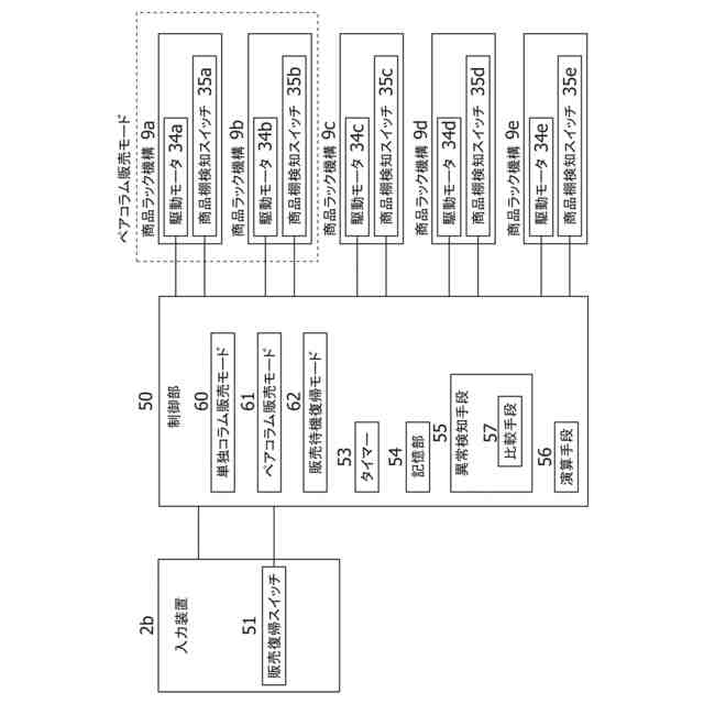
前記駆動部が過負荷であることを検知する異常検知手段を有し、
前記制御部は、前記後続商品棚が販売待機位置に到達する前に、前記駆動部が過負荷であると前記異常検知手段が検知した場合には前記駆動部を強制停止させ、前記強制停止によって前記後続商品棚が販売待機位置とは異なる位置で停止した場合に、販売復帰指令が入力されると、複数の前記商品ラック機構の中から強制停止した当該駆動部を駆動させて前記後続商品棚を下方へ移動させ、前記検知部の検知によって前記後続商品棚を販売待機位置で停止させることを特徴とする請求項1に記載の自動販売機。
【請求項3】
前記駆動部が駆動を開始してからの経過時間を計測するタイマーを有し、
前記経過時間が所定の時間を超えても、前記商品棚が前記販売待機位置に到達したことを前記検知部が検知しない場合に、前記異常検知手段は前記駆動部が過負荷であると検知することを特徴とする請求項2に記載の自動販売機。
【請求項4】
前記複数の商品ラック機構の中から、前記検知部の検知ではなく前記販売待機位置とは異なる位置で停止した前記後続商品棚の前記商品ラック機構を記憶する記憶部を有し、
前記制御部は、販売復帰指令が入力されると、前記記憶部に記憶された前記商品ラック機構の前記駆動部を駆動させて前記後続商品棚を下方へ移動させ、前記検知部の検知によって前記後続商品棚を販売待機位置で停止させることを特徴とする請求項1または2に記載の自動販売機。
【請求項5】
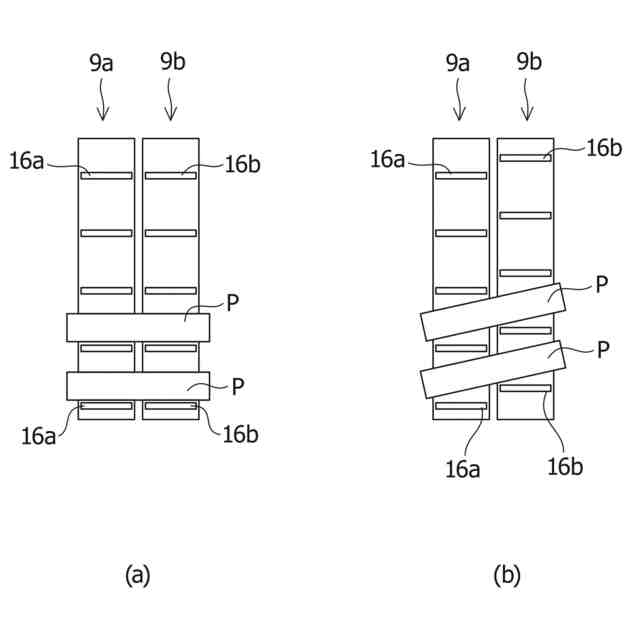
隣り合う2基の前記商品ラック機構の一方の前記商品ラック機構の前記商品棚と他方の前記商品ラック機構の前記商品棚との相互の前記商品棚にまたがって商品が載置され、当該2基の商品ラック機構の前記駆動部を連係駆動させて当該相互の商品棚を下方へ移動させ、当該相互の商品棚にまたがって載置された商品を前記無端環状体の下端近傍で落下搬出させると共に、当該相互の商品棚に後続する前記商品棚である相互の後続商品棚が販売待機位置に到達したことを前記検知部が検知すると前記駆動部を停止させて相互の前記後続商品棚を販売待機位置で停止させるペアコラム販売モードを有し、
前記ペアコラム販売モードにおいて、相互の前記後続商品棚における一方の前記後続商品棚が前記検知部の検知によって販売待機位置で停止し、相互の前記後続商品棚における他方の前記後続商品棚が前記検知部の検知ではなく販売待機位置とは異なる位置で停止した場合に、販売復帰指令が入力されると、販売待機位置とは異なる位置で停止した他方の前記後続商品棚の前記商品ラック機構の前記駆動部を駆動させて他方の前記後続商品棚を下方へ移動させ、前記検知部の検知によって前記販売待機位置で停止させることを特徴とする請求項1または2に記載の自動販売機。
【請求項6】
作業者が操作する販売復帰スイッチを有しており、
前記販売復帰スイッチがONされると、前記制御部に前記販売復帰指令が入力されることを特徴とする請求項1または2に記載の自動販売機。
【請求項7】
本体の内部に設けられた収納庫と、
前記収納庫内において水平方向に配置される複数の商品ラック機構と、
前記複数の商品ラック機構のそれぞれを制御する制御部と、
を備え、
前記複数の商品ラック機構のそれぞれは、上下方向に渦巻き状に延びて上下方向に所定間隔で複数の商品を支持すると共に縦軸中心に回転可能な商品支持用スパイラルと、前記商品支持用スパイラルに支持される前記複数の商品が前記商品支持用スパイラルと共に回転することを阻止する回転阻止部と、前記商品支持用スパイラルを回転させて前記複数の商品を上方から下方に向けて移動させる駆動部と、前記商品支持用スパイラルが所定の回転位置に到達したことを検知して前記駆動部を停止させるための検知部と、
を備え、
前記商品支持用スパイラルが回転を開始してから前記検知部の検知によって前記商品支持用スパイラルが前記所定の回転位置で停止するまでの回転角は前記所定間隔に対応する回転角であり、
前記制御部は、商品搬出指令が入力されると、対応する前記商品ラック機構の前記駆動部を駆動させて前記商品支持用スパイラルに支持された商品を前記商品支持用スパイラルの回転によって下方に移動させ、前記商品支持用スパイラルの最下位に支持された商品を前記商品支持用スパイラルの下端から落下搬出させると共に、前記商品支持用スパイラルが前記所定の回転位置に到達したことを前記検知部が検知すると前記商品支持用スパイラルの回転を停止させ、
少なくとも1つの前記商品ラック機構の前記商品支持用スパイラルが前記検知部の検知ではなく前記所定の回転位置とは異なる回転位置で停止した場合に、販売復帰指令が入力されると、前記複数の商品ラック機構の中から、前記検知部の検知ではなく前記所定の回転位置とは異なる回転位置で停止した前記商品支持用スパイラルを備える前記商品ラック機構の前記駆動部を駆動させて前記商品支持用スパイラルを回転させ、前記検知部の検知によって前記商品支持用スパイラルを前記所定の回転位置で停止させることを特徴とする自動販売機。
【請求項8】
本体の内部に設けられた収納庫と、
前記収納庫内において水平方向に配置される複数の商品ラック機構と、
前記複数の商品ラック機構のそれぞれを制御する制御部と、
を備え、
前記複数の商品ラック機構のそれぞれは、上下方向に所定間隔で複数の商品を支持する商品移動体であって、動作により前記複数の商品を上方から下方に向けて移動させる商品移動体と、前記商品移動体を動作させる駆動部と、前記商品移動体が所定の動作位置に到達したことを検知して前記駆動部を停止させるための検知部と、を備え、
前記制御部は、商品搬出指令が入力されると、対応する前記商品ラック機構の前記駆動部を駆動させて前記商品移動体の最下位に支持された商品を下方に移動させ、前記商品移動体の下端側で当該商品を落下搬出させると共に、前記商品移動体が所定の動作位置に到達したことを前記検知部が検知すると前記駆動部を停止させ、
少なくとも1つの前記商品ラック機構の前記商品移動体が前記検知部の検知ではなく所定の動作位置とは異なる位置で停止した場合に、販売復帰指令が入力されると、前記複数の商品ラック機構の中から、所定の動作位置とは異なる位置で停止した前記商品移動体の前記商品ラック機構の前記駆動部を駆動させて前記商品移動体を動作させ、前記検知部の検知によって前記商品移動体を所定の動作位置で停止させることを特徴とする自動販売機。
発明の詳細な説明
【技術分野】
【0001】
本発明は、無端チェーンなどの無端環状体により、商品が載置された複数の商品棚を順次下降させて下端近傍の商品棚から商品を落下搬出させる商品ラック機構を有する自動販売機に関する。
続きを表示(約 2,400 文字)
【背景技術】
【0002】
この種の自動販売機の一例として特許文献1に記載された自動販売機が知られている。特許文献1に記載された自動販売機は、複数のチェーンエレベータ式ラック機構(商品ラック機構)を備えており、各チェーンエレベータ式ラック機構は、上下一対のスプロケット間に張られた無端チェーンと、無端チェーンに定ピッチで連結されて商品が載置される複数の棚板(商品棚)と、無端チェーンを駆動して複数の棚板を下方向に移動させる駆動モータと、下方に移動する棚板が無端チェーンの下端よりも上方の販売待機位置に到達したことを検知する棚板検知スイッチと、を有する。
【0003】
このような自動販売機は、商品搬出指令が入力されると、駆動モータで無端チェーンを駆動し、販売待機位置で停止している棚板を無端チェーンの下端近傍まで移動させて、商品を落下搬出させる。商品を落下搬出させた棚板に後続する棚板は棚板検知スイッチによって検知されると販売待機位置で停止する。
【先行技術文献】
【特許文献】
【0004】
特開平09-50574号公報
【発明の概要】
【発明が解決しようとする課題】
【0005】
複数の商品ラック機構を備える自動販売機は、後続する棚板が棚板検知スイッチによって検知されていないにもかかわらず、何らかの原因によって、販売待機位置とは異なる位置で停止(異常停止)する場合がある。その場合、作業者が、異常停止の原因を除去した後、駆動モータで無端チェーンを駆動させて、異常停止した後続する棚板を販売待機位置まで移動させて停止させる必要がある。しかし、複数の商品ラック機構の中から、異常停止した後続する棚板を販売待機位置まで移動させて停止させることは、作業者にとって容易な作業とはいえず、これを改善することが望まれていた。
【0006】
本発明は、上記のような実状に鑑みてなされたものであり、その目的は、複数の商品ラック機構を備えた自動販売機であって、複数の商品ラック機構の中から、販売待機位置以外の位置で停止した棚板を販売待機位置まで移動させて停止させることが容易にできる自動販売機を提供することである。
【課題を解決するための手段】
【0007】
本発明の一態様は、本体の内部に設けられた収納庫と、収納庫内において水平方向に配置される複数の商品ラック機構と、複数の商品ラック機構のそれぞれを制御する制御部と、を備え、複数の商品ラック機構のそれぞれは、上下一対の回転体間に掛け渡された無端環状体と、商品が載置される複数の商品棚であって、無端環状体の周方向に互いに間隔をあけて無端環状体に取り付けられた複数の商品棚と、無端環状体を駆動して複数の商品棚を下方に移動させる駆動部と、商品棚が前記無端環状体の下端よりも上方の販売待機位置に到達したことを検知する検知部と、を備え、制御部は、商品搬出指令が入力されると、対応する前記商品ラック機構の駆動部を駆動させて販売待機位置で停止していた商品棚を下方に移動させ、当該商品棚に載置された商品を無端環状体の下端近傍で落下搬出させると共に、当該商品棚に後続する商品棚である後続商品棚が販売待機位置に到達したことを検知部が検知すると後続商品棚を販売待機位置で停止させ、少なくとも1つの商品ラック機構の後続商品棚が検知部の検知ではなく販売待機位置とは異なる位置で停止した場合に、販売復帰指令が入力されると、前記複数の商品ラック機構の中から、販売待機位置とは異なる位置で停止した後続商品棚の商品ラック機構の駆動部を駆動させて後続商品棚を下方へ移動させ、検知部の検知によって後続商品棚を販売待機位置で停止させる自動販売機である。
【発明の効果】
【0008】
本発明の一態様によれば、複数の商品ラック機構を備えた自動販売機であって、複数の商品ラック機構の中から、販売待機位置以外の位置で停止した棚板を販売待機位置まで移動させて停止させることが容易にできる自動販売機を提供できる。
【図面の簡単な説明】
【0009】
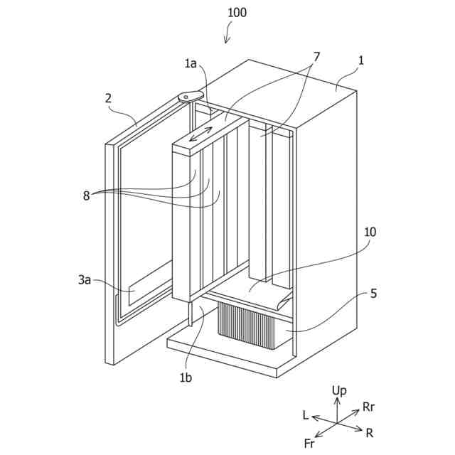
本発明の第一実施形態による自動販売機を正面側から視た斜視図である。
本発明の第一実施形態による自動販売機の自動販売機の側面断面図である。
本発明の第一実施形態による自動販売機の商品ラックユニットを正面側から視た斜視図である。
本発明の第一実施形態による自動販売機の商品ラック機構を示す概略図である。
本発明の第一実施形態による自動販売機の商品ラック機構に組み込んだ商品棚検知スイッチの動作を示す図であり、(a)は商品棚が下降途中にある状態を示す図であり、(b)は商品棚が販売待機位置に配置された状態を示す図である。
本発明の第一実施形態による自動販売機の制御ブロック図である。
本発明の第一実施形態による自動販売機の隣り合う商品収納ラックを示す正面図であり、(a)は仕切板が設けられて、単独コラム販売モードにおける商品棚の配置状態を示す図であり、(b)は仕切板が外されて、ペアコラム販売モードにおける商品棚の配置状態を示す図である。
本発明の第一実施形態による自動販売機のペアコラム販売モードにおける商品棚の配置状態を示す図であり、(a)は商品棚の正常な状態を示す図であり、(b)は商品棚の正常でない状態を示す図である。
【発明を実施するための形態】
【0010】
以下、本発明の実施形態について、図面を参照しながら詳細に説明する。本発明の実施形態による自動販売機は、商品棚を有する複数の商品ラックが水平方向(本実施形態においては前後方向)に並べられた自動販売機である。
(【0011】以降は省略されています)
この特許をJ-PlatPat(特許庁公式サイト)で参照する
関連特許
株式会社イシダ
商品処理装置
4日前
富士電機株式会社
通貨識別装置
2か月前
沖電気工業株式会社
媒体処理装置
1か月前
沖電気工業株式会社
紙幣処理装置
1か月前
沖電気工業株式会社
媒体処理装置
1か月前
沖電気工業株式会社
媒体処理装置
1か月前
株式会社ライト
情報処理装置
1か月前
株式会社ライト
情報処理装置
1か月前
株式会社ライト
情報処理装置
2か月前
富士電機株式会社
自動販売機
1か月前
富士電機株式会社
金銭処理装置
2か月前
株式会社デンソー
車載器
2日前
グローリー株式会社
物品投出装置
26日前
株式会社トイスピリッツ
景品提供システム
1か月前
日本金銭機械株式会社
硬貨処理装置
6日前
日本金銭機械株式会社
硬貨処理装置
6日前
ユニティガードシステム株式会社
入館監視システム
1か月前
沖電気工業株式会社
現金処理装置及び印字装置
16日前
沖電気工業株式会社
媒体処理装置
1か月前
沖電気工業株式会社
現金処理装置
1か月前
旭精工株式会社
紙葉類処理装置および紙葉類処理方法
16日前
沖電気工業株式会社
棒金収納装置
3日前
沖電気工業株式会社
棒金収納装置
1か月前
独立行政法人 国立印刷局
画像観察装置及び画像観察方法
1か月前
沖電気工業株式会社
媒体識別装置及び媒体処理装置
1か月前
沖電気工業株式会社
硬貨処理装置及び貨幣取扱装置
1か月前
株式会社東芝
ドア構造
1か月前
中井銘鈑株式会社
商品見本取付け構造
1か月前
グローリー株式会社
紙幣処理方法
2か月前
富士電機株式会社
自動販売機
2か月前
株式会社寺岡精工
施設管理システム
1か月前
富士電機株式会社
硬貨処理装置
1か月前
東芝テック株式会社
ゲート装置
2か月前
東芝テック株式会社
ゲート装置
1か月前
アサヒ飲料株式会社
自動販売機の追加商品展示部の設置方法
1か月前
東芝テック株式会社
決済システム
1か月前
続きを見る
他の特許を見る