TOP
|
特許
|
意匠
|
商標
特許ウォッチ
Twitter
他の特許を見る
10個以上の画像は省略されています。
公開番号
2025146026
公報種別
公開特許公報(A)
公開日
2025-10-03
出願番号
2024046591
出願日
2024-03-22
発明の名称
入力文作成装置、入力文作成方法及びプログラム
出願人
カシオ計算機株式会社
代理人
個人
主分類
G06F
40/56 20200101AFI20250926BHJP(計算;計数)
要約
【課題】より適切なレスポンスをユーザに返すためのプロンプト(大規模言語モデルへの入力文)を作成する。
【解決手段】入力文作成装置100は、ユーザが楽器を演奏することによって得られる演奏情報から抽出されたデータであって、ノートナンバー情報、ベロシティ情報及びデュレーション情報のうち少なくともいずれかを含むデータをユーザ演奏データとして取得し、ユーザ演奏データに基づいて、大規模言語モデルへの入力文データを作成する、制御部110を備える。
【選択図】図1
特許請求の範囲
【請求項1】
ユーザが楽器を演奏することによって得られる演奏情報から抽出されたデータであって、ノートナンバー情報、ベロシティ情報及びデュレーション情報のうち少なくともいずれかを含むデータをユーザ演奏データとして取得し、
前記ユーザ演奏データに基づいて、大規模言語モデルへの入力文データを作成する、
制御部を備える、
入力文作成装置。
続きを表示(約 1,300 文字)
【請求項2】
前記制御部は、
前記ユーザが演奏している曲の正しい演奏情報から抽出されたデータであって、ノートナンバー情報、ベロシティ情報及びデュレーション情報のうち少なくともいずれかと、小節情報と、を含むデータである正解演奏データを取得し、
前記ユーザ演奏データ及び前記正解演奏データに基づいて前記入力文データを作成する、
請求項1に記載の入力文作成装置。
【請求項3】
前記制御部は、
前記大規模言語モデルの役割を説明する文章である役割説明文を前記入力文データに含める、
請求項2に記載の入力文作成装置。
【請求項4】
前記制御部は、
出力される内容を説明する文章である出力内容説明文を前記入力文データに含める、
請求項3に記載の入力文作成装置。
【請求項5】
前記制御部は、
前記大規模言語モデルへの前記ユーザ演奏データ及び前記正解演奏データの入力の仕方を説明する文章である入力データ説明文を前記入力文データに含める、
請求項4に記載の入力文作成装置。
【請求項6】
前記制御部は、
前記入力文データを作成する際に、前記ユーザ演奏データ及び前記正解演奏データに含まれるノートナンバー情報の表記をハ長調における階名での表記に変換する、
請求項2に記載の入力文作成装置。
【請求項7】
前記制御部は、
前記ユーザ演奏データと前記正解演奏データとを比較してどの小節で演奏ミスが生じているかを示す演奏ミスデータを作成し、
前記演奏ミスデータに基づいて前記入力文データを作成する、
請求項2に記載の入力文作成装置。
【請求項8】
前記制御部は、
ノートナンバー情報については前記ユーザ演奏データと前記正解演奏データとで値が異なっていれば演奏ミスと判定するが、ベロシティ情報及びデュレーション情報については前記ユーザ演奏データと前記正解演奏データとで値が基準割合以上異なっていたら演奏ミスと判定する、
請求項7に記載の入力文作成装置。
【請求項9】
制御部が、
ユーザが楽器を演奏することによって得られる演奏情報から抽出されたデータであって、ノートナンバー情報、ベロシティ情報及びデュレーション情報のうち少なくともいずれかを含むデータをユーザ演奏データとして取得し、
前記ユーザ演奏データに基づいて、大規模言語モデルへの入力文データを作成する、
入力文作成方法。
【請求項10】
制御部に、
ユーザが楽器を演奏することによって得られる演奏情報から抽出されたデータであって、ノートナンバー情報、ベロシティ情報及びデュレーション情報のうち少なくともいずれかを含むデータをユーザ演奏データとして取得し、
前記ユーザ演奏データに基づいて、大規模言語モデルへの入力文データを作成する、
処理を実行させるプログラム。
発明の詳細な説明
【技術分野】
【0001】
本発明は、入力文作成装置、入力文作成方法及びプログラムに関する。
続きを表示(約 1,500 文字)
【背景技術】
【0002】
ユーザが行った演奏の情報に基づいて、効率的に練習を行えるようにする装置が知られている。例えば特許文献1には、演奏エラー(演奏間違い、演奏ミス)の判定を小節単位で行い、演奏エラーの数が基準値以上である演奏区間をエラー区間として検出し、エラー区間の自動演奏を所定回数繰返し行うことにより、ユーザが演奏ミスをしてしまう部分を効率よく練習できる電子楽器が開示されている。
【先行技術文献】
【特許文献】
【0003】
特開2007-271677号公報
【発明の概要】
【発明が解決しようとする課題】
【0004】
特許文献1に開示されている技術では、ユーザが演奏ミスをした小節を判定したり、演奏ミスをした演奏区間を自動演奏したりすることはできるが、より適切なレスポンスをユーザに返すことはできなかった。
【0005】
本発明は、上記実情に鑑みてなされたものであり、より適切なレスポンスをユーザに返すためのプロンプト(大規模言語モデルへの入力文)を作成することができる入力文作成装置、入力文作成方法及びプログラムを提供することを目的とする。
【課題を解決するための手段】
【0006】
上記目的を達成するため、本発明に係る入力文作成装置の一態様は、
ユーザが楽器を演奏することによって得られる演奏情報から抽出されたデータであって、ノートナンバー情報、ベロシティ情報及びデュレーション情報のうち少なくともいずれかを含むデータをユーザ演奏データとして取得し、
前記ユーザ演奏データに基づいて、大規模言語モデルへの入力文データを作成する、
制御部を備える。
【発明の効果】
【0007】
本発明によれば、より適切なレスポンスをユーザに返すためのプロンプトを作成することができる。
【図面の簡単な説明】
【0008】
入力文作成装置の機能構成の一例を示すブロック図である。
演奏評価システムの構成例の一例を示すブロック図である。
正解演奏データ無しの場合のプロンプト作成処理のフローチャートの一例である。
正解無し評価指示文を用いて作成されたプロンプトと大規模言語モデルからの回答文の一例を示す図である。
正解演奏データ有りの場合のプロンプト作成処理のフローチャートの一例である。
正解有り評価指示文を用いて作成されたプロンプトと大規模言語モデルからの回答文の一例を示す図である。
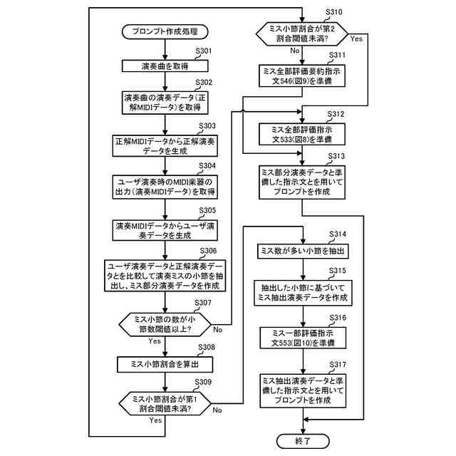
演奏ミスを判定する場合のプロンプト作成処理のフローチャートの一例である。
ミス全部評価指示文を用いて作成されたプロンプトの一例を示す図である。
ミス全部評価要約指示文を用いて作成されたプロンプトの一例を示す図である。
ミス一部評価指示文を用いて作成されたプロンプトの一例を示す図である。
ノートナンバーを階名表記したユーザ演奏データ及び正解演奏データの一例とこれらを用いて作成されたプロンプトの一例を示す図である。
【発明を実施するための形態】
【0009】
実施の形態に係る入力文作成装置等について、図面を参照して説明する。なお、図中同一又は相当する部分には同一符号を付す。
【0010】
実施の形態に係る入力文作成装置100は、図1に示すように、制御部110、記憶部120、操作入力部130、表示部140、楽器接続部150、通信部160を備える。
(【0011】以降は省略されています)
この特許をJ-PlatPat(特許庁公式サイト)で参照する
関連特許
カシオ計算機株式会社
支持台
今日
カシオ計算機株式会社
減音器具
2日前
カシオ計算機株式会社
減音器具
2日前
カシオ計算機株式会社
電子鍵盤楽器
今日
カシオ計算機株式会社
装飾板及び時計
1日前
カシオ計算機株式会社
光源装置及び投影装置
14日前
カシオ計算機株式会社
光源装置及び投影装置
2日前
カシオ計算機株式会社
光源装置及び投影装置
2日前
カシオ計算機株式会社
端末装置及びプログラム
2日前
カシオ計算機株式会社
外装部品ユニット及び時計
今日
カシオ計算機株式会社
電子機器、及び表示制御方法
4日前
カシオ計算機株式会社
カッターユニット及び切断装置
今日
カシオ計算機株式会社
制御装置、方法およびプログラム
4日前
カシオ計算機株式会社
制御装置、方法およびプログラム
4日前
カシオ計算機株式会社
補助バスマスタ回路及び電子機器
4日前
カシオ計算機株式会社
演奏装置、方法およびプログラム
2日前
カシオ計算機株式会社
演奏装置、方法およびプログラム
1日前
カシオ計算機株式会社
発音装置及び音出力制御システム
14日前
カシオ計算機株式会社
ロボット、及びロボットの製造方法
今日
カシオ計算機株式会社
制御装置、制御方法、及びプログラム
1日前
カシオ計算機株式会社
外装部品、外装部品ユニット及び時計
今日
カシオ計算機株式会社
情報処理装置、方法およびプログラム
今日
カシオ計算機株式会社
プログラム、電子機器及び登録処理方法
今日
カシオ計算機株式会社
電子機器、登録処理方法及びプログラム
今日
カシオ計算機株式会社
情報処理装置、表示方法、及びプログラム
4日前
カシオ計算機株式会社
情報提供装置、情報提供方法及びプログラム
2日前
カシオ計算機株式会社
情報処理装置、プログラム及び情報処理方法
今日
カシオ計算機株式会社
切断制御装置、切断制御方法及びプログラム
14日前
カシオ計算機株式会社
音声提供装置、音声提供方法及びプログラム
今日
カシオ計算機株式会社
印刷装置、印刷装置の制御方法及びプログラム
今日
カシオ計算機株式会社
電子時計、電子時計の制御方法及びプログラム
4日前
カシオ計算機株式会社
投影装置、投影装置の調整方法及びプログラム
1日前
カシオ計算機株式会社
投影装置、投影装置の調整方法及びプログラム
1日前
カシオ計算機株式会社
電子楽器、電子楽器の制御方法及びプログラム
今日
カシオ計算機株式会社
情報処理装置、表示制御方法、及びプログラム
今日
カシオ計算機株式会社
電子機器、電子機器の制御方法及びプログラム
4日前
続きを見る
他の特許を見る