TOP
|
特許
|
意匠
|
商標
特許ウォッチ
Twitter
他の特許を見る
公開番号
2025139743
公報種別
公開特許公報(A)
公開日
2025-09-29
出願番号
2024038750
出願日
2024-03-13
発明の名称
液体吐出装置
出願人
セイコーエプソン株式会社
代理人
個人
,
個人
,
個人
主分類
B41J
2/17 20060101AFI20250919BHJP(印刷;線画機;タイプライター;スタンプ)
要約
【課題】風紋を抑制できる液体吐出装置を提供する。
【解決手段】搬送方向Dyに搬送される媒体19に、液体を吐出する液体吐出部18と、液体吐出部18と対向し、液体吐出部18によって液体を吐出される媒体19を支持する支持部23と、液体吐出部18と支持部23との間に、搬送方向Dyの下流に向けて、搬送方向Dyに沿った気流を生成する気流生成部14と、を備える。
【選択図】図1
特許請求の範囲
【請求項1】
搬送方向に搬送される媒体に、液体を吐出する液体吐出部と、
前記液体吐出部と対向し、前記液体吐出部によって液体を吐出される媒体を支持する支持部と、
前記液体吐出部と前記支持部との間に、前記搬送方向の下流に向けて、前記搬送方向に沿った気流を生成する気流生成部と、
を備えることを特徴とする液体吐出装置。
続きを表示(約 1,200 文字)
【請求項2】
前記気流生成部は、
前記液体吐出部に向けて開口する1以上のダクトと、
1以上の前記ダクト内の空気を流動させる1以上のファンと、
を有し、
1以上の前記ダクトのうち、前記液体吐出部より前記搬送方向の上流で開口する前記ダクトは、前記搬送方向の下流に向けて空気を送り出し、
1以上の前記ダクトのうち、前記液体吐出部より前記搬送方向の下流で開口する前記ダクトは、空気を吸引することを特徴とする請求項1に記載の液体吐出装置。
【請求項3】
前記気流生成部は、
前記ダクトに接続される圧力室と、
前記圧力室と前記ファンとを接続する管路と、
を有し、
前記ファンは、前記ダクトと、前記圧力室と、前記管路と、のそれぞれの内部の空気を流動方向に流動させ、
前記流動方向に垂直な前記圧力室の断面積は、前記ダクトと前記管路のそれぞれの前記流動方向に垂直な断面積より大きいことを特徴とする請求項2に記載の液体吐出装置。
【請求項4】
前記液体吐出部は、前記搬送方向と交差する幅方向に亘って液体を吐出可能であり、
前記ダクトの開口は、前記幅方向において前記支持部より大きいことを特徴とする請求項2に記載の液体吐出装置。
【請求項5】
前記ダクトにおける前記幅方向の2つの位置を第1位置と第2位置としたとき、
流動方向における前記第1位置と前記ファンとの距離は、前記流動方向における前記第2位置と前記ファンとの距離より長く、
前記第1位置における前記幅方向に垂直な前記ダクトの断面積は、前記第2位置における前記幅方向に垂直な前記ダクトの断面積より大きいことを特徴とする請求項4に記載の液体吐出装置。
【請求項6】
前記第1位置における前記ダクトは、前記第2位置における前記ダクトより太いことを特徴とする請求項5に記載の液体吐出装置。
【請求項7】
前記ファンは、前記幅方向において、媒体が搬送される搬送領域の外側に設けられることを特徴とする請求項5に記載の液体吐出装置。
【請求項8】
前記ダクトの開口は、前記液体吐出部よりも前記搬送方向の上流に位置し、
前記ファンは、前記搬送方向の下流に向けて、前記搬送方向に沿って送風することを特徴とする請求項2~請求項7のうち何れか一項に記載の液体吐出装置。
【請求項9】
前記ダクトの開口は、前記液体吐出部よりも前記搬送方向の下流に位置し、
前記ファンは、前記搬送方向の下流から、前記搬送方向に沿って吸引することを特徴とする請求項2~請求項7のうち何れか一項に記載の液体吐出装置。
【請求項10】
前記気流生成部は、ミストを捕集可能な捕集部を有することを特徴とする請求項9に記載の液体吐出装置。
(【請求項11】以降は省略されています)
発明の詳細な説明
【技術分野】
【0001】
本発明は、プリンターなどの液体吐出装置に関する。
続きを表示(約 1,300 文字)
【背景技術】
【0002】
例えば特許文献1のように、液体吐出部の一例であるラインヘッドから液体の一例であるインクを吐出して印刷する液体吐出装置の一例であるインクジェット印刷装置がある。インクジェット印刷装置は、媒体の一例である印刷媒体を搬送する支持部の一例である搬送ベルトを備える。ラインヘッドは、搬送されている印刷媒体に対して、ノズルからインクを吐出して印刷を行う。
【0003】
搬送される印刷媒体が生じさせる気流を搬送気流ともいう。ノズルから吐出された液体が生じさせる気流を自己気流ともいう。自己気流は、印刷媒体に衝突したあと、印刷媒体から離れるように舞い上がる。搬送気流と自己気流は、相互に作用することで気流を複雑に乱し、乱流を生じさせることがある。乱流は、吐出された液体の印刷媒体に付着する位置をずらすことで、印刷物に濃度むらを生じさせる。濃度むらは、風紋とも呼ばれる。
【0004】
インクジェット印刷装置は、印刷した画像を読み取ることで生じた風紋を解析すると共に、濃度補正係数を設定する。インクジェット印刷装置は、濃度補正係数によって画像データを補正処理することで風紋を低減させる。
【先行技術文献】
【特許文献】
【0005】
特開2020-116823号公報
【発明の概要】
【発明が解決しようとする課題】
【0006】
乱流は、予測が難しい。そのため、風紋を画像データの処理のみによって抑制することは、困難な場合がある。
【課題を解決するための手段】
【0007】
上記課題を解決する液体吐出装置は、搬送方向に搬送される媒体に、液体を吐出する液体吐出部と、前記液体吐出部と対向し、前記液体吐出部によって液体を吐出される媒体を支持する支持部と、前記液体吐出部と前記支持部との間に、前記搬送方向の下流に向けて、前記搬送方向に沿った気流を生成する気流生成部と、を備える。
【図面の簡単な説明】
【0008】
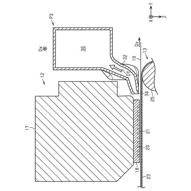
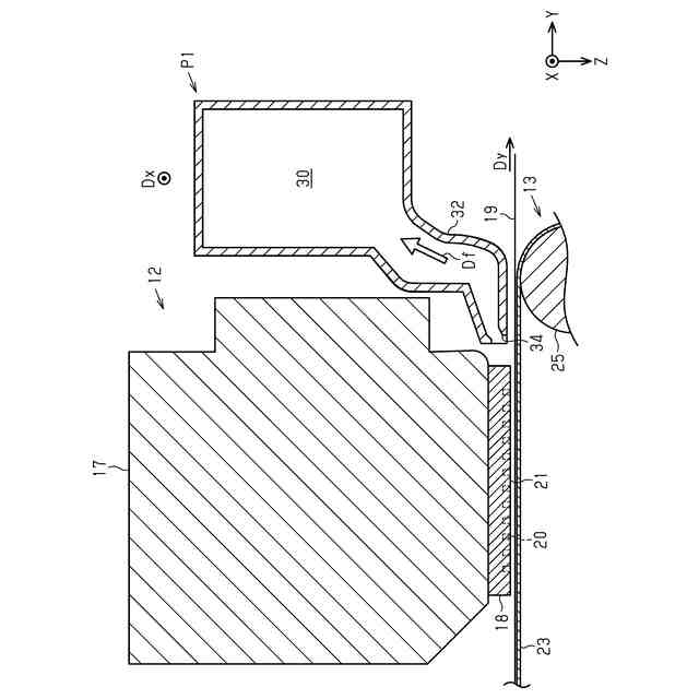
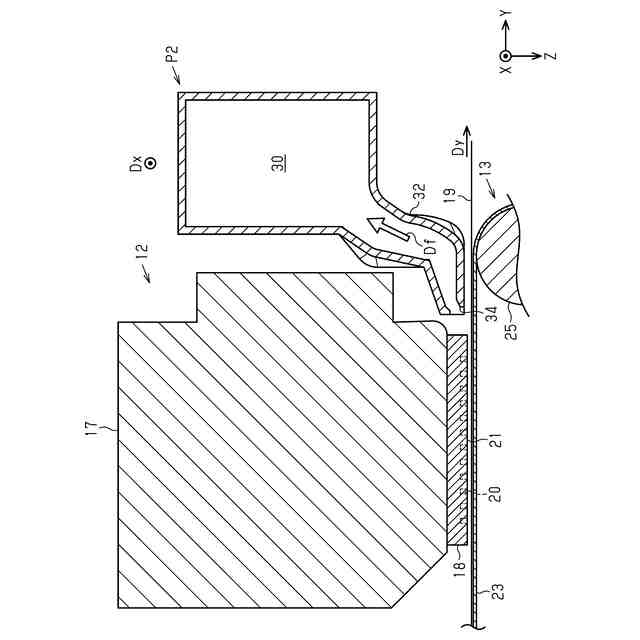
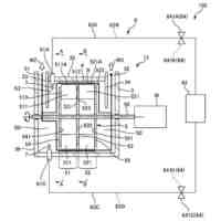
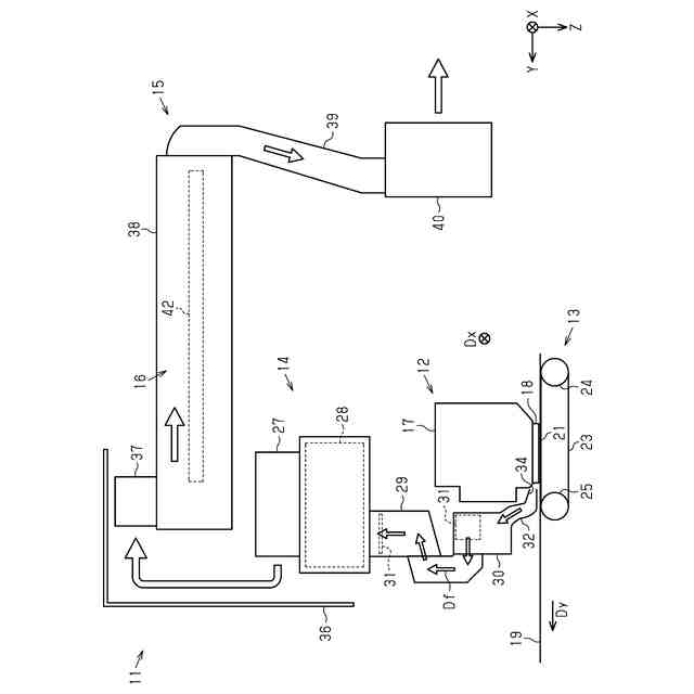
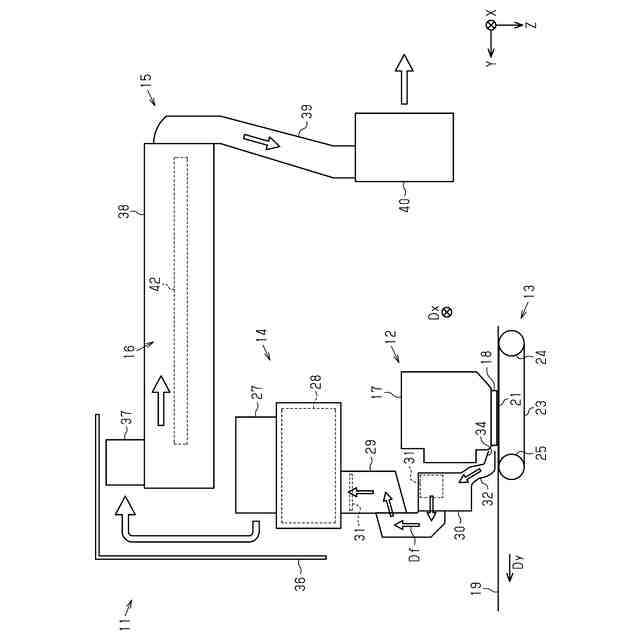
図1は、液体吐出装置の第1実施形態の模式正面図である。
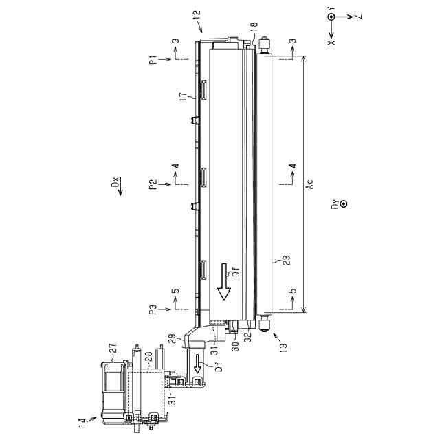
図2は、気流生成部の側面図である。
図3は、図2における3-3線矢視断面図である。
図4は、図2における4-4線矢視断面図である。
図5は、図2における5-5線矢視断面図である。
図6は、液体吐出装置の第2実施形態の模式正面図である。
【発明を実施するための形態】
【0009】
[第1実施形態]
以下、液体吐出装置の第1実施形態を、図面を参照して説明する。液体吐出装置は、例えば、用紙、布帛、ビニール、プラスチック部品、金属部品などの媒体に液体の一例であるインクを吐出して印刷するインクジェット式のプリンターである。
【0010】
図面では、液体吐出装置11が水平面上に置かれているものとして重力の方向をZ軸で示し、水平面に沿う方向をX軸とY軸で示す。X軸、Y軸、及びZ軸は、互いに直交する。
(【0011】以降は省略されています)
この特許をJ-PlatPat(特許庁公式サイト)で参照する
関連特許
セイコーエプソン株式会社
印刷装置
1日前
セイコーエプソン株式会社
印刷装置
今日
セイコーエプソン株式会社
印刷装置
3日前
セイコーエプソン株式会社
印刷装置
3日前
セイコーエプソン株式会社
印刷装置
3日前
セイコーエプソン株式会社
印刷装置
3日前
セイコーエプソン株式会社
印刷装置
今日
セイコーエプソン株式会社
印刷装置
1日前
セイコーエプソン株式会社
微細化装置
今日
セイコーエプソン株式会社
気体分離膜
3日前
セイコーエプソン株式会社
画像読取装置
3日前
セイコーエプソン株式会社
虚像表示装置
3日前
セイコーエプソン株式会社
液体吐出装置
3日前
セイコーエプソン株式会社
画像読取装置
7日前
セイコーエプソン株式会社
プロジェクター
6日前
セイコーエプソン株式会社
プロジェクター
7日前
セイコーエプソン株式会社
A/D変換回路
7日前
セイコーエプソン株式会社
液体吐出ヘッド
3日前
セイコーエプソン株式会社
電子制御式機械時計
1日前
セイコーエプソン株式会社
スクリーンの製造方法
3日前
セイコーエプソン株式会社
栽培用培地の製造方法
今日
セイコーエプソン株式会社
慣性センサーおよび車両
7日前
セイコーエプソン株式会社
波長可変干渉フィルター
3日前
セイコーエプソン株式会社
三次元造形物の製造方法
3日前
セイコーエプソン株式会社
保持方法、及び加工方法
3日前
セイコーエプソン株式会社
三次元造形物の製造方法
6日前
セイコーエプソン株式会社
制御装置および表示装置
6日前
セイコーエプソン株式会社
治具、及び加工システム
3日前
セイコーエプソン株式会社
電気光学装置および電子機器
今日
セイコーエプソン株式会社
電気光学装置および電子機器
3日前
セイコーエプソン株式会社
インクジェットインク組成物
3日前
セイコーエプソン株式会社
搬送装置、及び画像形成装置
3日前
セイコーエプソン株式会社
虚像表示装置及び光学ユニット
3日前
セイコーエプソン株式会社
虚像表示装置及び光学ユニット
3日前
セイコーエプソン株式会社
レーザー干渉計および分光装置
今日
セイコーエプソン株式会社
虚像表示装置及び光学ユニット
3日前
続きを見る
他の特許を見る