TOP
|
特許
|
意匠
|
商標
特許ウォッチ
Twitter
他の特許を見る
10個以上の画像は省略されています。
公開番号
2025141122
公報種別
公開特許公報(A)
公開日
2025-09-29
出願番号
2024040896
出願日
2024-03-15
発明の名称
印刷装置
出願人
セイコーエプソン株式会社
代理人
個人
,
個人
,
個人
主分類
B41J
2/01 20060101AFI20250919BHJP(印刷;線画機;タイプライター;スタンプ)
要約
【課題】ヘッドを簡易に交換できる印刷装置を提供する。
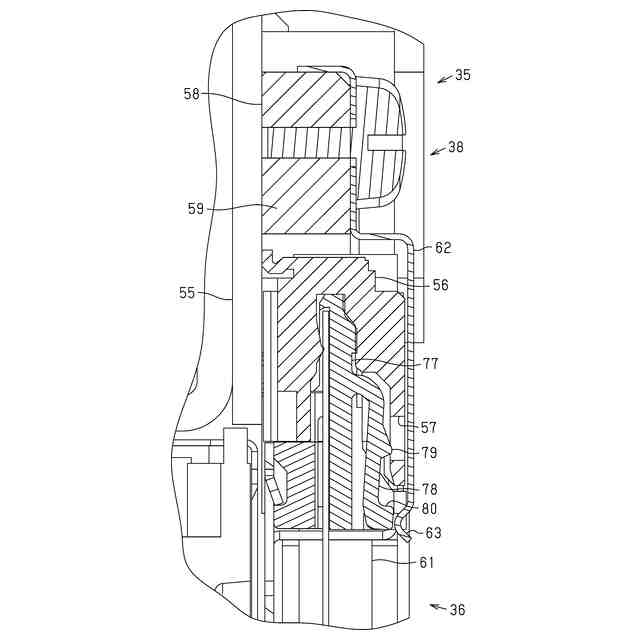
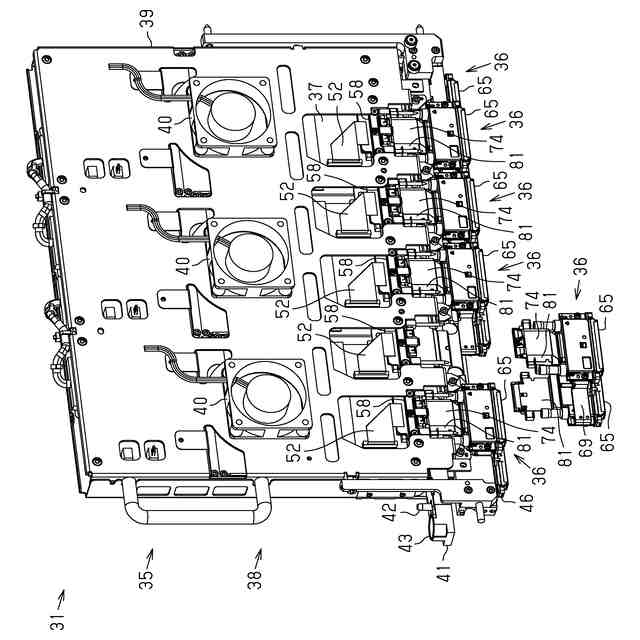
【解決手段】印刷装置は、吐出ユニットを備え、吐出ユニットは、本体モジュール35と、ヘッドモジュール36と、を有し、本体モジュールは、メイン保持部材38と、回路基板と、第1接続部材52と、第1係合部材58と、を有し、ヘッドモジュールは、サブ保持部材と、ヘッド65と、第2接続部材74と、第2係合部材81と、を有し、第1接続部材は、第1配線部分と、第1係合部材に固定される第1接続部分54と、を有し、第2接続部材は、第2配線部分75と、第2係合部材に固定される第2接続部分76と、を有し、第2係合部材が第1係合部材に係合することによって、サブ保持部材がメイン保持部材に装着され、第2係合部材が第1係合部材に係合することによって、第2接続部分が第1接続部分に接続される。
【選択図】図16
特許請求の範囲
【請求項1】
液体を吐出することによって媒体に画像を印刷する吐出ユニットを備え、
前記吐出ユニットは、
本体モジュールと、
前記本体モジュールに対して着脱可能に構成されるヘッドモジュールと、を有し、
前記本体モジュールは、
メイン保持部材と、
前記メイン保持部材に取り付けられる回路基板と、
前記回路基板から延びる第1接続部材と、
前記メイン保持部材に取り付けられる第1係合部材と、を有し、
前記ヘッドモジュールは、
前記メイン保持部材に対して着脱可能に構成されるサブ保持部材と、
前記サブ保持部材に取り付けられるヘッドと、
前記ヘッドから延びる第2接続部材と、
前記サブ保持部材に取り付けられる第2係合部材と、を有し、
前記第1接続部材は、
前記回路基板から延びる第1配線部分と、
前記第1配線部分に取り付けられ、前記第1係合部材に固定される第1接続部分と、を有し、
前記第2接続部材は、
前記ヘッドから延びる第2配線部分と、
前記第2配線部分に取り付けられ、前記第2係合部材に固定される第2接続部分と、を有し、
前記第2係合部材が前記第1係合部材に係合することによって、前記サブ保持部材が前記メイン保持部材に装着され、
前記第2係合部材が前記第1係合部材に係合することによって、前記第2接続部分が前記第1接続部分に接続されることを特徴とする印刷装置。
続きを表示(約 870 文字)
【請求項2】
前記第1接続部分は、
前記第1配線部分に接続される中継基板と、
前記中継基板に取り付けられる中継コネクターと、を有し、
前記第1係合部材は、
前記中継基板を前記メイン保持部材に固定する固定部分と、
前記固定部分から延びる係合ピンと、を有し、
前記係合ピンが前記第2係合部材に挿入されることによって、前記第2係合部材に係合することを特徴とする請求項1に記載の印刷装置。
【請求項3】
前記第2接続部分は、前記中継コネクターに接続される接続コネクターを有し、
前記第2係合部材は、
前記接続コネクターを支持する支持部分と、
前記係合ピンが挿入される挿入部分と、を有することを特徴とする請求項2に記載の印刷装置。
【請求項4】
前記ヘッドは、複数のヘッドのうちの1つであり、
前記サブ保持部材は、複数の前記ヘッドを保持するように構成されることを特徴とする請求項1に記載の印刷装置。
【請求項5】
前記サブ保持部材は、第1面と、前記第1面と反対を向く第2面と、を有し、
複数の前記ヘッドは、前記第1面に取り付けられるヘッドと、前記第2面に取り付けられるヘッドと、を含むことを特徴とする請求項4に記載の印刷装置。
【請求項6】
前記メイン保持部材は、
液体が流れる流路部材と、
前記サブ保持部材が着脱可能に構成されるヘッドプレートと、を有し、
前記サブ保持部材が前記ヘッドプレートに取り付けられることによって、前記ヘッドが前記流路部材に接続されることを特徴とする請求項1から請求項5の何れか一項に記載の印刷装置。
【請求項7】
前記ヘッドは、前記流路部材に接続される接続管を有し、
前記第2係合部材が前記第1係合部材に係合することによって、前記接続管が前記流路部材に接続されることを特徴とする請求項6に記載の印刷装置。
発明の詳細な説明
【技術分野】
【0001】
本発明は、印刷装置に関する。
続きを表示(約 2,400 文字)
【背景技術】
【0002】
特許文献1には、媒体に液体を吐出することによって媒体に画像を印刷する吐出ユニットを備える印刷装置が記載されている。吐出ユニットは、回路基板と、回路基板を保持する第1保持部材と、液体が流れる流路部材と、流路部材に取り付けられるヘッドと、流路部材及びヘッドを保持する第2保持部材と、を有する。第1保持部材及び第2保持部材は、互いに着脱可能である。吐出ユニットは、回路基板及びヘッドを接続することによって電気信号を伝達する接続部材を有する。
【先行技術文献】
【特許文献】
【0003】
特開2015-58620号公報
【発明の概要】
【発明が解決しようとする課題】
【0004】
特許文献1に記載される印刷装置においては、ヘッドを交換する場合に、第1保持部材から第2保持部材を取り外す。このとき、第2保持部材の取り外しに加えて接続部材も取り外す必要があるため、作業が煩雑になりやすい。
【課題を解決するための手段】
【0005】
上記課題を解決する印刷装置は、液体を吐出することによって媒体に画像を印刷する吐出ユニットを備え、前記吐出ユニットは、本体モジュールと、前記本体モジュールに対して着脱可能に構成されるヘッドモジュールと、を有し、前記本体モジュールは、メイン保持部材と、前記メイン保持部材に取り付けられる回路基板と、前記回路基板から延びる第1接続部材と、前記メイン保持部材に取り付けられる第1係合部材と、を有し、前記ヘッドモジュールは、前記メイン保持部材に対して着脱可能に構成されるサブ保持部材と、前記サブ保持部材に取り付けられるヘッドと、前記ヘッドから延びる第2接続部材と、前記サブ保持部材に取り付けられる第2係合部材と、を有し、前記第1接続部材は、前記回路基板から延びる第1配線部分と、前記第1配線部分に取り付けられ、前記第1係合部材に固定される第1接続部分と、を有し、前記第2接続部材は、前記ヘッドから延びる第2配線部分と、前記第2配線部分に取り付けられ、前記第2係合部材に固定される第2接続部分と、を有し、前記第2係合部材が前記第1係合部材に係合することによって、前記サブ保持部材が前記メイン保持部材に装着され、前記第2係合部材が前記第1係合部材に係合することによって、前記第2接続部分が前記第1接続部分に接続される。
【図面の簡単な説明】
【0006】
図1は、印刷装置の一実施例を示す側面図である。
図2は、吐出ユニットの斜視図である。
図3は、図2に示す状態からヘッドモジュールを取り外した斜視図である。
図4は、流路部材及びヘッドプレートの斜視図である。
図5は、図4に示す状態から流路部材を取り外した斜視図である。
図6は、図2の拡大図である。
図7は、図3の拡大図である。
図8は、図6の正面図である。
図9は、ヘッドモジュールが本体モジュールに装着された状態の断面図である。
図10は、第1接続部材及び第1係合部材の正面図である。
図11は、第1接続部材及び第1係合部材の斜視図である。
図12は、ヘッドモジュールの斜視図である。
図13は、ヘッドモジュールの分解斜視図である。
図14は、ヘッドモジュールの下面図である。
図15は、ヘッドモジュールが本体モジュールに装着される直前の断面図である。
図16は、ヘッドモジュールが本体モジュールに装着される前の斜視図である。
図17は、ヘッドモジュールが本体モジュールに装着される途中の斜視図である。
図18は、ヘッドモジュールが本体モジュールに装着された後の斜視図である。
図19は、ヘッドカバーを有するヘッドモジュールの斜視図である。
図20は、図19に示す状態からヘッドカバーを取り外した斜視図である。
【発明を実施するための形態】
【0007】
以下、印刷装置の一実施例について図を参照しながら説明する。印刷装置は、例えば、用紙、布帛、フィルムなどの媒体に、液体の一例であるインクを吐出することによって、文字、写真などの画像を印刷するインクジェット式のプリンターである。
【0008】
<印刷装置>
図1に示すように、印刷装置11は、筐体12を備える。
印刷装置11は、繰出部13を備える。繰出部13は、筐体12に収容される。繰出部13は、媒体99を繰り出すように構成される。詳しくは、繰出部13は、ロール体R1から長尺の媒体99を繰り出す。ロール体R1は、媒体99が巻き重ねられた物品である。繰出部13は、ロール体R1を保持するように構成される。繰出部13は、ロール体R1を回転可能に保持する。
【0009】
繰出部13は、繰出軸14を有する。繰出部13は、繰出軸14がロール体R1に挿入されることによって、ロール体R1を回転可能に保持する。繰出軸14は、ロール体R1とともに回転するように構成されてもよいし、回転不能に構成されてもよい。繰出軸14は、図示しないモーターの動力によって回転するように構成されてもよいし、媒体99が引っ張られることに伴い従動的に回転するように構成されてもよい。
【0010】
印刷装置11は、巻取部15を備える。巻取部15は、筐体12に収容される。巻取部15は、媒体99を巻き取るように構成される。巻取部15は、媒体99を巻き取ることによってロール体R1を形成する。巻取部15は、ロール体R1を保持するように構成される。巻取部15は、ロール体R1を回転可能に保持する。
(【0011】以降は省略されています)
この特許をJ-PlatPat(特許庁公式サイト)で参照する
関連特許
セイコーエプソン株式会社
印刷装置
3日前
セイコーエプソン株式会社
印刷装置
今日
セイコーエプソン株式会社
印刷装置
3日前
セイコーエプソン株式会社
印刷装置
3日前
セイコーエプソン株式会社
印刷装置
3日前
セイコーエプソン株式会社
印刷装置
今日
セイコーエプソン株式会社
印刷装置
1日前
セイコーエプソン株式会社
印刷装置
1日前
セイコーエプソン株式会社
気体分離膜
3日前
セイコーエプソン株式会社
微細化装置
今日
セイコーエプソン株式会社
画像読取装置
3日前
セイコーエプソン株式会社
虚像表示装置
3日前
セイコーエプソン株式会社
液体吐出ヘッド
3日前
セイコーエプソン株式会社
電子制御式機械時計
1日前
セイコーエプソン株式会社
スクリーンの製造方法
3日前
セイコーエプソン株式会社
栽培用培地の製造方法
今日
セイコーエプソン株式会社
三次元造形物の製造方法
3日前
セイコーエプソン株式会社
治具、及び加工システム
3日前
セイコーエプソン株式会社
保持方法、及び加工方法
3日前
セイコーエプソン株式会社
波長可変干渉フィルター
3日前
セイコーエプソン株式会社
電気光学装置および電子機器
3日前
セイコーエプソン株式会社
電気光学装置および電子機器
今日
セイコーエプソン株式会社
インクジェットインク組成物
3日前
セイコーエプソン株式会社
搬送装置、及び画像形成装置
3日前
セイコーエプソン株式会社
管理サーバ、及び管理システム
3日前
セイコーエプソン株式会社
虚像表示装置及び光学ユニット
3日前
セイコーエプソン株式会社
虚像表示装置及び光学ユニット
3日前
セイコーエプソン株式会社
虚像表示装置及び光学ユニット
3日前
セイコーエプソン株式会社
虚像表示装置及び光学ユニット
3日前
セイコーエプソン株式会社
虚像表示装置及び光学ユニット
3日前
セイコーエプソン株式会社
レーザー干渉計および分光装置
今日
セイコーエプソン株式会社
液体回収装置及び液体回収容器
今日
セイコーエプソン株式会社
虚像表示装置及び光学ユニット
3日前
セイコーエプソン株式会社
媒体排出装置及び画像読取装置
3日前
セイコーエプソン株式会社
情報管理システム、及びサーバー
今日
セイコーエプソン株式会社
制御方法およびロボットシステム
3日前
続きを見る
他の特許を見る