TOP
|
特許
|
意匠
|
商標
特許ウォッチ
Twitter
他の特許を見る
10個以上の画像は省略されています。
公開番号
2025145784
公報種別
公開特許公報(A)
公開日
2025-10-03
出願番号
2024046163
出願日
2024-03-22
発明の名称
分光装置、分光装置の校正方法および分光方法
出願人
セイコーエプソン株式会社
代理人
個人
,
個人
,
個人
主分類
G01J
3/02 20060101AFI20250926BHJP(測定;試験)
要約
【課題】移動ミラーが有する2つの光反射面の平行度が低下している場合でも、測長精度の低下を補償することができ、高精度のスペクトルパターンを生成可能な分光装置および分光方法、ならびに、かかる分光装置を校正する分光装置の校正方法を提供すること。
【解決手段】分析光学系、測長光学系および演算装置を備え、試料の分光分析を行う分光装置であって、分析光学系は、第1反射面および第2反射面を有し、並進駆動される移動ミラーと、ガスが封入され、分析光に光吸収信号を付加するガスセルと、試料由来信号、第1変調信号および光吸収信号を含む分析光を受光する第1受光素子と、を備え、測長光学系は、第2反射面で反射されたレーザー光から移動ミラーの位置に対応する変位信号を取得する測長部と、を備え、演算装置は、移動ミラー位置演算部と、光強度演算部と、フーリエ変換部と、移動ミラー位置補正部と、を備えることを特徴とする分光装置。
【選択図】図1
特許請求の範囲
【請求項1】
分析光学系、測長光学系および演算装置を備え、試料の分光分析を行う分光装置であって、
前記分析光学系は、
第1光源から射出された分析光を反射させ、前記分析光に第1変調信号を付加する第1反射面、および、前記第1反射面とは反対側に位置する第2反射面を有し、並進駆動される移動ミラーと、
所定の波長の光を吸収するガスが封入され、前記分析光が入射されることにより、前記分析光に光吸収信号を付加するガスセルと、
前記分析光と前記試料との作用により生成された試料由来信号、前記第1変調信号、および、前記光吸収信号、を含む前記分析光を受光し、第1受光信号を出力する第1受光素子と、
を備え、
前記測長光学系は、
レーザー光を射出する第2光源と、
前記レーザー光を前記第2反射面に照射し、前記第2反射面で反射された前記レーザー光から前記移動ミラーの位置に対応する変位信号を取得する測長部と、
を備え、
前記演算装置は、
前記変位信号に基づいて、移動ミラー位置信号を生成する移動ミラー位置演算部と、
前記第1受光信号および前記移動ミラー位置信号に基づいて、前記移動ミラーの各位置における前記第1受光信号の強度を表す波形を生成する光強度演算部と、
前記波形にフーリエ変換を行い、前記光吸収信号によるピークを含むスペクトルパターンを生成するフーリエ変換部と、
前記ピークの位置に基づいて、前記移動ミラー位置信号を補正する補正値を算出する移動ミラー位置補正部と、
を備えることを特徴とする分光装置。
続きを表示(約 1,100 文字)
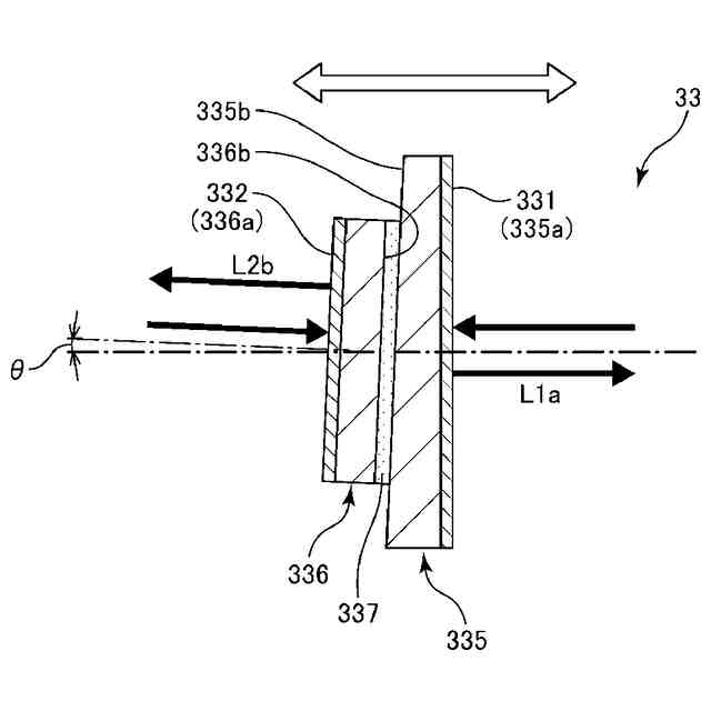
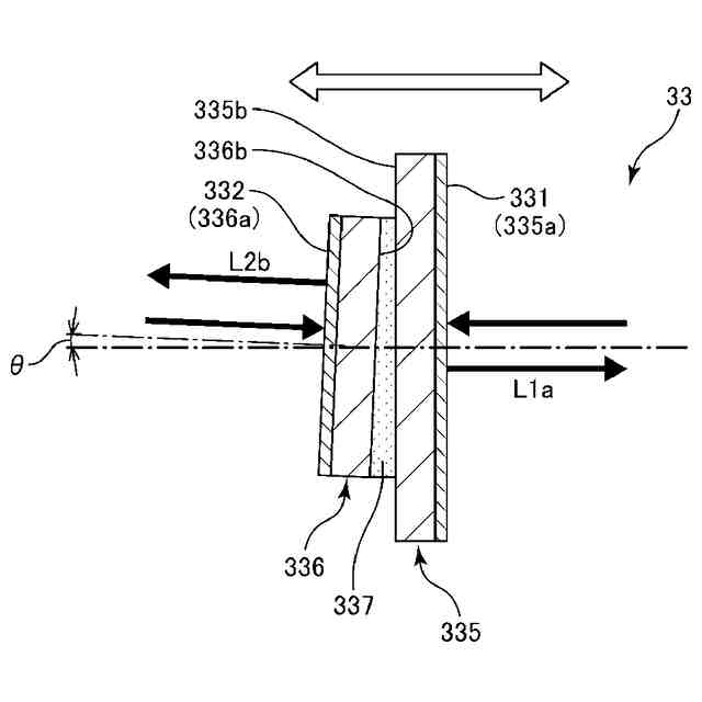
【請求項2】
前記第1反射面は、第1ミラー部材の表面であり、
前記第2反射面は、前記第1ミラー部材の裏面に貼り付けられている第2ミラー部材の表面である請求項1に記載の分光装置。
【請求項3】
前記分析光学系は、前記第1光源から射出された前記分析光を分割する光分割器を備え、
前記ガスセルは、前記第1光源と前記光分割器との間に配置されている請求項1または2に記載の分光装置。
【請求項4】
前記分析光学系は、前記第1光源から射出された前記分析光を分割する光分割器を備え、
前記ガスセルは、前記光分割器と前記第1受光素子との間に配置されている請求項1または2に記載の分光装置。
【請求項5】
前記測長部は、前記第2光源から射出された前記レーザー光の周波数をシフトさせる光変調器を備え、
前記測長部は、前記第2反射面で反射された前記レーザー光と、前記光変調器で周波数がシフトされた前記レーザー光と、の干渉により、前記変位信号を取得する請求項1または2に記載の分光装置。
【請求項6】
試料の分光分析を行う分光装置を校正する分光装置の校正方法であって、
請求項1に記載の分光装置において、前記分析光の光路上に前記ガスセルを配置した後、前記分光装置に前記変位信号を取得させ、前記移動ミラーの位置を測定するステップと、
前記移動ミラーの位置を変化させながら、前記ガスセルに前記分析光を入射させ、前記ガスセルから射出された前記分析光を前記第1受光素子に受光させ、前記ガスセルに由来する前記第1受光信号を出力させるステップと、
前記ガスセルに由来する前記第1受光信号および前記移動ミラーの位置の測定値に基づいて、前記移動ミラーの各位置における、前記ガスセルに由来する前記第1受光信号の強度を示す波形を生成するステップと、
前記ガスセルに由来する前記波形にフーリエ変換を行い、前記光吸収信号によるピークを含むスペクトルパターンを生成するステップと、
前記ピークの波長と、前記ガスセルの基本波長と、の差に基づいて、前記移動ミラーの位置の測定値を補正する補正値を算出するステップと、
を有することを特徴とする分光装置の校正方法。
【請求項7】
試料の分光分析を行う分光方法であって、
請求項6に記載の分光装置の校正方法を実行するステップと、
前記分光装置において、前記分析光の光路上に前記試料を配置した後、前記試料に由来する情報を含むスペクトルパターンを取得するとともに、前記補正値に基づいて、前記試料に由来する情報を含むスペクトルパターンを補正するステップと、
を有することを特徴とする分光方法。
発明の詳細な説明
【技術分野】
【0001】
本発明は、分光装置、分光装置の校正方法および分光方法に関するものである。
続きを表示(約 2,300 文字)
【背景技術】
【0002】
特許文献1には、試料が放射または吸収する光のスペクトル情報を取得し、それに基づいて試料中の成分等を分析する分光分析に用いられる光学モジュールが開示されている。この光学モジュールは、ミラーユニットと、ビームスプリッターユニットと、光入射部と、第1光検出器と、第2光源と、第2光検出器と、を備えている。ミラーユニットは、所定方向に移動する可動ミラーと、位置が固定された固定ミラーと、を含んでいる。このような光学モジュールでは、ビームスプリッターユニット、可動ミラーおよび固定ミラーによって、測定光およびレーザー光がそれぞれ入射される干渉光学系が構成される。
【0003】
第1光源から測定対象を介して入射した測定光は、光入射部を経て、ビームスプリッターユニットにおいて分割される。分割された測定光の一部は、可動ミラーで反射されてビームスプリッターユニットに戻る。分割された測定光の残部は、固定ミラーで反射されてビームスプリッターユニットに戻る。ビームスプリッターユニットに戻った測定光の一部および残部は、干渉光として第1光検出器によって検出される。
【0004】
一方、第2光源から射出されたレーザー光は、ビームスプリッターユニットにおいて分割される。分割されたレーザー光の一部は、可動ミラーで反射されてビームスプリッターユニットに戻る。分割されたレーザー光の残部は、固定ミラーで反射されてビームスプリッターユニットに戻る。ビームスプリッターユニットに戻ったレーザー光の一部および残部は、干渉光として第2光検出器によって検出される。
【0005】
このような光学モジュールでは、レーザー光の干渉光の検出結果に基づいて、可動ミラーの位置を計測する。そして、可動ミラーの位置の計測結果および測定光の干渉光の検出結果に基づいて、測定対象についての分光分析が可能になる。具体的には、可動ミラーの各位置における測定光の強度を求めることにより、インターフェログラムと呼ばれる波形が得られる。このインターフェログラムをフーリエ変換することにより、測定対象についてのスペクトルパターンを求めることができる。したがって、特許文献1に記載の光学モジュールは、FTIR(フーリエ変換型赤外分光分析器)に用いられる。
【先行技術文献】
【特許文献】
【0006】
国際公開第2019/009404号明細書
【発明の概要】
【発明が解決しようとする課題】
【0007】
フーリエ変換型分光分析器では、可動ミラー(移動ミラー)の位置の計測精度がスペクトルパターンの波数軸(波長軸)の正確度に直結する。そこで、レーザー光を用いた測長技術により、移動ミラーの位置を高い精度で測定することが検討されている。その技術の一環として、互いに表裏の関係を持つ2つの光反射面を有する可動ミラーの使用が検討されている。測定光の光路長の変化量を、レーザー光を用いて正確に測定するためには、測定光を反射させる光反射面とレーザー光を反射させる光反射面との平行度を十分に高める必要がある。
【0008】
しかしながら、2つの反射面の平行度を高くすることは容易ではなく、平行度の低さに伴って測長誤差が生じる。この測長誤差は、測定対象について取得されるスペクトルパターンの波数軸(波長軸)の正確度を低下させる原因となる。
【0009】
そこで、移動ミラーが有する2つの光反射面の平行度が低下している場合でも、測長精度の低下を補償することができ、高精度のスペクトルパターンを生成可能な分光装置の実現が課題となっている。
【課題を解決するための手段】
【0010】
本発明の適用例に係る分光装置は、
分析光学系、測長光学系および演算装置を備え、試料の分光分析を行う分光装置であって、
前記分析光学系は、
第1光源から射出された分析光を反射させ、前記分析光に第1変調信号を付加する第1反射面、および、前記第1反射面とは反対側に位置する第2反射面を有し、並進駆動される移動ミラーと、
所定の波長の光を吸収するガスが封入され、前記分析光が入射されることにより、前記分析光に光吸収信号を付加するガスセルと、
前記分析光と前記試料との作用により生成された試料由来信号、前記第1変調信号、および、前記光吸収信号、を含む前記分析光を受光し、第1受光信号を出力する第1受光素子と、
を備え、
前記測長光学系は、
レーザー光を射出する第2光源と、
前記レーザー光を前記第2反射面に照射し、前記第2反射面で反射された前記レーザー光から前記移動ミラーの位置に対応する変位信号を取得する測長部と、
を備え、
前記演算装置は、
前記変位信号に基づいて、移動ミラー位置信号を生成する移動ミラー位置演算部と、
前記第1受光信号および前記移動ミラー位置信号に基づいて、前記移動ミラーの各位置における前記第1受光信号の強度を表す波形を生成する光強度演算部と、
前記波形にフーリエ変換を行い、前記光吸収信号によるピークを含むスペクトルパターンを生成するフーリエ変換部と、
前記ピークの位置に基づいて、前記移動ミラー位置信号を補正する補正値を算出する移動ミラー位置補正部と、
を備える。
(【0011】以降は省略されています)
この特許をJ-PlatPat(特許庁公式サイト)で参照する
関連特許
セイコーエプソン株式会社
印刷装置
1日前
セイコーエプソン株式会社
印刷装置
1日前
セイコーエプソン株式会社
印刷装置
1日前
セイコーエプソン株式会社
印刷装置
1日前
セイコーエプソン株式会社
液体収容容器
1日前
セイコーエプソン株式会社
プロジェクター
1日前
セイコーエプソン株式会社
プロジェクター
1日前
セイコーエプソン株式会社
回路装置及び電子機器
1日前
セイコーエプソン株式会社
偏心揺動装置及び射出成形装置
1日前
セイコーエプソン株式会社
液体噴射ヘッド及び液体噴射装置
1日前
セイコーエプソン株式会社
ヘッドユニット及び液体吐出装置
1日前
セイコーエプソン株式会社
液体容器、印刷装置、印刷システム
1日前
セイコーエプソン株式会社
表示装置および表示装置の制御方法
1日前
セイコーエプソン株式会社
液体吐出装置、及びヘッドユニット
1日前
セイコーエプソン株式会社
射出成形システム、及び成形品押出方法
1日前
セイコーエプソン株式会社
分光装置、分光装置の校正方法および分光方法
1日前
セイコーエプソン株式会社
軟磁性粉末、圧粉磁心、磁性素子および電子機器
1日前
セイコーエプソン株式会社
情報処理方法、サーバー装置、及び情報処理装置
1日前
セイコーエプソン株式会社
流量調節装置、三次元造形装置および射出成形装置
1日前
セイコーエプソン株式会社
印刷システム、プログラム、及び、印刷特性調整方法
1日前
セイコーエプソン株式会社
印刷制御プログラム、印刷システム、及び印刷物生産方法
1日前
セイコーエプソン株式会社
印刷制御プログラム、印刷システム、及び印刷物生産方法
1日前
セイコーエプソン株式会社
容量性負荷駆動回路、液体吐出装置、及びヘッドユニット
1日前
セイコーエプソン株式会社
液体吐出装置、ヘッドユニット及びヘッドユニット接続方法
1日前
セイコーエプソン株式会社
液体吐出装置、ヘッドユニット及びヘッドユニット接続方法
1日前
セイコーエプソン株式会社
絶縁物被覆軟磁性粉末、圧粉磁心、磁性素子および電子機器
1日前
セイコーエプソン株式会社
画像形成システム、画像形成システムの制御方法、及び、画像形成装置
1日前
セイコーエプソン株式会社
画像形成装置、ソフトウェア更新方法、及びソフトウェア更新システム
1日前
個人
計量スプーン
25日前
個人
微小振動検出装置
1か月前
株式会社イシダ
X線検査装置
1か月前
日本精機株式会社
位置検出装置
3日前
日本精機株式会社
位置検出装置
3日前
日本精機株式会社
位置検出装置
3日前
大和製衡株式会社
組合せ秤
8日前
大和製衡株式会社
組合せ秤
8日前
続きを見る
他の特許を見る