TOP
|
特許
|
意匠
|
商標
特許ウォッチ
Twitter
他の特許を見る
10個以上の画像は省略されています。
公開番号
2025145779
公報種別
公開特許公報(A)
公開日
2025-10-03
出願番号
2024046158
出願日
2024-03-22
発明の名称
印刷制御プログラム、印刷システム、及び印刷物生産方法
出願人
セイコーエプソン株式会社
代理人
個人
,
個人
,
個人
主分類
G06F
3/12 20060101AFI20250926BHJP(計算;計数)
要約
【課題】汎用プリンタードライバーを用いた印刷処理を行う環境において、画像の差分を利用した印刷を可能にする印刷制御プログラムを提供する。
【解決手段】本開示の一態様にかかる印刷制御プログラムは、コンピューターに取得処理、表示処理、生成処理、及び指示処理を実行させる。取得処理は、汎用プリンタードライバー16から印刷データを取得する。表示処理は、印刷データに追加する追加データとその印刷データにおける追加データの追加位置とをユーザーに指定させるユーザーインターフェイス画像を表示させる。生成処理は、印刷データの追加位置に追加データを追加した印刷を行わせる印刷ジョブを生成する。指示処理は、プリンターに印刷ジョブに基づく印刷を実行させる。
【選択図】図1
特許請求の範囲
【請求項1】
汎用プリンタードライバーから印刷データを取得する取得処理と、
前記印刷データに追加する追加データと前記印刷データにおける前記追加データの追加位置とをユーザーに指定させるユーザーインターフェイス画像を表示させる表示処理と、
前記印刷データの前記追加位置に前記追加データを追加した印刷を行わせる印刷ジョブを生成する生成処理と、
プリンターに前記印刷ジョブに基づく印刷を実行させる指示処理と、
をコンピューターに実行させる印刷制御プログラム。
続きを表示(約 1,200 文字)
【請求項2】
前記印刷制御プログラムは、Print Support Applicationである、
請求項1に記載の印刷制御プログラム。
【請求項3】
前記生成処理は、前記印刷データが示す画像の前記追加位置に前記追加データが示す画像を追加した修正画像を生成し、前記印刷ジョブとして、前記修正画像の印刷を行わせる印刷ジョブを生成する、
請求項1又は2に記載の印刷制御プログラム。
【請求項4】
前記生成処理は、前記印刷ジョブとして、前記印刷データが示す画像と前記追加位置と前記追加データとを含む印刷ジョブを生成する、
請求項1又は2に記載の印刷制御プログラム。
【請求項5】
前記ユーザーインターフェイス画像は、前記取得処理で取得した前記印刷データについての印刷プレビュー画像を含み、前記印刷プレビュー画像上で前記ユーザーに前記追加位置を指定させる、
請求項1又は2に記載の印刷制御プログラム。
【請求項6】
前記表示処理は、前記ユーザーインターフェイス画像の一部として、あるいは前記ユーザーインターフェイス画像とは別のユーザーインターフェイス画像として、前記追加データを示す文字列が記述されたファイルを前記ユーザーに指定させるユーザーインターフェイス画像を表示させる、
請求項1又は2に記載の印刷制御プログラム。
【請求項7】
前記表示処理は、前記汎用プリンタードライバーに前記ユーザーインターフェイス画像を表示させる処理である、
請求項1又は2に記載の印刷制御プログラム。
【請求項8】
プリンターと、端末装置と、を備え、
前記端末装置は、
汎用プリンタードライバーと、
前記汎用プリンタードライバーから印刷データを取得する取得処理部と、
前記印刷データに追加する追加データと前記印刷データにおける前記追加データの追加位置とをユーザーに指定させるユーザーインターフェイス画像を表示させる表示処理部と、
前記印刷データの前記追加位置に前記追加データを追加した印刷を行わせる印刷ジョブを生成する生成処理部と、
前記プリンターに前記印刷ジョブに基づく印刷を実行させる指示処理部と、
を備える、
印刷システム。
【請求項9】
汎用プリンタードライバーから印刷データを取得する取得処理と、
前記印刷データに追加する追加データと前記印刷データにおける前記追加データの追加位置とをユーザーに指定させるユーザーインターフェイス画像を表示する表示処理と、
印刷ジョブを生成する生成処理と、
プリンターが前記印刷ジョブに基づく印刷を実行して、前記印刷データの前記追加位置に前記追加データを追加した印刷物を生産する印刷処理と、
を含む印刷物生産方法。
発明の詳細な説明
【技術分野】
【0001】
本開示は、印刷制御プログラム、印刷システム、及び印刷物生産方法に関する。
続きを表示(約 1,900 文字)
【背景技術】
【0002】
特許文献1には、OS(Operating System)標準の印刷プログラムであるOS標準のプリンタードライバーが組み込まれた情報処理装置において、ブックレット印刷をプリンターに行わせる技術が開示されている。
【先行技術文献】
【特許文献】
【0003】
特開2021-56754号公報
【発明の概要】
【発明が解決しようとする課題】
【0004】
ところで、画像の差分を利用した印刷処理も汎用的な処理とは言えず、OS標準のプリンタードライバーのような汎用プリンタードライバーでは対応していない。よって、汎用プリンタードライバーを用いた印刷処理を行う環境において、画像の差分を利用した印刷を可能にする技術の開発が望まれる。
【課題を解決するための手段】
【0005】
本開示の一態様にかかる印刷制御プログラムは、汎用プリンタードライバーから印刷データを取得する取得処理と、前記印刷データに追加する追加データと前記印刷データにおける前記追加データの追加位置とをユーザーに指定させるユーザーインターフェイス画像を表示させる表示処理と、前記印刷データの前記追加位置に前記追加データを追加した印刷を行わせる印刷ジョブを生成する生成処理と、プリンターに前記印刷ジョブに基づく印刷を実行させる指示処理と、をコンピューターに実行させるものである。
【0006】
本開示の一態様にかかる印刷システムは、プリンターと、端末装置と、を備え、前記端末装置は、汎用プリンタードライバーと、前記汎用プリンタードライバーから印刷データを取得する取得処理部と、前記印刷データに追加する追加データと前記印刷データにおける前記追加データの追加位置とをユーザーに指定させるユーザーインターフェイス画像を表示させる表示処理部と、前記印刷データの前記追加位置に前記追加データを追加した印刷を行わせる印刷ジョブを生成する生成処理部と、前記プリンターに前記印刷ジョブに基づく印刷を実行させる指示処理部と、を備える、ものである。
【0007】
本開示の一態様にかかる印刷物生産方法は、汎用プリンタードライバーから印刷データを取得する取得処理と、前記印刷データに追加する追加データと前記印刷データにおける前記追加データの追加位置とをユーザーに指定させるユーザーインターフェイス画像を表示する表示処理と、印刷ジョブを生成する生成処理と、プリンターが前記印刷ジョブに基づく印刷を実行して、前記印刷データの前記追加位置に前記追加データを追加した印刷物を生産する印刷処理と、を含むものである。
【図面の簡単な説明】
【0008】
実施の形態にかかる印刷システムの一構成例を示すブロック図である。
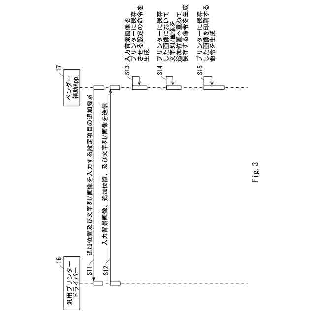
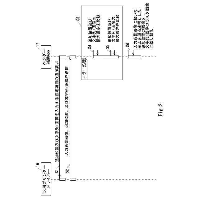
図1の印刷システムにおける生成処理の第1例を説明するためのシーケンス図である。
図1の印刷システムにおける生成処理の第2例を説明するためのシーケンス図である。
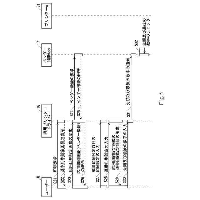
図1の印刷システムにおける連番印刷処理の一例を説明するためのシーケンス図である。
図4に続くシーケンス図である。
図4及び図5の連番印刷処理で表示されるユーザーインターフェイス画像の一例を示す図である。
図4及び図5の連番印刷処理で表示されるユーザーインターフェイス画像の他の例を示す図である。
図4及び図5の連番印刷処理で印刷された一連の印刷物の一例を示す模式図である。
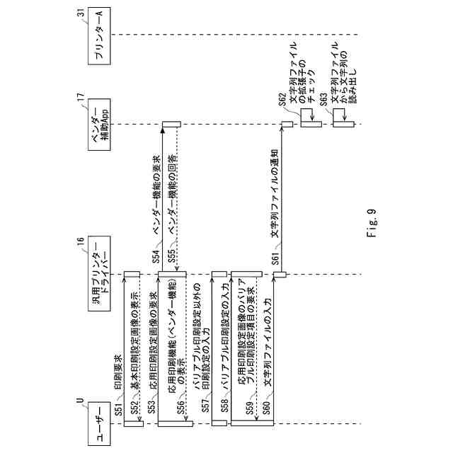
図1の印刷システムにおけるバリアブル印刷処理の一例を説明するためのシーケンス図である。
図9に続くシーケンス図である。
図9及び図10のバリアブル印刷処理において参照される文字列ファイルの一例、並びにその文字列ファイルを参照してバリアブル印刷処理で印刷された一連の印刷物の一例を示す模式図である。
装置のハードウェア構成の一例を示す図である。
【発明を実施するための形態】
【0009】
以下、図面を参照して本発明の実施の形態について説明する。なお、各図は、本発明の実施の形態を説明するための例示に過ぎない。また、本発明の実施の形態で説明する構成要素の全てが本発明の必須の構成要件とは限らない。
【0010】
(実施の形態)
[システムの構成]
本実施の形態にかかる印刷システムの一構成例について、図1を用いて説明する。図1は、本実施の形態にかかる印刷システムの一構成例を示すブロック図である。
(【0011】以降は省略されています)
この特許をJ-PlatPat(特許庁公式サイト)で参照する
関連特許
セイコーエプソン株式会社
印刷装置
5日前
セイコーエプソン株式会社
印刷装置
1日前
セイコーエプソン株式会社
印刷装置
3日前
セイコーエプソン株式会社
印刷装置
5日前
セイコーエプソン株式会社
ロボット
1日前
セイコーエプソン株式会社
印刷装置
5日前
セイコーエプソン株式会社
印刷装置
5日前
セイコーエプソン株式会社
印刷装置
1日前
セイコーエプソン株式会社
印刷装置
1日前
セイコーエプソン株式会社
印刷装置
2日前
セイコーエプソン株式会社
印刷装置
3日前
セイコーエプソン株式会社
印刷装置
2日前
セイコーエプソン株式会社
印刷装置
1日前
セイコーエプソン株式会社
気体分離膜
5日前
セイコーエプソン株式会社
微細化装置
2日前
セイコーエプソン株式会社
画像読取装置
5日前
セイコーエプソン株式会社
液体収容容器
1日前
セイコーエプソン株式会社
権限管理装置
1日前
セイコーエプソン株式会社
プロジェクター
1日前
セイコーエプソン株式会社
プロジェクター
1日前
セイコーエプソン株式会社
液体吐出ヘッド
5日前
セイコーエプソン株式会社
プロジェクター
1日前
セイコーエプソン株式会社
プロジェクター
1日前
セイコーエプソン株式会社
電子制御式機械時計
3日前
セイコーエプソン株式会社
垂直多関節ロボット
1日前
セイコーエプソン株式会社
栽培用培地の製造方法
2日前
セイコーエプソン株式会社
スクリーンの製造方法
5日前
セイコーエプソン株式会社
回路装置及び電子機器
1日前
セイコーエプソン株式会社
保持方法、及び加工方法
5日前
セイコーエプソン株式会社
治具、及び加工システム
5日前
セイコーエプソン株式会社
三次元造形物の製造方法
5日前
セイコーエプソン株式会社
インクジェットインク組成物
5日前
セイコーエプソン株式会社
電気光学装置および電子機器
5日前
セイコーエプソン株式会社
電気光学装置および電子機器
2日前
セイコーエプソン株式会社
虚像表示装置及び光学ユニット
5日前
セイコーエプソン株式会社
虚像表示装置及び光学ユニット
5日前
続きを見る
他の特許を見る