TOP
|
特許
|
意匠
|
商標
特許ウォッチ
Twitter
他の特許を見る
10個以上の画像は省略されています。
公開番号
2025145370
公報種別
公開特許公報(A)
公開日
2025-10-03
出願番号
2024045510
出願日
2024-03-21
発明の名称
液体吐出装置、ヘッドユニット及びヘッドユニット接続方法
出願人
セイコーエプソン株式会社
代理人
個人
,
個人
,
個人
,
個人
主分類
B41J
2/01 20060101AFI20250926BHJP(印刷;線画機;タイプライター;スタンプ)
要約
【課題】キャリッジのコネクターとヘッドユニットのコネクターとを適切に接続することが容易な液体吐出装置を提供すること。
【解決手段】キャリッジと、ヘッドユニットと、を備え、前記キャリッジは、前記ヘッドユニットが積載される第1キャリッジ面と、第1コネクターと、前記第1キャリッジ面と交差する第2キャリッジ面と、第1固定部材及び第2固定部材と、を有し、前記ヘッドユニットは、駆動基板と、前記第1コネクターと接続される第2コネクターと、液体吐出ヘッドと、を有し、前記第1コネクターは、ベース部と、前記ベース部から延伸し、前記電源電圧が伝搬する端子を含む端子群が設けられる接続部と、前記ベース部を所定の範囲で移動可能に保持する第1保持部及び第2保持部と、を含み、前記第1固定部材及び前記第2固定部材は、前記第1保持部及び前記第2保持部を前記第2キャリッジ面に対して固定する、液体吐出装置。
【選択図】図15
特許請求の範囲
【請求項1】
キャリッジと、
前記キャリッジに搭載され、媒体に対して液体を吐出するヘッドユニットと、
前記ヘッドユニットに電力を供給する電源回路と、
を備える液体吐出装置であって、
前記キャリッジは、
前記ヘッドユニットが積載される第1キャリッジ面と、
前記電源回路から供給される電源電圧が伝搬する第1コネクターと、
前記第1キャリッジ面と交差する第2キャリッジ面と、
前記第1コネクターを前記第2キャリッジ面に固定する第1固定部材及び第2固定部材と、
を有し、
前記ヘッドユニットは、
前記電源電圧に基づいて、駆動信号を生成する駆動信号生成回路を含む駆動基板と、
前記第1コネクターと接続され、前記電源電圧を前記駆動基板に供給する第2コネクターと、
前記駆動信号が印加されることで前記液体を吐出させる圧電素子を含む液体吐出ヘッドと、
を有し、
前記第1コネクターは、
第1孔と第2孔とが設けられたベース部と、
前記ベース部から延伸し、前記電源電圧が伝搬する端子を含む端子群が設けられる接続部と、
前記第1孔を挿通し、前記ベース部を所定の範囲で移動可能に保持する第1保持部と、
前記第2孔を挿通し、前記ベース部を前記所定の範囲で移動可能に保持する第2保持部と、
を含み、
前記第1固定部材は、前記第1保持部を前記第2キャリッジ面に対して固定し、
前記第2固定部材は、前記第2保持部を前記第2キャリッジ面に対して固定する、
ことを特徴とする液体吐出装置。
続きを表示(約 2,600 文字)
【請求項2】
前記第1キャリッジ面の法線方向を第1方向とし、前記第2キャリッジ面の法線方向を第2方向としたとき、
前記第1保持部は、
第1部分と、第2部分と、前記第1部分と前記第2部分とを連結する第3部分と、を含み、
前記第2方向から見たとき、前記第1部分及び前記第2部分は、前記第1孔よりも面積が大きく、前記第3部分は、前記第1孔よりも面積が小さく、
前記第1方向から見たとき、前記第3部分は前記第1孔と重なり、
前記第2保持部は、
第4部分と、第5部分と、前記第4部分と前記第5部分とを連結する第6部分と、を含み、
前記第2方向から見たとき、前記第4部分及び前記第5部分は、前記第2孔よりも面積が大きく、前記第6部分は、前記第2孔よりも面積が小さく、
前記第1方向から見たとき、前記第6部分は前記第2孔と重なる、
ことを特徴とする請求項1に記載の液体吐出装置。
【請求項3】
前記第2方向から見たとき、前記第1孔の外縁は第1直径の円であり、前記第1部分の外縁は前記第1直径よりも大きい第2直径の円であり、前記第2部分の外縁は前記第2直
径の円であり、前記第3部分の外縁は前記第1直径よりも小さい第3直径の円であり、
前記第2方向から見たとき、前記第2孔の外縁は前記第1直径の円であり、前記第4部分の外縁は前記第2直径の円であり、前記第5部分の外縁は前記第2直径の円であり、前記第6部分の外縁は前記第3直径の円であり、
前記所定の範囲の上限は、前記第3直径と前記第1直径との差である、
ことを特徴とする請求項2に記載の液体吐出装置。
【請求項4】
前記接続部は、テーパー状の嵌合部を含む、
ことを特徴とする請求項1に記載の液体吐出装置。
【請求項5】
前記ヘッドユニットは、
前記液体が供給されるチューブと接続するチューブ接続部と、
前記駆動基板を収容し、前記第2コネクターが設けられる筐体と、を有し、
前記筐体は
第1面と、
前記第1面と反対の第2面と、
を有し、
前記第2コネクターは、前記第1面に設けられ、
前記チューブ接続部は、前記第2面に設けられる、
ことを特徴とする請求項1に記載の液体吐出装置。
【請求項6】
前記ヘッドユニットは、
前記ヘッドユニットを前記第2キャリッジ面に近づける方向に移動させて前記キャリッジに積載するときに使用される把持部及びローラーを有する、
ことを特徴とする請求項1に記載の液体吐出装置。
【請求項7】
電源回路から電力が供給され、キャリッジに搭載され、媒体に対して液体を吐出するヘッドユニットであって、
前記キャリッジは、
前記ヘッドユニットが積載される第1キャリッジ面と、
前記電源回路から供給される電源電圧が伝搬する第1コネクターと、
前記第1キャリッジ面と交差する第2キャリッジ面と、
前記第1コネクターを前記第2キャリッジ面に固定する第1固定部材及び第2固定部材と、
を有し、
前記第1コネクターは、
第1孔と第2孔とが設けられたベース部と、
前記ベース部から延伸し、前記電源電圧が伝搬する端子を含む端子群が設けられる接続部と、
前記第1孔を挿通し、前記ベース部を所定の範囲で移動可能に保持する第1保持部と、
前記第2孔を挿通し、前記ベース部を前記所定の範囲で移動可能に保持する第2保持部と、
を含み、
前記第1固定部材は、前記第1保持部を前記第2キャリッジ面に対して固定し、
前記第2固定部材は、前記第2保持部を前記第2キャリッジ面に対して固定し、
前記ヘッドユニットは、
前記電源電圧に基づいて、駆動信号を生成する駆動信号生成回路を含む駆動基板と、
前記第1コネクターと接続され、前記電源電圧を前記駆動基板に供給する第2コネクターと、
前記駆動信号が印加されることで前記液体を吐出させる圧電素子を含む液体吐出ヘッド
と、
を有する、
ことを特徴とするヘッドユニット。
【請求項8】
前記第1キャリッジ面の法線方向を第1方向とし、前記第2キャリッジ面の法線方向を第2方向としたとき、
前記第1保持部は、
第1部分と、第2部分と、前記第1部分と前記第2部分とを連結する第3部分と、を含み、
前記第2方向から見たとき、前記第1部分及び前記第2部分は、前記第1孔よりも面積が大きく、前記第3部分は、前記第1孔よりも面積が小さく、
前記第1方向から見たとき、前記第3部分は前記第1孔と重なり、
前記第2保持部は、
第4部分と、第5部分と、前記第4部分と前記第5部分とを連結する第6部分と、を含み、
前記第2方向から見たとき、前記第4部分及び前記第5部分は、前記第2孔よりも面積が大きく、前記第6部分は、前記第2孔よりも面積が小さく、
前記第1方向から見たとき、前記第6部分は前記第2孔と重なる、
ことを特徴とする請求項7に記載のヘッドユニット。
【請求項9】
前記第2方向から見たとき、前記第1孔の外縁は第1直径の円であり、前記第1部分の外縁は前記第1直径よりも大きい第2直径の円であり、前記第2部分の外縁は前記第2直径の円であり、前記第3部分の外縁は前記第1直径よりも小さい第3直径の円であり、
前記第2方向から見たとき、前記第2孔の外縁は前記第1直径の円であり、前記第4部分の外縁は前記第2直径の円であり、前記第5部分の外縁は前記第2直径の円であり、前記第6部分の外縁は前記第3直径の円であり、
前記所定の範囲の上限は、前記第3直径と前記第1直径との差である、
ことを特徴とする請求項8に記載のヘッドユニット。
【請求項10】
前記接続部は、テーパー状の嵌合部を含む、
ことを特徴とする請求項7に記載のヘッドユニット。
(【請求項11】以降は省略されています)
発明の詳細な説明
【技術分野】
【0001】
本発明は、液体吐出装置、ヘッドユニット及びヘッドユニット接続方法に関する。
続きを表示(約 4,200 文字)
【背景技術】
【0002】
近年、産業用プリンターにおいては、高速高精細な印刷の需要がある。そのため、例えば特許文献1に記載のように、近年の産業用プリンターは、複数の印刷ヘッドを並べることで高速印刷に対応するとともに、印刷ヘッドとその駆動回路をキャリッジに搭載することで高精細な印刷に対応する構成となっている。このような複数の印刷ヘッドを含むヘッドユニットは大型化する。そのような大型のヘッドユニットの着脱に際して、着脱作業の簡易化や信頼性向上のために電気的コネクターを直接的に手で嵌合することなく間接的に嵌合する構成について、例えば特許文献1に開示されている。
【先行技術文献】
【特許文献】
【0003】
特開2017-132185号公報
【発明の概要】
【発明が解決しようとする課題】
【0004】
しかしながら、コネクターの嵌合方向と直交する上下左右方向においてコネクターの孔のずれや、ヘッドユニットの設置時のずれなどの要因で、コネクターの篏合に位置ずれが起きるおそれがあるが、特許文献1では、この問題を解決する構成について開示されていない。このような位置ずれが起きた場合、電気的接続が適切に行えない、また無理に嵌合しようとした結果、コネクターが破損するなどのおそれがあった。
【課題を解決するための手段】
【0005】
本発明に係る液体吐出装置の一態様は、
キャリッジと、
前記キャリッジに搭載され、媒体に対して液体を吐出するヘッドユニットと、
前記ヘッドユニットに電力を供給する電源回路と、
を備える液体吐出装置であって、
前記キャリッジは、
前記ヘッドユニットが積載される第1キャリッジ面と、
前記電源回路から供給される電源電圧が伝搬する第1コネクターと、
前記第1キャリッジ面と交差する第2キャリッジ面と、
前記第1コネクターを前記第2キャリッジ面に固定する第1固定部材及び第2固定部材と、
を有し、
前記ヘッドユニットは、
前記電源電圧に基づいて、駆動信号を生成する駆動信号生成回路を含む駆動基板と、
前記第1コネクターと接続され、前記電源電圧を前記駆動基板に供給する第2コネクターと、
前記駆動信号が印加されることで前記液体を吐出させる圧電素子を含む液体吐出ヘッドと、
を有し、
前記第1コネクターは、
第1孔と第2孔とが設けられたベース部と、
前記ベース部から延伸し、前記電源電圧が伝搬する端子を含む端子群が設けられる接続
部と、
前記第1孔を挿通し、前記ベース部を所定の範囲で移動可能に保持する第1保持部と、
前記第2孔を挿通し、前記ベース部を前記所定の範囲で移動可能に保持する第2保持部と、
を含み、
前記第1固定部材は、前記第1保持部を前記第2キャリッジ面に対して固定し、
前記第2固定部材は、前記第2保持部を前記第2キャリッジ面に対して固定する。
【0006】
本発明に係るヘッドユニットの一態様は、
電源回路から電力が供給され、キャリッジに搭載され、媒体に対して液体を吐出するヘッドユニットであって、
前記キャリッジは、
前記ヘッドユニットが積載される第1キャリッジ面と、
前記電源回路から供給される電源電圧が伝搬する第1コネクターと、
前記第1キャリッジ面と交差する第2キャリッジ面と、
前記第1コネクターを前記第2キャリッジ面に固定する第1固定部材及び第2固定部材と、
を有し、
前記第1コネクターは、
第1孔と第2孔とが設けられたベース部と、
前記ベース部から延伸し、前記電源電圧が伝搬する端子を含む端子群が設けられる接続部と、
前記第1孔を挿通し、前記ベース部を所定の範囲で移動可能に保持する第1保持部と、
前記第2孔を挿通し、前記ベース部を前記所定の範囲で移動可能に保持する第2保持部と、
を含み、
前記第1固定部材は、前記第1保持部を前記第2キャリッジ面に対して固定し、
前記第2固定部材は、前記第2保持部を前記第2キャリッジ面に対して固定し、
前記ヘッドユニットは、
前記電源電圧に基づいて、駆動信号を生成する駆動信号生成回路を含む駆動基板と、
前記第1コネクターと接続され、前記電源電圧を前記駆動基板に供給する第2コネクターと、
前記駆動信号が印加されることで前記液体を吐出させる圧電素子を含む液体吐出ヘッドと、
を有する。
【0007】
本発明に係るヘッドユニット接続方法の一態様は、
電源回路から電力が供給され、媒体に対して液体を吐出するヘッドユニットをキャリッジに接続するヘッドユニット接続方法であって、
前記キャリッジは、
前記ヘッドユニットが積載される第1キャリッジ面と、
前記電源回路から供給される電源電圧が伝搬する第1コネクターと、
前記第1キャリッジ面と交差する第2キャリッジ面と、
前記第1コネクターを前記第2キャリッジ面に固定する第1固定部材及び第2固定部材と、
を有し、
前記第1コネクターは、
第1孔と第2孔とが設けられたベース部と、
前記ベース部から延伸し、前記電源電圧が伝搬する端子を含む端子群が設けられる接続部と、
前記第1孔を挿通し、前記ベース部を所定の範囲で移動可能に保持する第1保持部と、
前記第2孔を挿通し、前記ベース部を前記所定の範囲で移動可能に保持する第2保持部と、
を含み、
前記第1固定部材は、前記第1保持部を前記第2キャリッジ面に対して固定し、
前記第2固定部材は、前記第2保持部を前記第2キャリッジ面に対して固定し、
前記ヘッドユニットは、
前記電源電圧に基づいて、駆動信号を生成する駆動信号生成回路を含む駆動基板と、
前記第1コネクターと接続され、前記電源電圧を前記駆動基板に供給する第2コネクターと、
前記駆動信号が印加されることで前記液体を吐出させる圧電素子を含む液体吐出ヘッドと、
を有し、
前記ヘッドユニット接続方法は、
前記ヘッドユニットの前記液体吐出ヘッドが設けられる面と前記第1キャリッジ面とが平行になるように前記ヘッドユニットを前記キャリッジに積載する工程と、
前記液体吐出ヘッドが設けられる前記面と前記第1キャリッジ面とが平行な状態を維持したまま前記第1コネクターと前記第2コネクターとを嵌合する工程と、を備える。
【図面の簡単な説明】
【0008】
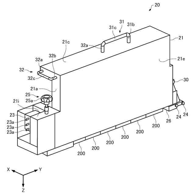
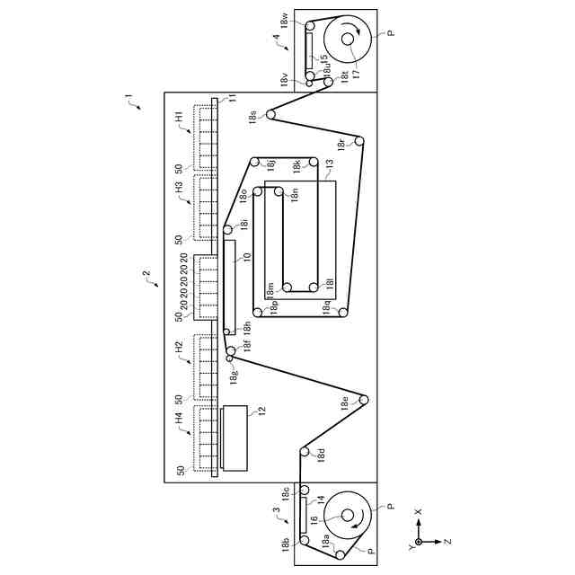
液体吐出装置の概略構成を示す図である。
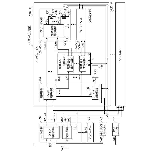
液体吐出装置の機能構成の一例を示す図である。
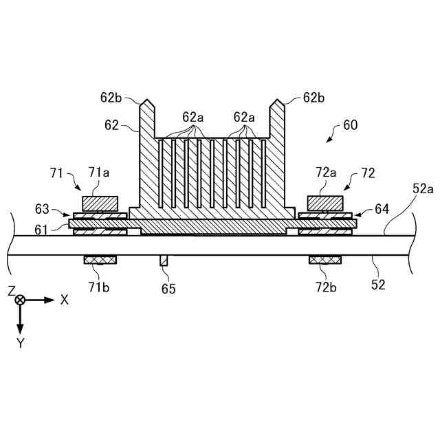
吐出部の概略構成を説明するための図である。
ヘッドユニットの斜視図である。
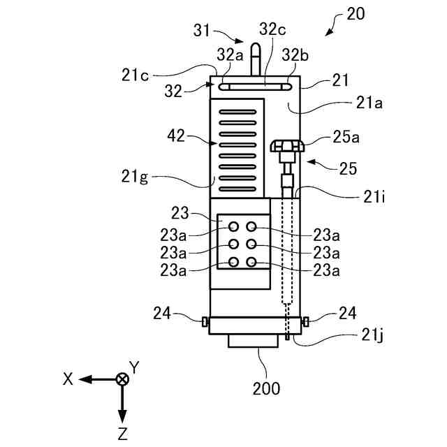
ヘッドユニットを-Y側から見た外観図である。
ヘッドユニットを+Y側から見た外観図である。
ヘッドユニットを-X側から見た外観図である。
ヘッドユニットを+X側から見た外観図である。
ヘッドユニットを-Z側から見た外観図である。
ヘッドユニットを+Z側から見た外観図である。
-X側から見たヘッドユニットの内部構造を示す図である。
キャリッジを-Y側から見た外観図である。
キャリッジを-X側から見た外観図である。
キャリッジを-Z側から見た外観図である。
コネクターを-Z側から見た外観図である。
コネクターを-X側から見た外観図である。
コネクターを-Y側から見た外観図である。
コネクターを-Z側から見た断面図である。
ヘッドユニットが積載されたキャリッジを-Y側から見た外観図である。
ヘッドユニットが積載されたキャリッジを-X側から見た外観図である。
ヘッドユニット接続方法の手順の一例を示すフローチャート図である。
図21の工程S1の状態を示す図である。
図21の工程S2の状態を示す図である。
図21の工程S3の状態を示す図である。
図21の工程S4の状態を示す図である。
図21の工程S5の状態を示す図である。
【発明を実施するための形態】
【0009】
以下、本発明の好適な実施形態について図面を用いて説明する。用いる図面は説明の便宜上のものである。なお、以下に説明する実施形態は、特許請求の範囲に記載された本発
明の内容を不当に限定するものではない。また、以下で説明される構成の全てが本発明の必須構成要件であるとは限らない。
【0010】
1.液体吐出装置の概要
以下では、本発明に係る液体吐出装置の一例として、液体の一例としてのインクを吐出する複数のヘッドユニットが搭載されたキャリッジが一方向に移動し、当該複数のヘッドユニットが、静止している媒体に対してインクを吐出することで、媒体に対して画像を形成するインクジェットプリンターを例示して説明を行う。ただし、本実施形態の液体吐出装置は、これに限られず、例えば、1又は複数のヘッドユニットが搭載されたキャリッジが往復動し、当該1又は複数のヘッドユニットが、搬送される媒体に対してインクを吐出することで、媒体に対して画像を形成する、いわゆるシリアル印刷方式のインクジェットプリンターであってもよい。あるいは、本実施形態の液体吐出装置は、媒体の幅以上に並んで設けられた複数のヘッドユニットが、搬送される媒体に対してインクを吐出することで、媒体に対して画像を形成する、いわゆるライン印刷方式のインクジェットプリンターであってもよい。
(【0011】以降は省略されています)
この特許をJ-PlatPat(特許庁公式サイト)で参照する
関連特許
セイコーエプソン株式会社
印刷装置
4日前
セイコーエプソン株式会社
印刷装置
2日前
セイコーエプソン株式会社
ロボット
2日前
セイコーエプソン株式会社
印刷装置
3日前
セイコーエプソン株式会社
印刷装置
2日前
セイコーエプソン株式会社
印刷装置
3日前
セイコーエプソン株式会社
印刷装置
2日前
セイコーエプソン株式会社
印刷装置
2日前
セイコーエプソン株式会社
微細化装置
3日前
セイコーエプソン株式会社
権限管理装置
2日前
セイコーエプソン株式会社
液体収容容器
2日前
セイコーエプソン株式会社
プロジェクター
2日前
セイコーエプソン株式会社
プロジェクター
2日前
セイコーエプソン株式会社
プロジェクター
2日前
セイコーエプソン株式会社
プロジェクター
2日前
セイコーエプソン株式会社
垂直多関節ロボット
2日前
セイコーエプソン株式会社
回路装置及び電子機器
2日前
セイコーエプソン株式会社
栽培用培地の製造方法
3日前
セイコーエプソン株式会社
電気光学装置および電子機器
3日前
セイコーエプソン株式会社
レーザー干渉計および分光装置
3日前
セイコーエプソン株式会社
偏心揺動装置及び射出成形装置
2日前
セイコーエプソン株式会社
液体回収装置及び液体回収容器
3日前
セイコーエプソン株式会社
液体噴射ヘッド及び液体噴射装置
2日前
セイコーエプソン株式会社
情報管理システム、及びサーバー
3日前
セイコーエプソン株式会社
ヘッドユニット及び液体吐出装置
2日前
セイコーエプソン株式会社
液体回収システム及び液体回収容器
3日前
セイコーエプソン株式会社
位相補間回路、回路装置及び発振器
3日前
セイコーエプソン株式会社
液体容器、印刷装置、印刷システム
2日前
セイコーエプソン株式会社
液体吐出装置、及びヘッドユニット
2日前
セイコーエプソン株式会社
表示装置および表示装置の制御方法
2日前
セイコーエプソン株式会社
スクリーン装置及び空間演出システム
3日前
セイコーエプソン株式会社
射出成形システム、及び成形品押出方法
2日前
セイコーエプソン株式会社
分光装置、分光装置の校正方法および分光方法
2日前
セイコーエプソン株式会社
捺染インクジェットインク組成物及び記録方法
3日前
セイコーエプソン株式会社
電気光学装置、表示モジュールおよび電子機器
3日前
セイコーエプソン株式会社
情報処理方法、サーバー装置、及び情報処理装置
2日前
続きを見る
他の特許を見る