TOP
|
特許
|
意匠
|
商標
特許ウォッチ
Twitter
他の特許を見る
公開番号
2025155207
公報種別
公開特許公報(A)
公開日
2025-10-14
出願番号
2024058885
出願日
2024-04-01
発明の名称
液晶表示装置および制御方法
出願人
株式会社JVCケンウッド
代理人
個人
主分類
G09G
3/36 20060101AFI20251006BHJP(教育;暗号方法;表示;広告;シール)
要約
【課題】液晶表示装置において消費電力を低減できる技術を提供する。
【解決手段】極性切り替え制御回路14は、垂直走査期間のうちの第1期間において、所定の単位期間ごとに間欠的に第1スイッチS1を導通させ、第1期間に続く第2期間において、単位期間ごとに間欠的に第2スイッチS2を導通させ、第1スイッチS1と第2スイッチS2の導通に同期して、第1バッファ回路B1と第2バッファ回路B2に間欠的にバイアス電流を流す。第1期間と第2期間のそれぞれにおいて、複数の単位期間のうち一部の単位期間では、バイアス電流を基準値とし、残りの単位期間では、バイアス電流を基準値よりも減少させる。
【選択図】図1
特許請求の範囲
【請求項1】
2本のデータ線を一組とする複数組のデータ線と複数本のゲート線とがそれぞれ交差する交差部に設けられた複数の画素と、
前記複数組のデータ線に対してそれぞれ設けられており、一組の前記2本のデータ線のうち一方に正極性映像信号を供給し、かつ、他方のデータ線に負極性映像信号を供給することを、前記複数組のデータ線に対して組単位で順次行う複数組の選択スイッチと、
前記複数組の選択スイッチを水平走査期間内で組単位で順次駆動する水平方向駆動回路と、
前記複数本のゲート線を前記水平走査期間ごとに順次駆動する垂直方向駆動回路と、
極性切り替え制御回路と、を備え、
前記複数の画素のそれぞれは、
対向する画素駆動電極と共通電極との間に液晶層が挟持された液晶素子と、
対応する前記データ線の前記正極性映像信号をサンプリングして保持する第1保持部と、
前記第1保持部に保持された前記正極性映像信号を受ける第1バッファ回路と、
導通時、前記第1バッファ回路から出力された正極性映像信号を前記画素駆動電極に印加する第1スイッチと、
対応する前記データ線の前記負極性映像信号をサンプリングして保持する第2保持部と、
前記第2保持部に保持された前記負極性映像信号を受ける第2バッファ回路と、
導通時、前記第2バッファ回路から出力された負極性映像信号を前記画素駆動電極に印加する第2スイッチと、を有し、
前記極性切り替え制御回路は、
垂直走査期間のうちの第1期間において、所定の単位期間ごとに間欠的に前記第1スイッチを導通させ、
前記垂直走査期間のうちの前記第1期間に続く第2期間において、前記単位期間ごとに間欠的に前記第2スイッチを導通させ、
前記第1スイッチと前記第2スイッチの導通に同期して、前記第1バッファ回路と前記第2バッファ回路に間欠的にバイアス電流を流し、
前記第1期間と前記第2期間のそれぞれにおいて、複数の前記単位期間のうち一部の前記単位期間では、前記バイアス電流を基準値とし、残りの前記単位期間では、前記バイアス電流を前記基準値よりも減少させる、
ことを特徴とする液晶表示装置。
続きを表示(約 2,500 文字)
【請求項2】
前記極性切り替え制御回路は、
前記第1期間において、前記複数の単位期間のうち前記一部の単位期間では、前記単位期間ごとに間欠的に前記第1スイッチを導通させ、前記残りの単位期間では、前記第1スイッチを遮断し、
前記第2期間において、前記複数の単位期間のうち前記一部の単位期間では、前記単位期間ごとに間欠的に前記第2スイッチを導通させ、前記残りの単位期間では、前記第2スイッチを遮断し、
前記第1期間と前記第2期間のそれぞれにおいて、前記残りの単位期間では、前記第1バッファ回路と前記第2バッファ回路に前記バイアス電流を流さない、
ことを特徴とする請求項1に記載の液晶表示装置。
【請求項3】
前記単位期間は、前記水平走査期間である、
ことを特徴とする請求項1または2に記載の液晶表示装置。
【請求項4】
前記第1期間における前記一部の単位期間は、前記第1期間における最初の単位期間から連続した2以上の単位期間であり、
前記第2期間における前記一部の単位期間は、前記第2期間における最初の単位期間から連続した2以上の単位期間である、
ことを特徴とする請求項1または2に記載の液晶表示装置。
【請求項5】
前記第1バッファ回路と前記第2バッファ回路は、それぞれ、ソースフォロア回路であり、
前記バイアス電流は、前記ソースフォロア回路に流れる定電流である、
ことを特徴とする請求項1または2に記載の液晶表示装置。
【請求項6】
前記極性切り替え制御回路は、
前記単位期間ごとにスタートパルスを生成するスタートパルス生成部と、
前記スタートパルスをクロックごとにシフトし、シフト後のパルスを出力するとともに、前記スタートパルスを前記ゲート線の数と同じ回数シフトすると出力パルスを出力するシフトレジスタと、
前記シフトレジスタからクロックごとに出力されるシフト後のパルスに基づいて、前記複数の画素のそれぞれの前記第1スイッチの制御信号、前記第2スイッチの制御信号、および、前記第1バッファ回路と前記第2バッファ回路の前記バイアス電流の制御信号を出力する出力部と、
前記シフトレジスタから出力される前記出力パルスの数を計数するカウンタと、を有し、
前記出力部は、前記カウンタで計数された数が前記一部の単位期間の数になると、前記バイアス電流を前記基準値よりも減少させるように前記バイアス電流の制御信号を出力する、
ことを特徴とする請求項1に記載の液晶表示装置。
【請求項7】
前記極性切り替え制御回路は、
前記単位期間ごとにスタートパルスを生成するスタートパルス生成部と、
前記スタートパルスをクロックごとにシフトし、シフト後のパルスを出力するとともに、前記スタートパルスを前記ゲート線の数と同じ回数シフトすると出力パルスを出力するシフトレジスタと、
前記シフトレジスタからクロックごとに出力されるシフト後のパルスに基づいて、前記複数の画素のそれぞれの前記第1スイッチの制御信号、前記第2スイッチの制御信号、および、前記第1バッファ回路と前記第2バッファ回路の前記バイアス電流の制御信号を出力する出力部と、
前記シフトレジスタから出力される前記出力パルスの数を計数するカウンタと、を有し、
前記スタートパルス生成部は、前記カウンタで計数された数が前記一部の単位期間の数になると、前記スタートパルスの生成を停止する、
ことを特徴とする請求項2に記載の液晶表示装置。
【請求項8】
液晶表示装置における制御方法であって、
前記液晶表示装置は、
2本のデータ線を一組とする複数組のデータ線と複数本のゲート線とがそれぞれ交差する交差部に設けられた複数の画素と、
前記複数組のデータ線に対してそれぞれ設けられており、一組の前記2本のデータ線のうち一方に正極性映像信号を供給し、かつ、他方のデータ線に負極性映像信号を供給することを、前記複数組のデータ線に対して組単位で順次行う複数組の選択スイッチと、
前記複数組の選択スイッチを水平走査期間内で組単位で順次駆動する水平方向駆動回路と、
前記複数本のゲート線を前記水平走査期間ごとに順次駆動する垂直方向駆動回路と、を備え、
前記複数の画素のそれぞれは、
対向する画素駆動電極と共通電極との間に液晶層が挟持された液晶素子と、
対応する前記データ線の前記正極性映像信号をサンプリングして保持する第1保持部と、
前記第1保持部に保持された前記正極性映像信号を受ける第1バッファ回路と、
導通時、前記第1バッファ回路から出力された正極性映像信号を前記画素駆動電極に印加する第1スイッチと、
対応する前記データ線の前記負極性映像信号をサンプリングして保持する第2保持部と、
前記第2保持部に保持された前記負極性映像信号を受ける第2バッファ回路と、
導通時、前記第2バッファ回路から出力された負極性映像信号を前記画素駆動電極に印加する第2スイッチと、を有し、
前記制御方法は、
垂直走査期間のうちの第1期間において、所定の単位期間ごとに間欠的に前記第1スイッチを導通させるステップと、
前記垂直走査期間のうちの前記第1期間に続く第2期間において、前記単位期間ごとに間欠的に前記第2スイッチを導通させるステップと、
前記第1スイッチと前記第2スイッチの導通に同期して、前記第1バッファ回路と前記第2バッファ回路に間欠的にバイアス電流を流すステップと、を含み、
前記第1期間と前記第2期間のそれぞれにおいて、複数の前記単位期間のうち一部の前記単位期間では、前記バイアス電流を基準値とし、残りの前記単位期間では、前記バイアス電流を前記基準値よりも減少させる、
ことを特徴とする制御方法。
発明の詳細な説明
【技術分野】
【0001】
本発明は、液晶表示装置および制御方法に関する。
続きを表示(約 2,500 文字)
【背景技術】
【0002】
特許文献1は、保持容量に保持された正極性映像信号と、別の保持容量に保持された負極性映像信号とを、垂直走査期間より短い所定の周期で切り替えて液晶素子の画素駆動電極に交互に印加する液晶表示装置を開示する。
【先行技術文献】
【特許文献】
【0003】
特開2009-223289号公報
【発明の概要】
【発明が解決しようとする課題】
【0004】
垂直走査期間内に正極性映像信号と負極性映像信号とを複数回切り替える液晶表示装置において、消費電力を低減することが望まれる。
【0005】
本発明はこうした状況に鑑みてなされたものであり、その目的は、液晶表示装置において消費電力を低減できる技術を提供することである。
【課題を解決するための手段】
【0006】
上記課題を解決するために、本発明のある態様の液晶表示装置は、2本のデータ線を一組とする複数組のデータ線と複数本のゲート線とがそれぞれ交差する交差部に設けられた複数の画素と、複数組のデータ線に対してそれぞれ設けられており、一組の2本のデータ線のうち一方に正極性映像信号を供給し、かつ、他方のデータ線に負極性映像信号を供給することを、複数組のデータ線に対して組単位で順次行う複数組の選択スイッチと、複数組の選択スイッチを水平走査期間内で組単位で順次駆動する水平方向駆動回路と、複数本のゲート線を水平走査期間ごとに順次駆動する垂直方向駆動回路と、極性切り替え制御回路と、を備える。複数の画素のそれぞれは、対向する画素駆動電極と共通電極との間に液晶層が挟持された液晶素子と、対応するデータ線の正極性映像信号をサンプリングして保持する第1保持部と、第1保持部に保持された正極性映像信号を受ける第1バッファ回路と、導通時、第1バッファ回路から出力された正極性映像信号を画素駆動電極に印加する第1スイッチと、対応するデータ線の負極性映像信号をサンプリングして保持する第2保持部と、第2保持部に保持された負極性映像信号を受ける第2バッファ回路と、導通時、第2バッファ回路から出力された負極性映像信号を画素駆動電極に印加する第2スイッチと、を有する。極性切り替え制御回路は、垂直走査期間のうちの第1期間において、所定の単位期間ごとに間欠的に第1スイッチを導通させ、垂直走査期間のうちの第1期間に続く第2期間において、単位期間ごとに間欠的に第2スイッチを導通させ、第1スイッチと第2スイッチの導通に同期して、第1バッファ回路と第2バッファ回路に間欠的にバイアス電流を流し、第1期間と第2期間のそれぞれにおいて、複数の単位期間のうち一部の単位期間では、バイアス電流を基準値とし、残りの単位期間では、バイアス電流を基準値よりも減少させる。
【0007】
本発明の別の態様は、制御方法である。この方法は、液晶表示装置における制御方法であって、液晶表示装置は、2本のデータ線を一組とする複数組のデータ線と複数本のゲート線とがそれぞれ交差する交差部に設けられた複数の画素と、複数組のデータ線に対してそれぞれ設けられており、一組の2本のデータ線のうち一方に正極性映像信号を供給し、かつ、他方のデータ線に負極性映像信号を供給することを、複数組のデータ線に対して組単位で順次行う複数組の選択スイッチと、複数組の選択スイッチを水平走査期間内で組単位で順次駆動する水平方向駆動回路と、複数本のゲート線を水平走査期間ごとに順次駆動する垂直方向駆動回路と、を備える。複数の画素のそれぞれは、対向する画素駆動電極と共通電極との間に液晶層が挟持された液晶素子と、対応するデータ線の正極性映像信号をサンプリングして保持する第1保持部と、第1保持部に保持された正極性映像信号を受ける第1バッファ回路と、導通時、第1バッファ回路から出力された正極性映像信号を画素駆動電極に印加する第1スイッチと、対応するデータ線の負極性映像信号をサンプリングして保持する第2保持部と、第2保持部に保持された負極性映像信号を受ける第2バッファ回路と、導通時、第2バッファ回路から出力された負極性映像信号を画素駆動電極に印加する第2スイッチと、を有する。制御方法は、垂直走査期間のうちの第1期間において、所定の単位期間ごとに間欠的に第1スイッチを導通させるステップと、垂直走査期間のうちの第1期間に続く第2期間において、単位期間ごとに間欠的に第2スイッチを導通させるステップと、第1スイッチと第2スイッチの導通に同期して、第1バッファ回路と第2バッファ回路に間欠的にバイアス電流を流すステップと、を含む。第1期間と第2期間のそれぞれにおいて、複数の単位期間のうち一部の単位期間では、バイアス電流を基準値とし、残りの単位期間では、バイアス電流を基準値よりも減少させる。
【0008】
なお、以上の構成要素の任意の組合せ、本発明の表現を方法、装置、システム、記録媒体、コンピュータプログラムなどの間で変換したものもまた、本発明の態様として有効である。
【発明の効果】
【0009】
本発明によれば、液晶表示装置において消費電力を低減できる。
【図面の簡単な説明】
【0010】
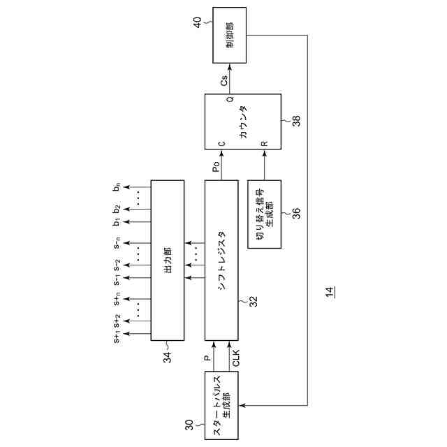
第1の実施の形態の液晶表示装置の構成を概略的に示す図である。
図1の第1バッファ回路の回路図である。
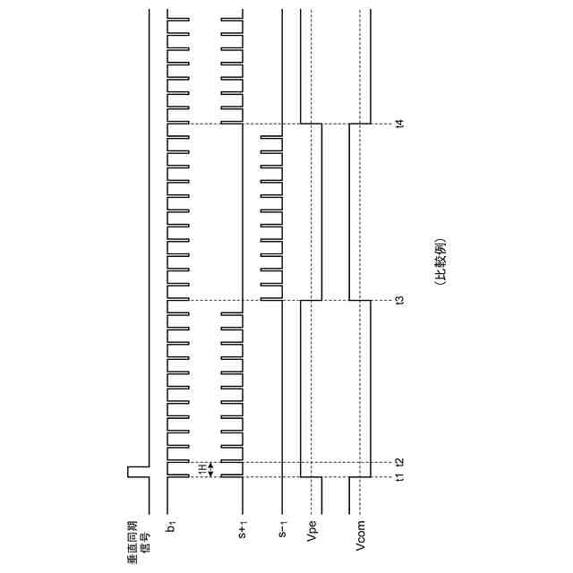
比較例の液晶表示装置の動作を説明するためのタイミング図である。
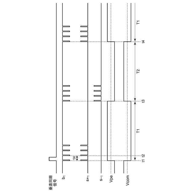
図1の液晶表示装置の動作を説明するためのタイミング図である。
図1の極性切り替え制御回路の機能構成を示す図である。
第2の実施の形態の液晶表示装置の動作を説明するためのタイミング図である。
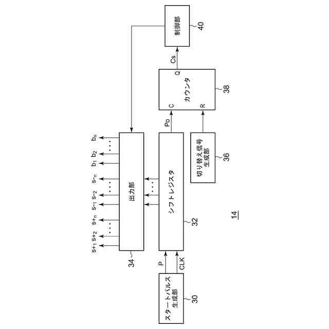
第2の実施の形態の極性切り替え制御回路の機能構成を示す図である。
【発明を実施するための形態】
(【0011】以降は省略されています)
この特許をJ-PlatPat(特許庁公式サイト)で参照する
関連特許
個人
回転式カード学習具
1か月前
日本精機株式会社
表示装置
2か月前
日本精機株式会社
表示装置
24日前
個人
計算用教具
20日前
中国電力株式会社
標示旗
1か月前
日本精機株式会社
車両用センサ装置
20日前
個人
モデルで薔薇の花嫁様を描く為
1か月前
個人
微細構造を模した理科学習教材
3日前
シャープ株式会社
表示装置
1か月前
株式会社一弘社
情報表示板
1か月前
個人
音楽教材
2か月前
株式会社ウメラボ
学習支援システム
16日前
株式会社ウメラボ
学習支援システム
10日前
ニチレイマグネット株式会社
磁着式電飾装置
1か月前
株式会社リコー
画像投射システム
1か月前
リンテック株式会社
表示体
9日前
学校法人関西医科大学
腹腔鏡手術訓練装置
1か月前
株式会社サンゲツ
見本帳
2か月前
シチズンファインデバイス株式会社
液晶表示装置
1か月前
BEST株式会社
吊り下げ表示部材
1か月前
シャープ株式会社
表示装置
2か月前
セイコーエプソン株式会社
表示方法
1か月前
セイコーエプソン株式会社
表示方法
1か月前
リンテック株式会社
粘着ラベル
10日前
ニプロ株式会社
シミュレータ
1か月前
キヤノン株式会社
発光装置
23日前
ローム株式会社
暗号化装置
10日前
TOPPANホールディングス株式会社
ラベル
20日前
株式会社JVCケンウッド
液晶表示装置および制御方法
5日前
セイコーエプソン株式会社
投射型表示装置
10日前
公立大学法人札幌市立大学
化学構造模型
11日前
矢崎総業株式会社
発光制御装置
1か月前
株式会社半導体エネルギー研究所
表示装置、画像データの処理方法
20日前
アルプスアルパイン株式会社
情報処理システム
11日前
JFEプロジェクトワン株式会社
実火災訓練装置
1か月前
株式会社小糸製作所
照明表示装置
9日前
続きを見る
他の特許を見る