TOP
|
特許
|
意匠
|
商標
特許ウォッチ
Twitter
他の特許を見る
公開番号
2025136771
公報種別
公開特許公報(A)
公開日
2025-09-19
出願番号
2024035603
出願日
2024-03-08
発明の名称
媒体搬送装置、記録装置
出願人
セイコーエプソン株式会社
代理人
個人
,
個人
,
個人
主分類
B41J
2/01 20060101AFI20250911BHJP(印刷;線画機;タイプライター;スタンプ)
要約
【課題】搬送ベルトが移動可能な構成において効率的に異物回収が可能な媒体搬送装置を提供すること。
【解決手段】媒体搬送装置は、記録を行う記録部と対向する対向位置において被記録媒体を搬送する搬送ベルトを有する搬送部と、前記対向位置にある前記搬送ベルトの鉛直下方に配置され、前記搬送ベルトから脱落した異物を回収可能な回収部と、を備え、前記搬送ベルトは、前記対向位置と、前記対向位置とは異なる位置である退避位置と、の間で移動可能に構成されており、前記回収部は、前記搬送ベルトの移動に連動して移動する。
【選択図】図3
特許請求の範囲
【請求項1】
記録を行う記録部と対向する対向位置において被記録媒体を搬送する搬送ベルトを有する搬送部と、
前記対向位置にある前記搬送ベルトの鉛直下方に配置され、前記搬送ベルトから脱落した異物を回収可能な回収部と、を備え、
前記搬送ベルトは、前記対向位置と、前記対向位置とは異なる位置である退避位置と、の間で移動可能に構成されており、
前記回収部は、前記搬送ベルトの移動に連動して移動する、
媒体搬送装置。
続きを表示(約 820 文字)
【請求項2】
前記搬送部と前記回収部とを接続するリンク機構を、さらに備え、
前記回収部は、前記搬送ベルトの移動に連動して移動する際に前記リンク機構によって姿勢が変化する、
請求項1に記載の媒体搬送装置。
【請求項3】
前記対向位置における前記搬送ベルトの姿勢と、前記退避位置における前記搬送ベルトの姿勢と、は異なる、
請求項1に記載の媒体搬送装置。
【請求項4】
前記搬送部と前記回収部とを接続するリンク機構を、さらに備え、
前記回収部は、前記搬送ベルトの移動に連動して移動する際に前記リンク機構によって姿勢が変化する、
請求項3に記載の媒体搬送装置。
【請求項5】
前記対向位置にある前記搬送ベルトに接触して前記搬送ベルトのクリーニングを行うクリーニング部を更に備え、
前記回収部は、前記クリーニング部の鉛直下方に配置される、
請求項1に記載の媒体搬送装置。
【請求項6】
前記クリーニング部は、前記搬送ベルトの移動に連動して移動する、
請求項5に記載の媒体搬送装置。
【請求項7】
前記回収部は着脱可能に構成される、
請求項1に記載の媒体搬送装置。
【請求項8】
前記回収部は、前記異物を収納可能な収納室を有し、
前記搬送ベルトが前記退避位置にある時に前記収納室内の前記異物の脱落を規制する規制壁を有する、
請求項2または4に記載の媒体搬送装置。
【請求項9】
被記録媒体に記録を行う記録部と、
請求項1~7のいずれかに記載の媒体搬送装置と、を備える、
記録装置。
【請求項10】
被記録媒体に記録を行う記録部と、
請求項8に記載の媒体搬送装置と、を備える、
記録装置。
発明の詳細な説明
【技術分野】
【0001】
本発明は、媒体搬送装置、および当該媒体搬送装置を備えた記録装置に関する。
続きを表示(約 1,700 文字)
【背景技術】
【0002】
例えば、特許文献1には、用紙などの媒体の収容カセットから保持トレイに向けて湾曲しつつ延びる媒体の搬送路において、媒体に記録を行う液体噴射部と対向する位置に搬送ベルトを備えた液体噴射装置が開示されている。当該文献によれば、搬送ベルトは、搬送路において媒体を支持する対向位置と、搬送路から離れる退避位置との間で移動可能に構成されており、搬送ベルトが退避位置に移動した際には、メンテナンス装置により液体噴射部の吸引クリーニング及びワイピングなどのメンテナンス動作を行う、としている。
【0003】
このような搬送ベルトに用紙の紙粉などの異物が付着すると、媒体の吸着不良などの不具合が発生する懸念があった。特に、紙粉が飛散して液体噴射部に付着した場合には、吐出ノズル詰りが生じる虞があり、異物を回収する方法が求められていた。
【先行技術文献】
【特許文献】
【0004】
特開2018-65303号公報
【発明の概要】
【発明が解決しようとする課題】
【0005】
しかしながら、特許文献1には、異物を回収する方法に関する記載は見当たらず、改善の余地があった。例えば、搬送ベルトの下に落下する紙粉等の異物を回収する回収部を設けることが考えられるが、搬送ベルトが移動可能な構成において回収部を設ける場合、搬送ベルトの移動を阻害しないように搬送ベルトの移動領域よりも離れた位置に回収部を設ける必要があるため、異物が飛散し兼ねず、効率的に異物回収ができないという課題があった。つまり、搬送ベルトが移動可能な構成において効率的に異物回収が可能な媒体搬送装置、および、記録装置が求められていた。
【課題を解決するための手段】
【0006】
本願の一態様に係る媒体搬送装置は、記録を行う記録部と対向する対向位置において被記録媒体を搬送する搬送ベルトを有する搬送部と、前記対向位置にある前記搬送ベルトの鉛直下方に配置され、前記搬送ベルトから脱落した異物を回収可能な回収部と、を備え、前記搬送ベルトは、前記対向位置と、前記対向位置とは異なる位置である退避位置と、の間で移動可能に構成されており、前記回収部は、前記搬送ベルトの移動に連動して移動する。
【0007】
本願の一態様に係る記録装置は、被記録媒体に記録を行う記録部と、上記の媒体搬送装置と、を備える。
【図面の簡単な説明】
【0008】
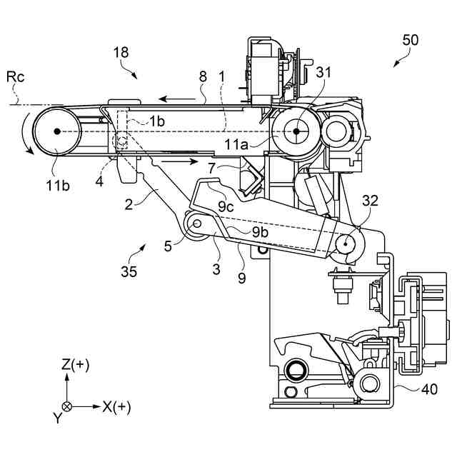
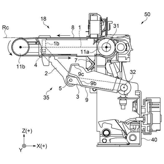
実施形態1に係る記録装置の概略構成図。
液体噴射部およびメンテナンス部の平面図。
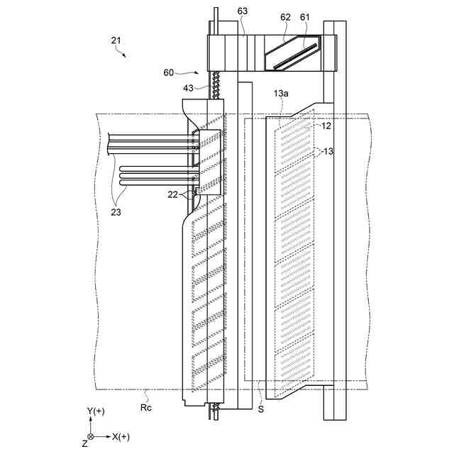
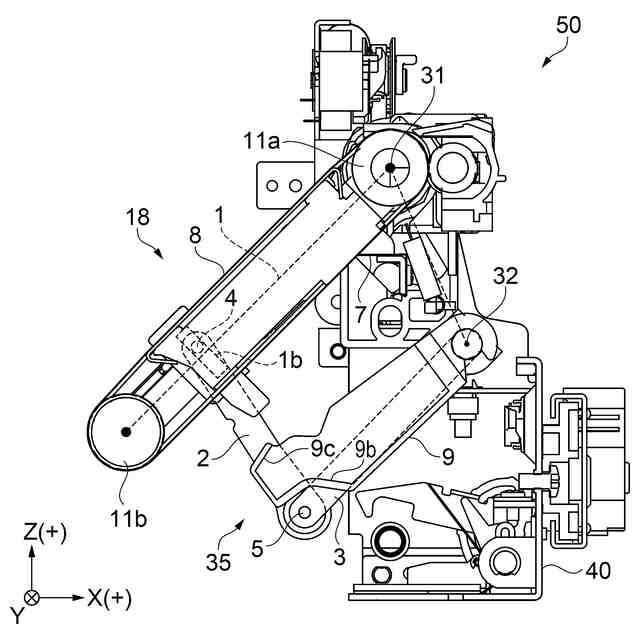
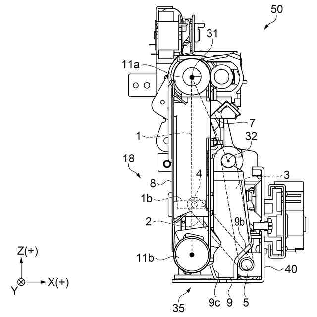
媒体搬送装置の一態様における要部の側断面図。
媒体搬送装置の一態様における要部の側断面図。
媒体搬送装置の一態様における要部の側断面図。
【発明を実施するための形態】
【0009】
実施形態1
***記録装置の概要***
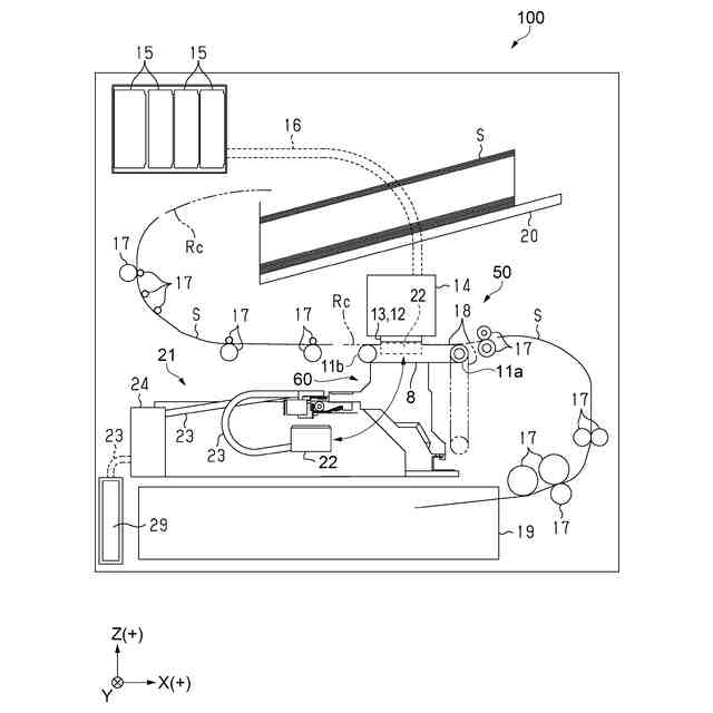
図1は、実施形態1に係る記録装置の概略構成図である。図2は、液体噴射部およびメンテナンス部の平面図である。
本実施形態の記録装置100は、用紙などの媒体Sに液体を噴射することによって記録を行うインクジェット式のプリンターである。好適例では、液体はインクであり、用紙からなる媒体Sに印刷を行う。
【0010】
各図には、互いに直交する3軸であるX軸、Y軸およびZ軸を図示している。本実施形態では、液体噴射部13から液体が噴出される方向を-Z方向としている。-Z方向は、鉛直下向き方向である。また、X軸に沿った方向を「X方向」、Y軸に沿った方向を「Y方向」、Z軸に沿った方向を「Z方向」という。例えば、Y方向とは、+Y方向と-Y方向との両方の方向をいう。また、+Z方向を「上方」、-Z方向を「下方」とも言う。また、以下の各図においては、説明を分かりやすくするため、実際とは異なる寸法や尺度で記載している場合がある。
(【0011】以降は省略されています)
この特許をJ-PlatPat(特許庁公式サイト)で参照する
関連特許
セイコーエプソン株式会社
印刷装置
3日前
セイコーエプソン株式会社
印刷装置
1日前
セイコーエプソン株式会社
印刷装置
1日前
セイコーエプソン株式会社
印刷装置
3日前
セイコーエプソン株式会社
印刷装置
3日前
セイコーエプソン株式会社
振動素子
13日前
セイコーエプソン株式会社
印刷装置
3日前
セイコーエプソン株式会社
気体分離膜
3日前
セイコーエプソン株式会社
機械式時計
14日前
セイコーエプソン株式会社
画像読取装置
3日前
セイコーエプソン株式会社
虚像表示装置
3日前
セイコーエプソン株式会社
液体吐出装置
3日前
セイコーエプソン株式会社
画像読取装置
7日前
セイコーエプソン株式会社
液体噴射ヘッド
13日前
セイコーエプソン株式会社
プロジェクター
7日前
セイコーエプソン株式会社
A/D変換回路
7日前
セイコーエプソン株式会社
液体噴射ヘッド
13日前
セイコーエプソン株式会社
液体吐出ヘッド
3日前
セイコーエプソン株式会社
プロジェクター
6日前
セイコーエプソン株式会社
電子制御式機械時計
1日前
セイコーエプソン株式会社
印刷装置及び印刷方法
13日前
セイコーエプソン株式会社
スクリーンの製造方法
3日前
セイコーエプソン株式会社
支持装置及び印刷装置
13日前
セイコーエプソン株式会社
媒体搬送装置、記録装置
13日前
セイコーエプソン株式会社
波長可変干渉フィルター
3日前
セイコーエプソン株式会社
慣性センサーおよび車両
7日前
セイコーエプソン株式会社
制御装置および表示装置
6日前
セイコーエプソン株式会社
三次元造形物の製造方法
6日前
セイコーエプソン株式会社
三次元造形物の製造方法
3日前
セイコーエプソン株式会社
治具、及び加工システム
3日前
セイコーエプソン株式会社
保持方法、及び加工方法
3日前
セイコーエプソン株式会社
生体物質抽出用磁性ビーズ
14日前
セイコーエプソン株式会社
プロジェクターの設置方法
13日前
セイコーエプソン株式会社
インクジェットインク組成物
3日前
セイコーエプソン株式会社
電気光学装置および電子機器
13日前
セイコーエプソン株式会社
電気光学装置および電子機器
13日前
続きを見る
他の特許を見る