TOP
|
特許
|
意匠
|
商標
特許ウォッチ
Twitter
他の特許を見る
10個以上の画像は省略されています。
公開番号
2025139877
公報種別
公開特許公報(A)
公開日
2025-09-29
出願番号
2024038953
出願日
2024-03-13
発明の名称
整合回路及びプラズマ処理装置
出願人
東京エレクトロン株式会社
代理人
個人
,
個人
,
個人
主分類
H05H
1/46 20060101AFI20250919BHJP(他に分類されない電気技術)
要約
【課題】プラズマ処理装置の整合回路において高周波電流が供給されているリレースイッチの閉状態から開状態への意図しない変化を抑制する技術を提供する。
【解決手段】開示される整合回路は、複数のリアクタンス要素及び複数のリレーを備える。複数のリアクタンス要素は、高周波電力のための供給ラインに接続されている。複数のリレーの各々は、対応のリアクタンス要素とグランドとの間で接続されたリレースイッチ及びリレーコイルを含む。複数のリレーの各々は、リレーコイルと対応のリアクタンス要素との間の寄生容量を介して流れる高周波電流を整流するように構成された少なくとも一つのダイオードと、少なくとも一つのダイオードによる整流により生成される電流に応じてリレーコイルに印加される直流電圧を発生するように構成された少なくとも一つのキャパシタと、を含む。
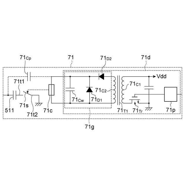
【選択図】図7
特許請求の範囲
【請求項1】
プラズマ生成用の高周波電力のための供給ラインに接続された複数のリアクタンス要素と、
各々が前記複数のリアクタンス要素のうち対応のリアクタンス要素に接続された第1の接点とグランドに接続された第2の接点を有するリレースイッチ及びリレーコイルを含む複数のリレーと、
を備え、
前記複数のリレーの各々は、
前記リレーコイルに並列に接続されており、前記リレーコイルと前記対応のリアクタンス要素との間の寄生容量を介して流れる高周波電流を整流するように構成された少なくとも一つのダイオードと、
前記リレーコイルに並列に接続された少なくとも一つのキャパシタであり、前記少なくとも一つのダイオードによる前記高周波電流の整流により生成される電流に応じて前記リレーコイルに印加される直流電圧を発生するように構成された、該少なくとも一つのキャパシタと、
を含む、
整合回路。
続きを表示(約 1,600 文字)
【請求項2】
前記リレースイッチは、前記リレーコイルに印加される直流電圧が閾値電圧レベル以下の電圧レベルに低下すると閉状態から開状態に遷移する特性を有し、
前記少なくとも一つのキャパシタは、該少なくとも一つのキャパシタが発生する前記直流電圧が前記閾値電圧レベルよりも高い電圧レベルを有するように設定された静電容量を有する、
請求項1に記載の整合回路。
【請求項3】
前記複数のリレーの各々は、前記リレースイッチを閉状態に設定する場合に直流電圧信号を前記リレーコイルに印加するように構成された駆動回路を含む、請求項1に記載の整合回路。
【請求項4】
前記複数のリレーの各々は、前記駆動回路と前記リレーコイルとの間で接続されたチョークコイルを更に含む、請求項3に記載の整合回路。
【請求項5】
前記複数のリレーの各々において、前記リレーコイルは、高周波に対してグランドから浮遊するように設けられており、
前記駆動回路は、
1次コイル及び2次コイル有する変圧器と、
前記1次コイルに接続されており、前記1次コイルに高周波パルスを供給するように構成されたパルス発生器と、
前記少なくとも一つのダイオード及び前記少なくとも一つのキャパシタを含み、前記2次コイルと前記リレーコイルとの間で接続されており、前記直流電圧信号を生成するように構成された直流電圧生成回路と、
を含む、
請求項3に記載の整合回路。
【請求項6】
前記少なくとも一つのダイオードは、前記リレーコイルの一端に接続されたカソード及び前記リレーコイルの他端に接続された他端を有する第1のダイオードを含み、
前記直流電圧生成回路は、前記リレーコイルの前記一端及び前記第1のダイオードの前記カソードの各々に接続されたカソードと前記2次コイルの一端に接続されたアノードとを有する第2のダイオードを更に含む、
請求項5に記載の整合回路。
【請求項7】
前記少なくとも一つのキャパシタは、
前記リレーコイルの一端に接続された一端を有する第1のキャパシタと、
前記第1のキャパシタの他端及び前記2次コイルの一端の各々に接続された一端と前記リレーコイルの他端に接続された他端を有する第2のキャパシタと、
を含み、
前記少なくとも一つのダイオードは、
前記リレーコイルの前記他端及び前記第2のキャパシタの前記他端の各々に接続されたアノードと前記2次コイルの他端に接続されたカソードとを有する第1のダイオードと、
前記第1のダイオードの前記カソード及び前記2次コイルの前記他端の各々に接続されたアノードと前記リレーコイルの前記一端及び前記第1のキャパシタの前記一端に接続されたカソードとを有する第2のダイオードと、
を含む、
請求項5に記載の整合回路。
【請求項8】
前記供給ラインは、一定のインピーダンスを有する分布定数線路である伝送ラインとして構成されている、請求項1~7の何れか一項に記載の整合回路。
【請求項9】
前記供給ラインは、マイクロストリップラインである、請求項8に記載の整合回路。
【請求項10】
直流電源に接続された共通抵抗と、
各々が前記共通抵抗と前記複数のリレーのうち対応するリレーの前記リレースイッチの前記第1の接点との間で接続された複数の抵抗と、
前記共通抵抗での電圧に基づき前記複数のリレーの故障を検知するように構成された検知器と、
を更に備える、請求項1~7の何れか一項に記載の整合回路。
(【請求項11】以降は省略されています)
発明の詳細な説明
【技術分野】
【0001】
本開示の例示的実施形態は、整合回路及びプラズマ処理装置に関するものである。
続きを表示(約 2,400 文字)
【背景技術】
【0002】
基板に対するプラズマ処理においてプラズマ処理装置が用いられている。プラズマ処理装置は、チャンバ、高周波電源、及び整合器を備える。高周波電源は、チャンバ内でガスからプラズマを生成するように高周波電力を発生するように構成されている。整合器は、負荷のインピーダンスを高周波電源の出力インピーダンスに整合させるように構成されている。下記の特許文献1に記載されたプラズマ処理装置の整合器は、複数のコンデンサ及び複数のスイッチング素子を含み、複数のスイッチング素子の開又は閉の状態により整合器の可変容量を調整するように構成されている。
【先行技術文献】
【特許文献】
【0003】
特開2022-78495号公報
【発明の概要】
【発明が解決しようとする課題】
【0004】
本開示は、プラズマ処理装置の整合回路において高周波電流が供給されているリレースイッチの閉状態から開状態への意図しない変化を抑制する技術を提供する。
【課題を解決するための手段】
【0005】
一つの例示的実施形態において、整合回路が提供される。整合回路は、複数のリアクタンス要素及び複数のリレーを備える。複数のリアクタンス要素は、プラズマ生成用の高周波電力のための供給ラインに接続されている。複数のリレーの各々は、リレースイッチ及びリレーコイルを含む。リレースイッチは、第1の接点及び第2の接点を有する。リレースイッチの第1の接点は、複数のリアクタンス要素のうち対応のリアクタンス要素に接続されている。リレースイッチの第2の接点は、グランドに接続されている。複数のリレーの各々は、少なくとも一つのダイオード及び少なくとも一つのキャパシタを含む。少なくとも一つのダイオードは、リレーコイルに並列に接続されており、リレーコイルと対応のリアクタンス要素との間の寄生容量を介して流れる高周波電流を整流するように構成されている。少なくとも一つのキャパシタは、リレーコイルに並列に接続されている。少なくとも一つのキャパシタは、少なくとも一つのダイオードによる高周波電流の整流により生成される電流に応じてリレーコイルに印加される直流電圧を発生するように構成されている。
【発明の効果】
【0006】
一つの例示的実施形態によれば、プラズマ処理装置の整合回路において高周波電流が供給されているリレースイッチの閉状態から開状態への意図しない変化を抑制することが可能となる。
【図面の簡単な説明】
【0007】
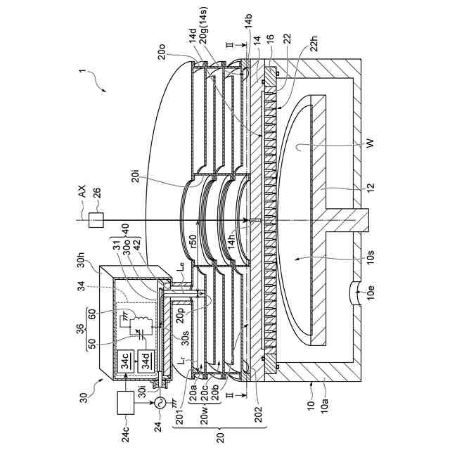
一つの例示的実施形態に係るプラズマ処理装置を示す図である。
一つの例示的実施形態に係るプラズマ処理装置の共振器における下部を示す図である。
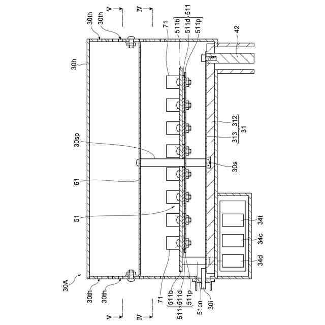
一つの例示的実施形態に係る結合器を示す断面図である。
図3のIV-IV線に沿ってとった断面図である。
図3のV-V線に沿ってとった断面図である。
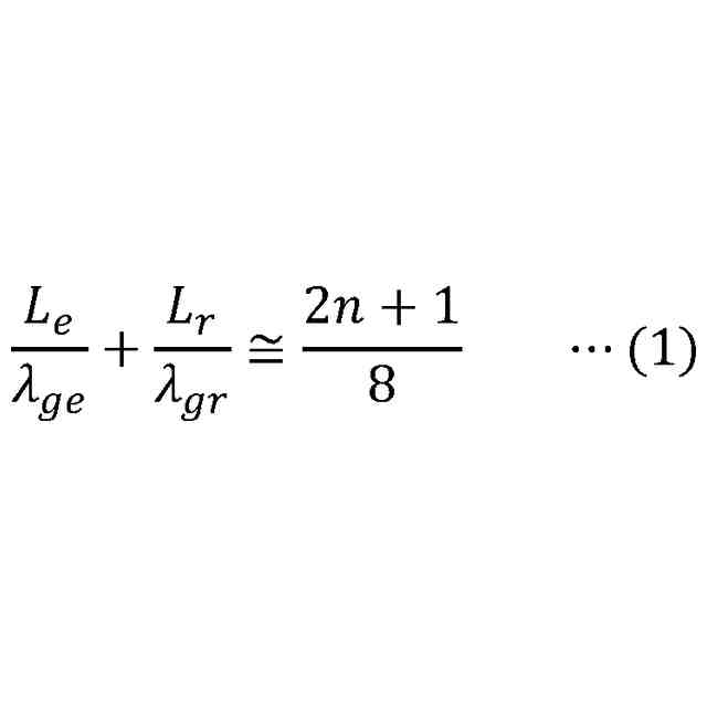
一つの例示的実施形態に係る結合器に関連するアドミッタンスチャートである。
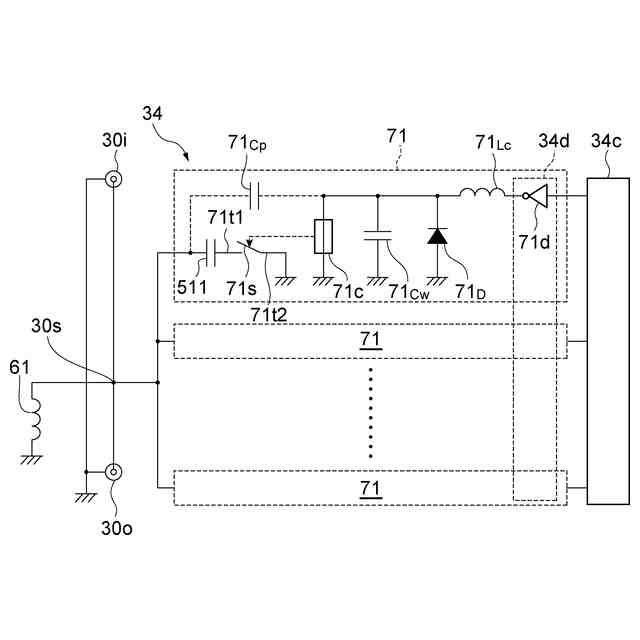
一つの例示的実施形態に係る整合回路を示す図である。
別の例示的実施形態に係るリレーを示す図である。
更に別の例示的実施形態に係るリレーを示す図である。
別の例示的実施形態に係る結合器を示す断面図である。
図10のXI-XI線に沿ってとった断面図である。
別の例示的実施形態に係るプラズマ処理装置を示す図である。
更に別の例示的実施形態に係る結合器を示す断面図である。
図13のXIV-XIV線に沿ってとった断面図である。
更に別の例示的実施形態に係る結合器を示す断面図である。
図15のXVI-XVI線に沿ってとった断面図である。
更に別の例示的実施形態に係る結合器を示す断面図である。
図17のXVIII-XVIII線に沿ってとった断面図である。
更に別の例示的実施形態に係る結合器における複数のリレーそれぞれのリレースイッチの状態(開又は閉)とインダクタンスの関係を示す表である。
種々の例示的実施形態に係る結合器に採用可能な複数のリレーの故障検知のための構成の例を示す図である。
【発明を実施するための形態】
【0008】
以下、図面を参照して種々の例示的実施形態について詳細に説明する。なお、各図面において同一又は相当の部分に対しては同一の符号を附すこととする。
【0009】
図1は、一つの例示的実施形態に係るプラズマ処理装置を示す図である。図1に示すプラズマ処理装置1は、チャンバ10、基板支持部12、導入部16、共振器20、高周波電源24、及び結合器30を備えている。
【0010】
チャンバ10は、その内部において処理空間10sを提供している。プラズマ処理装置1では、基板Wは、処理空間10sの中で処理される。チャンバ10は、アルミニウムのような金属から形成されており、接地されている。チャンバ10は、側壁10aを有しており、その上端において開口されている。チャンバ10及び側壁10aは、略円筒形状を有し得る。処理空間10sは、側壁10aの内側に提供されている。チャンバ10、側壁10a、及び処理空間10sの各々の中心軸線は、軸線AXである。チャンバ10は、その表面に耐腐食性を有する膜を有していてもよい。耐腐食性を有する膜は、酸化イットリウム膜、酸化フッ化イットリウム膜、フッ化イットリウム膜、酸化イットリウム、又はフッ化イットリウム等を含むセラミック膜であり得る。
(【0011】以降は省略されています)
この特許をJ-PlatPat(特許庁公式サイト)で参照する
関連特許
株式会社コロナ
電気機器
3か月前
個人
電子部品の実装方法
4日前
個人
非衝突型ガウス加速器
1か月前
日本精機株式会社
回路基板
3か月前
株式会社遠藤照明
照明装置
3か月前
日本精機株式会社
回路基板
26日前
キヤノン株式会社
電子機器
18日前
日本放送協会
基板固定装置
24日前
アイホン株式会社
電気機器
18日前
アイホン株式会社
電気機器
1か月前
キヤノン株式会社
電子機器
3か月前
個人
節電材料
1か月前
メクテック株式会社
配線基板
3か月前
メクテック株式会社
配線基板
1か月前
マクセル株式会社
配列用マスク
2か月前
東レ株式会社
霧化状活性液体供給装置
1か月前
イビデン株式会社
プリント配線板
2か月前
イビデン株式会社
プリント配線板
3か月前
サクサ株式会社
筐体の壁掛け構造
1か月前
トキコーポレーション株式会社
照明器具
2か月前
イビデン株式会社
配線基板
1か月前
イビデン株式会社
配線基板
1か月前
FDK株式会社
基板
3日前
イビデン株式会社
プリント配線板
2か月前
イビデン株式会社
プリント配線板
24日前
株式会社レゾナック
冷却装置
3日前
オムロン株式会社
端子折り曲げ治具
6日前
カシン工業株式会社
PTC発熱装置
2か月前
日産自動車株式会社
電子機器
2か月前
新電元工業株式会社
電子装置
18日前
新電元工業株式会社
充電装置
2か月前
株式会社電気印刷研究所
金属画像形成方法
2か月前
株式会社電気印刷研究所
金属画像形成方法
2か月前
メクテック株式会社
配線モジュール
3か月前
日産自動車株式会社
電子部品
16日前
メクテック株式会社
伸縮性配線基板
3か月前
続きを見る
他の特許を見る