TOP
|
特許
|
意匠
|
商標
特許ウォッチ
Twitter
他の特許を見る
10個以上の画像は省略されています。
公開番号
2025140379
公報種別
公開特許公報(A)
公開日
2025-09-29
出願番号
2024039740
出願日
2024-03-14
発明の名称
三次元造形物の製造システム、及び、保持部
出願人
セイコーエプソン株式会社
代理人
個人
,
個人
,
個人
主分類
B29C
64/245 20170101AFI20250919BHJP(プラスチックの加工;可塑状態の物質の加工一般)
要約
【課題】従来の技術では三次元造形物の裏面側を加工することが考慮されていなかった。
【解決手段】製造システムは、三次元造形物の表面を保持する保持部と、保持部によって保持された三次元造形物の裏面を加工する加工部とを備え、保持部は、互いに平行に配置され、内部流路を有する中空の複数のシャフトと、複数のシャフトが配置される複数の孔部を有する筐体と、筐体内に配置され複数のシャフトの各々の周囲に設けられた加圧室と、を備え、複数のシャフトの各々は、加圧室内に配置されるフランジ部を有し、加圧室は、フランジ部によって第1加圧室と第2加圧室とに区画され、複数のシャフトの各々は、第1加圧室又は第2加圧室内の圧力が調整されることでフランジ部が加圧室内で移動することによってシャフトの延びる方向に沿って移動し、保持部は、吸引装置によって内部流路を通じて三次元造形物が吸引されることで三次元造形物を保持する。
【選択図】図6
特許請求の範囲
【請求項1】
三次元造形物の製造システムであって、
三次元造形物の表面を保持する保持部と、
前記保持部によって保持された前記三次元造形物の表面の反対側の裏面を加工する加工部と、を備え、
前記保持部は、
互いに平行に配置され、内部流路を有する中空の複数のシャフトと、
前記複数のシャフトが配置される複数の孔部を有する筐体と、
前記筐体内に配置され、前記複数のシャフトの各々の周囲に設けられた加圧室と、
を備え、
前記複数のシャフトの各々は、前記加圧室内に配置されるフランジ部を有し、
前記加圧室は、前記フランジ部によって第1加圧室と第2加圧室とに区画され、
前記複数のシャフトの各々は、前記第1加圧室又は前記第2加圧室内の圧力が調整されることで前記フランジ部が前記加圧室内で移動することによって前記シャフトの延びる方向に沿って移動し、
前記保持部は、吸引装置によって前記内部流路を通じて前記三次元造形物が吸引されることで、前記複数のシャフトの先端部に前記三次元造形物を保持する、
三次元造形物の製造システム。
続きを表示(約 1,100 文字)
【請求項2】
請求項1に記載の三次元造形物の製造システムであって、
前記複数の孔部の周囲に、前記複数のシャフトの各々が前記方向に沿って移動する際に摩擦力を与える抵抗部を備える、三次元造形物の製造システム。
【請求項3】
請求項1に記載の三次元造形物の製造システムであって、
前記複数の孔部の周囲に、前記加圧室の端部をシールする複数のシール部材を備え、
前記複数のシール部材のうちの隣り合うシール部材は、前記方向における位置が互いに異なる、三次元造形物の製造システム。
【請求項4】
請求項1に記載の三次元造形物の製造システムであって、
前記複数の孔部は、前記方向に沿って見て、千鳥状に配置されている、三次元造形物の製造システム。
【請求項5】
請求項1に記載の三次元造形物の製造システムであって、
前記三次元造形物を付加製造する造形部を備える、三次元造形物の製造システム。
【請求項6】
請求項1に記載の三次元造形物の製造システムであって、
前記複数のシャフトは、前記三次元造形物に接触しない不使用シャフトを含み、
前記複数のシャフトのうちの少なくとも前記不使用シャフトは、前記内部流路を封止するための封止部材が固定される固定部を有する、三次元造形物の製造システム。
【請求項7】
請求項1に記載の三次元造形物の製造システムであって、
前記第1加圧室又は前記第2加圧室には、圧縮空気が供給され、
前記第1加圧室又は前記第2加圧室に供給される前記圧縮空気の圧力を調整する圧力調整部を備える、三次元造形物の製造システム。
【請求項8】
三次元造形物を保持する保持部であって、
互いに平行に配置され、中空の内部流路を有する中空の複数のシャフトと、
前記複数のシャフトが配置される複数の孔部を有する筐体と、
前記筐体内に配置され、前記複数のシャフトの各々の周囲に設けられた加圧室と、
を備え、
前記複数のシャフトの各々は、前記加圧室内に配置されるフランジ部を有し、
前記加圧室は、前記フランジ部によって第1加圧室と第2加圧室とに区画され、
前記複数のシャフトの各々は、前記第1加圧室又は前記第2加圧室内の圧力が調整されることで前記フランジ部が前記加圧室内で移動することによって前記シャフトが延びる方向に沿って移動し、
前記保持部は、吸引装置によって前記内部流路を通じて前記三次元造形物が吸引されることで、前記複数のシャフトの先端部に前記三次元造形物を保持する、
保持部。
発明の詳細な説明
【技術分野】
【0001】
本開示は、三次元造形物の製造システム、及び、保持部に関する。
続きを表示(約 2,400 文字)
【背景技術】
【0002】
特許文献1には、三次元造形物の製造方法において、ステージ上に積層された造形材料の一部を、切削工具を用いて切削することにより、所望の形状の三次元造形物を造形することが開示されている。
【先行技術文献】
【特許文献】
【0003】
特開2020-104439号公報
【発明の概要】
【発明が解決しようとする課題】
【0004】
従来の技術では、三次元造形物の裏面側を加工することが考慮されていなかった。
【課題を解決するための手段】
【0005】
本開示の第1の形態によれば、三次元造形物の製造システムが提供される。この三次元造形物の製造システムは、三次元造形物の表面を保持する保持部と、前記保持部によって保持された前記三次元造形物の表面の反対側の裏面を加工する加工部と、を備え、前記保持部は、互いに平行に配置され、内部流路を有する中空の複数のシャフトと、前記複数のシャフトが配置される複数の孔部を有する筐体と、前記筐体内に配置され、前記複数のシャフトの各々の周囲に設けられた加圧室と、を備え、前記複数のシャフトの各々は、前記加圧室内に配置されるフランジ部を有し、前記加圧室は、前記フランジ部によって第1加圧室と第2加圧室とに区画され、前記複数のシャフトの各々は、前記第1加圧室又は前記第2加圧室内の圧力が調整されることで前記フランジ部が前記加圧室内で移動することによって前記シャフトの延びる方向に沿って移動し、前記保持部は、吸引装置によって前記内部流路を通じて前記三次元造形物が吸引されることで、前記複数のシャフトの先端部に前記三次元造形物を保持する。
【0006】
本開示の第2の形態によれば、三次元造形物を保持する保持部が提供される。この保持部は、互いに平行に配置され、中空の内部流路を有する中空の複数のシャフトと、前記複数のシャフトが配置される複数の孔部を有する筐体と、前記筐体内に配置され、前記複数のシャフトの各々の周囲に設けられた加圧室と、を備え、前記複数のシャフトの各々は、前記加圧室内に配置されるフランジ部を有し、前記加圧室は、前記フランジ部によって第1加圧室と第2加圧室とに区画され、前記複数のシャフトの各々は、前記第1加圧室又は前記第2加圧室内の圧力が調整されることで前記フランジ部が前記加圧室内で移動することによって前記シャフトが延びる方向に沿って移動し、前記保持部は、吸引装置によって前記内部流路を通じて前記三次元造形物が吸引されることで、前記複数のシャフトの先端部に前記三次元造形物を保持する。
【図面の簡単な説明】
【0007】
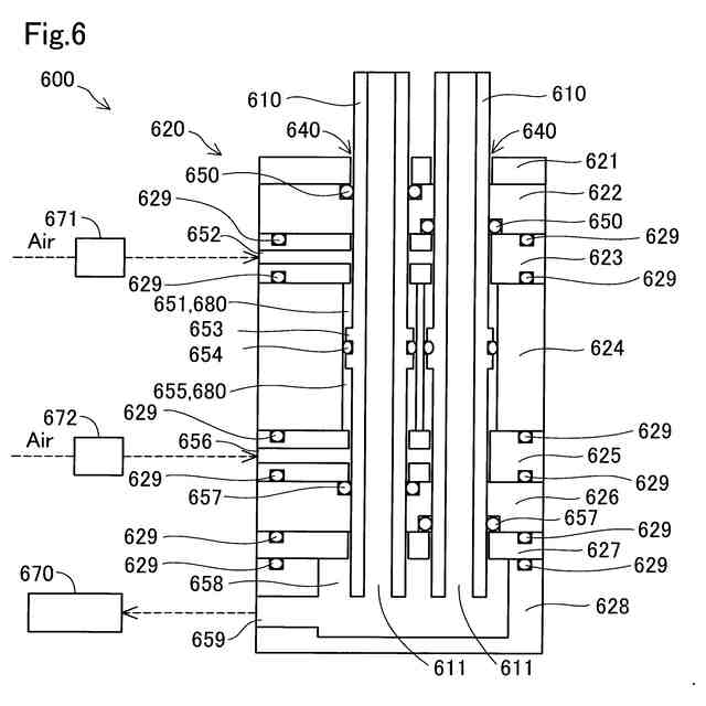
三次元造形物の製造システムの概略構成を示す説明図。
造形部の概略構成を示す説明図。
フラットスクリューの構成を示す斜視図。
バレルの構成を示す上面図。
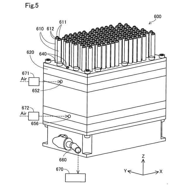
保持部の斜視図。
保持部の内部構成を概略的に示す断面図。
第1シール押さえ部材の斜視図。
三次元造形物の製造方法を表すフローチャート。
三次元造形物の例を示す斜視図。
三次元造形物の例を示す斜視図。
シャフトの先端に三次元造形物の表面が押しつけられた状態を示す図。
加工処理後の三次元造形物の裏面を示す図。
【発明を実施するための形態】
【0008】
A.第1実施形態:
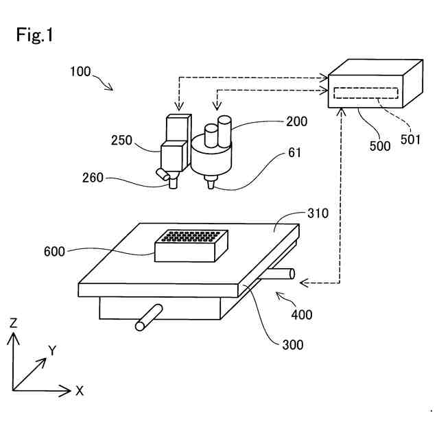
図1は、第1実施形態における三次元造形物の製造システム100の概略構成を示す説明図である。図1には、互いに直交するX,Y,Z方向を示す矢印が示されている。X方向及びY方向は、水平面に平行な方向であり、Z方向は、重力方向とは反対の方向である。X,Y,Z方向を示す矢印は、他の図においても、図示の方向が図1と対応するように適宜、図示してある。以下の説明において、向きを特定する場合には、矢印の指し示す方向である正の方向を「+」、矢印の指し示す方向とは反対の方向である負の方向を「-」として、方向表記に正負の符合を併用する。
【0009】
本実施形態における製造システム100は、造形部200と、加工部としての切削部250と、ステージ300と、移動機構400と、制御部500と、保持部600とを備えている。製造システム100は、制御部500の制御下で、造形部200に設けられたノズル61からステージ300に向かって造形材料を吐出させつつ、移動機構400を駆動させてノズル61とステージ300との相対的な位置を変化させることによって、ステージ300上に造形材料を積層し、三次元造形物を付加製造する。製造システム100は、制御部500の制御下で、切削部250に装着された切削工具260を回転させつつ、移動機構400を駆動させて切削工具260とステージ300との相対的な位置を変化させることによって、造形部200によって付加製造された三次元造形物を切削工具260で切削加工する。保持部600は、ステージ300に固定可能に構成されている。保持部600は、切削部250による切削加工時に、造形部200によって付加製造された三次元造形物を保持する。
【0010】
本実施形態の製造システム100では、まず、造形部200によってステージ300上に三次元造形物が造形される。次に、三次元造形物が上下反転にされ、三次元造形物の裏面が切削部250に対向する状態で三次元造形物の表面が保持部600に保持される。その後、三次元造形物の裏面が切削部250によって切削されることで、三次元造形物が所望の形状に加工される。
(【0011】以降は省略されています)
この特許をJ-PlatPat(特許庁公式サイト)で参照する
関連特許
セイコーエプソン株式会社
印刷装置
3日前
セイコーエプソン株式会社
印刷装置
3日前
セイコーエプソン株式会社
印刷装置
1日前
セイコーエプソン株式会社
印刷装置
1日前
セイコーエプソン株式会社
印刷装置
今日
セイコーエプソン株式会社
印刷装置
今日
セイコーエプソン株式会社
印刷装置
3日前
セイコーエプソン株式会社
印刷装置
3日前
セイコーエプソン株式会社
微細化装置
今日
セイコーエプソン株式会社
画像読取装置
3日前
セイコーエプソン株式会社
液体吐出ヘッド
3日前
セイコーエプソン株式会社
電子制御式機械時計
1日前
セイコーエプソン株式会社
スクリーンの製造方法
3日前
セイコーエプソン株式会社
栽培用培地の製造方法
今日
セイコーエプソン株式会社
電気光学装置および電子機器
今日
セイコーエプソン株式会社
インクジェットインク組成物
3日前
セイコーエプソン株式会社
レーザー干渉計および分光装置
今日
セイコーエプソン株式会社
管理サーバ、及び管理システム
3日前
セイコーエプソン株式会社
虚像表示装置及び光学ユニット
3日前
セイコーエプソン株式会社
液体回収装置及び液体回収容器
今日
セイコーエプソン株式会社
虚像表示装置及び光学ユニット
3日前
セイコーエプソン株式会社
虚像表示装置及び光学ユニット
3日前
セイコーエプソン株式会社
情報管理システム、及びサーバー
今日
セイコーエプソン株式会社
制御方法およびロボットシステム
3日前
セイコーエプソン株式会社
位相補間回路、回路装置及び発振器
今日
セイコーエプソン株式会社
表示装置および表示装置の制御方法
3日前
セイコーエプソン株式会社
プリントヘッド、及び液体吐出装置
3日前
セイコーエプソン株式会社
ヘッドユニット、及び液体吐出装置
3日前
セイコーエプソン株式会社
ヘッドユニット、及び液体吐出装置
1日前
セイコーエプソン株式会社
液体回収システム及び液体回収容器
今日
セイコーエプソン株式会社
スクリーン装置及び空間演出システム
今日
セイコーエプソン株式会社
撮像制御プログラム、及び、印刷システム
3日前
セイコーエプソン株式会社
プログラムの更新方法及び情報処理システム
3日前
セイコーエプソン株式会社
捺染インクジェットインク組成物及び記録方法
今日
セイコーエプソン株式会社
電気光学装置、表示モジュールおよび電子機器
今日
セイコーエプソン株式会社
流路接続構造、液体吐出装置、及び流路形成方法
今日
続きを見る
他の特許を見る