TOP
|
特許
|
意匠
|
商標
特許ウォッチ
Twitter
他の特許を見る
公開番号
2025141074
公報種別
公開特許公報(A)
公開日
2025-09-29
出願番号
2024040824
出願日
2024-03-15
発明の名称
再生シート生成システム、再生シート生成方法及びプログラム
出願人
セイコーエプソン株式会社
代理人
個人
,
個人
主分類
G06F
3/12 20060101AFI20250919BHJP(計算;計数)
要約
【課題】利便性を向上させることができる再生シート生成システム、再生シート生成方法及びプログラムを提供する。
【解決手段】再生シート生成システムは、シートを製造するための原材料を解繊することで繊維を生成する解繊部と、解繊部によって生成された繊維に処理剤を混合した混合物を堆積させてシートを製造するシート製造部と、シート製造部によって製造されたシートに印刷する印刷部と、シート製造部によって製造されるシート製造条件の設定を取得する取得部と、取得部によって取得されたシート製造条件の設定に基づいて、印刷部によって印刷される印刷条件の推奨設定を決定する推奨設定決定部と、を備える。印刷部は、推奨設定決定部によって決定された印刷条件の推奨設定に基づいて、シートに印刷する。
【選択図】図1
特許請求の範囲
【請求項1】
シートを製造するための原材料を解繊することで繊維を生成する解繊部と、
前記解繊部によって生成された繊維に処理剤を混合した混合物を堆積させてシートを製造するシート製造部と、
前記シート製造部によって製造されたシートに印刷する印刷部と、
前記シート製造部によって製造されるシート製造条件の設定を取得する取得部と、
前記取得部によって取得された前記シート製造条件の設定に基づいて、前記印刷部によって印刷される印刷条件の推奨設定を決定する推奨設定決定部と、
を備え、
前記印刷部は、前記推奨設定決定部によって決定された前記印刷条件の推奨設定に基づいて、シートに印刷する、
ことを特徴とする再生シート生成システム。
続きを表示(約 2,800 文字)
【請求項2】
請求項1に記載の再生シート生成システムにおいて、
前記シート製造条件の推奨設定と前記印刷条件の推奨設定との対応関係が記憶されている設定記憶部を備え、
前記推奨設定決定部は、前記設定記憶部に記憶されている前記対応関係と、前記取得部によって取得された前記シート製造条件の設定とに基づいて、前記印刷部によって印刷される前記印刷条件の推奨設定を決定する、
ことを特徴とする再生シート生成システム。
【請求項3】
請求項1に記載の再生シート生成システムにおいて、
前記印刷部は、ユーザーからの指示に応じて、前記推奨設定決定部によって決定された前記印刷条件の推奨設定に基づいて、シートに印刷する、
ことを特徴とする再生シート生成システム。
【請求項4】
請求項1に記載の再生シート生成システムにおいて、
シートを製造するための原材料に含まれる素材の種類を検出する検出部を備え、
前記取得部は、前記検出部によって検出された原材料に含まれる素材の種類に基づくシート構成成分を取得し、
前記推奨設定決定部は、前記取得部によって取得された前記シート製造条件の設定と前記シート構成成分とに基づいて、前記印刷部によって印刷される前記印刷条件の推奨設定を決定する、
ことを特徴とする再生シート生成システム。
【請求項5】
請求項1に記載の再生シート生成システムにおいて、
前記印刷部によって印刷されたシートを乾燥させる乾燥部を備え、
前記推奨設定決定部は、前記取得部によって取得された前記シート製造条件の設定に基づいて、前記乾燥部によって乾燥させる乾燥条件の推奨設定を決定する、
ことを特徴とする再生シート生成システム。
【請求項6】
請求項1に記載の再生シート生成システムにおいて、
前記印刷部によって印刷されたシートの後処理を行う後処理部を備え、
前記推奨設定決定部は、前記取得部によって取得された前記シート製造条件の設定に基づいて、前記後処理部によって後処理が行われる後処理条件の推奨設定を決定する、
ことを特徴とする再生シート生成システム。
【請求項7】
請求項1~請求項4のうち何れか一項に記載の再生シート生成システムにおいて、
解繊された繊維を用いて製造されるシートに関する制御を行う制御装置と、
前記制御装置と通信可能に接続される管理サーバーと、
を備え、
前記制御装置は、
解繊された繊維を用いてシートを製造するシート製造装置と、
前記シート製造装置によって製造されたシートに印刷する印刷装置と、を有し、
前記シート製造装置は、前記解繊部と、前記シート製造部と、を有し、
前記印刷装置は、前記印刷部を有し、
前記管理サーバーは、前記取得部と、前記推奨設定決定部と、を有し、
前記取得部は、前記制御装置から前記シート製造条件の設定を受信することにより、前記シート製造条件の設定を取得し、
前記管理サーバーは、推奨設定の提供条件が成立したときに、前記推奨設定決定部によって決定された前記印刷条件の推奨設定を前記印刷装置に提供する提供部を有する、
ことを特徴とする再生シート生成システム。
【請求項8】
請求項5に記載の再生シート生成システムにおいて、
解繊された繊維を用いて製造されるシートに関する制御を行う制御装置と、
前記制御装置と通信可能に接続される管理サーバーと、
を備え、
前記制御装置は、
解繊された繊維を用いてシートを製造するシート製造装置と、
前記シート製造装置によって製造されたシートに印刷する印刷装置と、
前記印刷装置によって印刷されたシートを乾燥させる乾燥装置と、を有し、
前記シート製造装置は、前記解繊部と、前記シート製造部と、を有し、
前記印刷装置は、前記印刷部を有し、
前記乾燥装置は、前記乾燥部を有し、
前記管理サーバーは、前記取得部と、前記推奨設定決定部と、を有し、
前記取得部は、前記制御装置から前記シート製造条件の設定を受信することにより、前記シート製造条件の設定を取得し、
前記管理サーバーは、推奨設定の提供条件が成立したときに、前記推奨設定決定部によって決定された前記印刷条件の推奨設定を前記印刷装置に提供し、前記推奨設定決定部によって決定された前記乾燥条件の推奨設定を前記乾燥装置に提供する提供部を有する、
ことを特徴とする再生シート生成システム。
【請求項9】
請求項6に記載の再生シート生成システムにおいて、
解繊された繊維を用いて製造されるシートに関する制御を行う制御装置と、
前記制御装置と通信可能に接続される管理サーバーと、
を備え、
前記制御装置は、
解繊された繊維を用いてシートを製造するシート製造装置と、
前記シート製造装置によって製造されたシートに印刷する印刷装置と、
前記印刷装置によって印刷されたシートの後処理を行う後処理装置と、を有し、
前記シート製造装置は、前記解繊部と、前記シート製造部と、を有し、
前記印刷装置は、前記印刷部を有し、
前記後処理装置は、前記後処理部を有し、
前記管理サーバーは、前記取得部と、前記推奨設定決定部と、を有し、
前記取得部は、前記制御装置から前記シート製造条件の設定を受信することにより、前記シート製造条件の設定を取得し、
前記管理サーバーは、推奨設定の提供条件が成立したときに、前記推奨設定決定部によって決定された前記印刷条件の推奨設定を前記印刷装置に提供し、前記推奨設定決定部によって決定された前記後処理条件の推奨設定を前記後処理装置に提供する提供部を有する、
ことを特徴とする再生シート生成システム。
【請求項10】
1又は複数のコンピューターが、
シートを製造するための原材料を解繊することで繊維を生成することと、
生成された繊維に処理剤を混合した混合物を堆積させてシートを製造することと、
製造されるシート製造条件の設定を取得することと、
前記シート製造条件の設定に基づいて、印刷条件の推奨設定を決定することと、
前記印刷条件の推奨設定に基づいてシートに印刷することと、
を実行する、
ことを特徴とする再生シート生成方法。
(【請求項11】以降は省略されています)
発明の詳細な説明
【技術分野】
【0001】
本発明は、再生シート生成システム、再生シート生成方法及びプログラムに関する。
続きを表示(約 1,700 文字)
【背景技術】
【0002】
例えば特許文献1のように、原材料の解繊により生成される繊維を用いてシートを製造するシート製造部と、製造されたシートに印刷を行う印刷部とを備える再生シート生成システムが開示されている。このような再生シート生成システムにおいては、シートの製造に関する設定と、シートへの印刷に関する設定とが行われる。
【先行技術文献】
【特許文献】
【0003】
特開2018-168492号公報
【発明の概要】
【発明が解決しようとする課題】
【0004】
しかしながら、このようなシステムでは、シートの製造に関する設定と、シートへの印刷に関する設定との均衡を保つことが容易ではなかった。このように、利便性を向上させることが望まれている。
【課題を解決するための手段】
【0005】
上記課題を解決する再生シート生成システムは、シートを製造するための原材料を解繊することで繊維を生成する解繊部と、前記解繊部によって生成された繊維に処理剤を混合した混合物を堆積させてシートを製造するシート製造部と、前記シート製造部によって製造されたシートに印刷する印刷部と、前記シート製造部によって製造されるシート製造条件の設定を取得する取得部と、前記取得部によって取得された前記シート製造条件の設定に基づいて、前記印刷部によって印刷される印刷条件の推奨設定を決定する推奨設定決定部と、を備え、前記印刷部は、前記推奨設定決定部によって決定された前記印刷条件の推奨設定に基づいて、シートに印刷する。
【0006】
上記課題を解決する再生シート生成方法は、1又は複数のコンピューターが、シートを製造するための原材料を解繊することで繊維を生成することと、生成された繊維に処理剤を混合した混合物を堆積させてシートを製造することと、製造されるシート製造条件の設定を取得することと、前記シート製造条件の設定に基づいて、印刷条件の推奨設定を決定することと、前記印刷条件の推奨設定に基づいてシートに印刷することと、を実行する。
【0007】
上記課題を解決するプログラムは、1又は複数のコンピューターに、シートを製造するための原材料を解繊することで繊維を生成することと、生成された繊維に処理剤を混合した混合物を堆積させてシートを製造することと、製造されるシート製造条件の設定を取得することと、前記シート製造条件の設定に基づいて、印刷条件の推奨設定を決定することと、前記印刷条件の推奨設定に基づいてシートに印刷することと、を実行させる。
【図面の簡単な説明】
【0008】
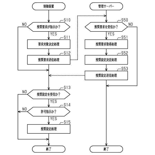
図1は、第1実施形態の再生シート生成システムを示すブロック図である。
図2は、第1実施形態の設定記憶部を示す模式図である。
図3は、第1実施形態の履歴記憶部を示す模式図である。
図4は、第1実施形態のシートにおける各種領域を示す模式図である。
図5は、第1実施形態の設定制御処理を示すフローチャートである。
図6は、第1実施形態の履歴制御処理を示すフローチャートである。
図7は、第1実施形態の履歴提供処理を示すフローチャートである。
【発明を実施するための形態】
【0009】
[第1実施形態]
以下、再生シート生成システム、再生シート生成方法及びプログラムの一実施形態について説明する。
【0010】
<再生シート生成システム10の構成>
図1に示すように、再生シート生成システム10は、原材料を解繊することで繊維を生成し、生成した繊維を用いて再生シートを生成するためのシステムである。原材料は、再生シートを製造するための材料である。原材料は、例えば衣類を含んでもよい。繊維は、例えば綿材を含んでもよい。再生シートは、例えば不織布シートであってもよい。以降、再生シートを単にシートと示す場合がある。
(【0011】以降は省略されています)
この特許をJ-PlatPat(特許庁公式サイト)で参照する
関連特許
セイコーエプソン株式会社
印刷装置
3日前
セイコーエプソン株式会社
印刷装置
1日前
セイコーエプソン株式会社
印刷装置
1日前
セイコーエプソン株式会社
印刷装置
3日前
セイコーエプソン株式会社
印刷装置
3日前
セイコーエプソン株式会社
印刷装置
3日前
セイコーエプソン株式会社
気体分離膜
3日前
セイコーエプソン株式会社
画像読取装置
3日前
セイコーエプソン株式会社
液体吐出ヘッド
3日前
セイコーエプソン株式会社
電子制御式機械時計
1日前
セイコーエプソン株式会社
スクリーンの製造方法
3日前
セイコーエプソン株式会社
治具、及び加工システム
3日前
セイコーエプソン株式会社
保持方法、及び加工方法
3日前
セイコーエプソン株式会社
三次元造形物の製造方法
3日前
セイコーエプソン株式会社
インクジェットインク組成物
3日前
セイコーエプソン株式会社
電気光学装置および電子機器
3日前
セイコーエプソン株式会社
虚像表示装置及び光学ユニット
3日前
セイコーエプソン株式会社
虚像表示装置及び光学ユニット
3日前
セイコーエプソン株式会社
管理サーバ、及び管理システム
3日前
セイコーエプソン株式会社
媒体排出装置及び画像読取装置
3日前
セイコーエプソン株式会社
虚像表示装置及び光学ユニット
3日前
セイコーエプソン株式会社
虚像表示装置及び光学ユニット
3日前
セイコーエプソン株式会社
虚像表示装置及び光学ユニット
3日前
セイコーエプソン株式会社
制御方法およびロボットシステム
3日前
セイコーエプソン株式会社
表示装置および表示装置の制御方法
3日前
セイコーエプソン株式会社
プリントヘッド、及び液体吐出装置
3日前
セイコーエプソン株式会社
ヘッドユニット、及び液体吐出装置
3日前
セイコーエプソン株式会社
ヘッドユニット、及び液体吐出装置
1日前
セイコーエプソン株式会社
撮像制御プログラム、及び、印刷システム
3日前
セイコーエプソン株式会社
三次元造形物の製造システム、及び、保持部
3日前
セイコーエプソン株式会社
プログラムの更新方法及び情報処理システム
3日前
セイコーエプソン株式会社
軟磁性粉末、圧粉磁心、磁性素子および電子機器
3日前
セイコーエプソン株式会社
テープ印刷装置およびテープ印刷装置の制御方法
3日前
セイコーエプソン株式会社
情報管理システム、管理装置、プログラム、及びサーバー
1日前
セイコーエプソン株式会社
情報管理システム、管理装置、プログラム、及びサーバー
1日前
セイコーエプソン株式会社
テストパターン、撮像制御プログラム、及び、印刷システム
3日前
続きを見る
他の特許を見る