TOP
|
特許
|
意匠
|
商標
特許ウォッチ
Twitter
他の特許を見る
10個以上の画像は省略されています。
公開番号
2025141959
公報種別
公開特許公報(A)
公開日
2025-09-29
出願番号
2025042539
出願日
2025-03-17
発明の名称
移動式ディスプレイ構造を含む電子装置
出願人
シンクウェア コーポレーション
,
THINKWARE CORPORATION
代理人
弁理士法人IPX
主分類
G09F
9/00 20060101AFI20250919BHJP(教育;暗号方法;表示;広告;シール)
要約
【課題】ディスプレイを含む電子装置の一部が移動可能な構造
【解決手段】一実施形態によれば、電子装置は、カメラと、このカメラと結合され、カメラから離隔された、曲率を有するガイド面(guide surface)を含む第1のハウジングとを含むことができる。前記電子装置は、ガイド面に少なくとも部分的に対向し、曲げられた第1の面と、この第1の面とは反対の第2の面とを含み、縮小位置(retracted position)と拡張位置(extended position)との間で、第1の面を通って前記ガイド面に沿って、第1のハウジングに対してスライド可能に結合された第2のハウジングを含むことができる。前記電子装置は、第2の面の少なくとも一部を形成し、第2のハウジングのスライディングによって、第1のハウジングに対して回転するように構成されたディスプレイを含むことができる。
【選択図】図1c
特許請求の範囲
【請求項1】
電子装置100であって、
カメラ101;
前記カメラ101と結合され、前記カメラ101から離隔された、曲率を有するガイド面(guide surface)115を含む第1のハウジング110;
前記ガイド面115に少なくとも部分的に対向し、曲げられた第1の面121と、前記第1の面121と反対の第2の面122とを含み、縮小位置(retracted position)と拡張位置(extended position)との間で、前記第1の面121を通って前記ガイド面115に沿って、前記第1のハウジング110に対してスライド可能に結合された第2のハウジング120;及び
前記第2の面122の少なくとも一部を形成し、前記第2のハウジング120のスライディングによって、前記第1のハウジング110に対して回転するように構成されたディスプレイ102を含む、電子装置100。
続きを表示(約 2,000 文字)
【請求項2】
前記第2のハウジング120は、
前記第1のハウジング110に対してスライドされることによって、前記ガイド面115と前記第1の面121との重なり面積を変化させるように構成された、請求項1に記載の電子装置100。
【請求項3】
前記第2のハウジング120は、
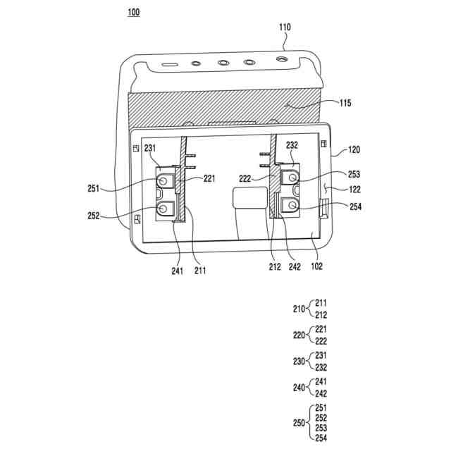
前記第1の面121に形成されたガイドホール210をさらに含み、
前記第1のハウジング110は、
前記ガイド面115から前記ガイドホール210を貫通して、前記第2のハウジング120の内部空間に延びる締結構造220をさらに含む、請求項1に記載の電子装置100。
【請求項4】
前記第2のハウジング120は、
前記ガイドホール210に対する前記締結構造220の位置を案内するためのガイドレール240を含み、前記第2のハウジング120の前記内部空間に配置されるガイド構造230をさらに含む、請求項3に記載の電子装置100。
【請求項5】
前記ガイドホール210は、
前記第1の面121に沿って曲げられた第1のガイドホール211;及び
前記第1のガイドホール211から離隔され、前記第1のガイドホール211と平行に延びる第2のガイドホール212を含み、
前記締結構造220は、
前記ガイド面115から前記第1のガイドホール211を介して、前記第2のハウジング120の前記内部空間に延びる第1の締結部221;及び
前記第1の締結部221から離隔され、前記ガイド面115から前記第2のガイドホール212を介して、前記第2のハウジング120の前記内部空間に延びる第2の締結部222を含む、請求項3に記載の電子装置100。
【請求項6】
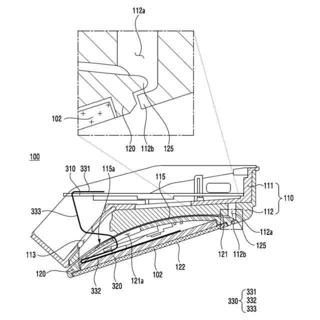
前記第1のハウジング110の内部空間に配置され、前記カメラ101に接続される第1のプリント回路基板310;
前記第2のハウジング120の内部空間に配置され、前記ディスプレイ102に接続される第2のプリント回路基板320;及び
前記第1のプリント回路基板310と接続される第1の部分331、前記第2のプリント回路基板320と接続される第2の部分332、及び前記第1の部分331と前記第2の部分332とを接続する第3の部分333を含むフレキシブルプリント回路基板330をさらに含み、
前記第3の部分333は、
前記第2のハウジング120の前記スライディングによって変形可能である、請求項1に記載の電子装置100。
【請求項7】
前記第1のハウジング110は、
前記ガイド面115に形成された第1の貫通孔115aをさらに含み、
前記第2のハウジング120は、
前記第1の面121に形成され、前記第1の貫通孔115aと少なくとも部分的に重なる第2の貫通孔121aをさらに含み、
前記第3の部分333は、
前記第1のハウジング110の前記内部空間から、前記第1の貫通孔115a、及び前記第2の貫通孔121aを介して、前記第2のハウジング120の前記内部空間に延びる、請求項6に記載の電子装置100。
【請求項8】
前記第1のハウジング110は、
前記カメラ101、及び前記第1のプリント回路基板310が配置され、外部オブジェクトに前記電子装置100を取り付けるための第1のフレーム111;
前記第1のフレーム111と結合され、前記ガイド面115を定義する(defining)第2のフレーム112;及び
前記第1のフレーム111の内部空間と前記第2のフレーム112の内部空間とを接続し、前記第3の部分333によって貫通される第3の貫通孔113をさらに含む、請求項7に記載の電子装置100。
【請求項9】
前記第2のハウジング120は、
前記第2のハウジング120の一端(end)から突出した突出部125をさらに含み、
前記第1のハウジング110は、
前記縮小位置内で、前記突出部125が挿入される締結孔112a;及び
前記締結孔112aから延び、前記突出部125と噛み合うように構成されたストッパ構造112bをさらに含む、請求項1に記載の電子装置100。
【請求項10】
前記第2のハウジング120は、
前記第1の面121から前記ガイド面115に向かって突出した突出構造410をさらに含み、
前記第1のハウジング110は、
前記ガイド面115から前記第1のハウジング110の内部空間に向かって凹んだ、前記突出構造410を受け入れるための少なくとも1つのガイド溝420をさらに含む、請求項1に記載の電子装置100。
(【請求項11】以降は省略されています)
発明の詳細な説明
【技術分野】
【0001】
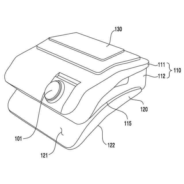
本開示は、移動式ディスプレイ構造を含む電子装置に関する。
続きを表示(約 2,400 文字)
【背景技術】
【0002】
電子装置は、ユーザの要求(demand)に応じて、電子装置周辺の様々な環境に関する視覚情報を提供するためのディスプレイを含むことができる。電子装置は、ディスプレイの周辺環境に関する視覚情報を提供する機能を支援するために、ディスプレイの位置を容易に調整するための構造が必要とされる場合がある。
【0003】
前述の情報は、本開示の理解を助けることを目的とする背景技術(related art)として提供することができる。前述のいずれも、本開示に関連する先行技術(prior art)として適用可能であるかどうかについては、いかなる主張も決定も行われない。
【発明の概要】
【発明が解決しようとする課題】
【0004】
電子装置は、電子装置の周辺環境に関連する情報を取得することに基づいて、前記周辺環境に関連する視覚情報を前記電子装置のディスプレイを介して提供するように構成されてもよい。前記電子装置は、この電子装置が据え置かれるオブジェクトに応じて、前記電子装置の周辺環境に関連する視覚情報を、前記ディスプレイを介して提供するための視野角を調整することは、容易ではない可能性がある。例えば、電子装置は、車両(vehicle)の外部環境に関する情報を取得するように構成されたブラックボックス(dashcam)であり得る。車両のフロントガラス(windshield)に密着された電子装置は、前記ディスプレイの様々な視野角を提供するために、前記ディスプレイを含む電子装置の一部(例えば、構造及び/又はハウジング)が移動可能な構造を必要とすることがある。
【0005】
本明細書で達成しようとする技術的課題は、前記の技術的課題に限定されず、記載されていない他の技術的課題は、以下の記載から本開示が属する技術分野における通常の知識を有する者に明確に理解されるだろう。
【課題を解決するための手段】
【0006】
電子装置が開示されている。一実施形態によれば、電子装置は、カメラ、及びこのカメラと結合され、前記カメラから離隔された、曲率を有するガイド面(guide surface)を含む第1のハウジングを含むことができる。前記電子装置は、前記ガイド面に少なくとも部分的に対向し、曲げられた第1の面と、前記第1の面とは反対の第2の面とを含み、縮小位置(retracted position)と拡張位置(extended position)との間で、前記第1の面を通って前記ガイド面に沿って、前記第1のハウジングに対してスライド可能に結合された第2のハウジングを含むことができる。前記電子装置は、前記第2の面の少なくとも一部を形成し、前記第2のハウジングのスライディングによって、前記第1のハウジングに対して回転するように構成されたディスプレイを含むことができる。
【0007】
電子装置が開示されている。一実施形態によれば、電子装置は、カメラ、及びこのカメラと結合され、前記カメラから離隔された、曲率を有するガイド面を含む第1のハウジングを含むことができる。前記電子装置は、前記ガイド面に少なくとも部分的に対向し、前記ガイド面の形状に対応する形状を有する第1の面と、前記第1の面とは反対であり、平坦な形状を有する第2の面とを含み、縮小位置と拡張位置との間で、前記第1の面を通って前記ガイド面に沿って、前記第1のハウジングに対してスライド可能に結合された第2のハウジングを含むことができる。前記電子装置は、前記第2の面の少なくとも一部を形成するディスプレイを含むことができる。前記第2のハウジングは、前記第1のハウジングに対してスライドすることによって、前記ガイド面と前記第1の面との重なり面積を変えるように構成されてもよい。
【発明の効果】
【0008】
一実施形態による電子装置は、ディスプレイを含む第2のハウジングが第1のハウジングに対して、縮小位置と拡張位置との間で、スライド可能であるように、前記第1のハウジングに結合される構造を含むことによって、前記ディスプレイに様々な視野角を提供することができる。
【0009】
本開示で得られる効果は、前記で言及した効果に限定されず、言及しない他の効果は、以下の記載から本開示が属する技術分野における通常の知識を有する者に明確に理解され得るだろう。
【図面の簡単な説明】
【0010】
例示的な電子装置の斜視図(perspective view)である。
第1の状態内の例示的な電子装置の背面を示す。
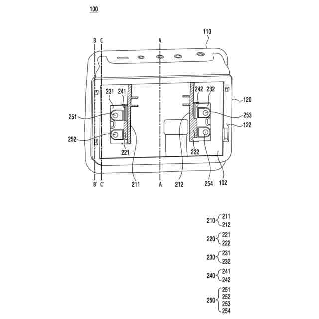
第2の状態内の例示的な電子装置の背面を示す。
第1の状態内の例示的な電子装置の一部を示す。
第2の状態内の例示的な電子装置の一部を示す。
図2aの線A-A'に沿って切断された第1の状態内の例示的な電子装置の断面図(cross-sectional view)である。
第2の状態内の例示的な電子装置の断面図である。
図2aの線B-B'に沿って切断された第1の状態内の例示的な電子装置の断面図である。
第2の状態内の例示的な電子装置の断面図である。
図2aの線C-C'に沿って切断された第1の状態内の例示的な電子装置の断面図である。
第2の状態内の例示的な電子装置の断面図である。
様々な車両(vehicles)に取り付けられた例示的な電子装置を示す。
様々な車両に取り付けられた例示的な電子装置を示す。
【発明を実施するための形態】
(【0011】以降は省略されています)
この特許をJ-PlatPat(特許庁公式サイト)で参照する
関連特許
日本精機株式会社
表示装置
8日前
個人
計算用教具
4日前
中国電力株式会社
標示旗
14日前
日本精機株式会社
車両用センサ装置
4日前
個人
モデルで薔薇の花嫁様を描く為
25日前
シャープ株式会社
表示装置
15日前
株式会社ウメラボ
学習支援システム
今日
ニチレイマグネット株式会社
磁着式電飾装置
14日前
株式会社リコー
画像投射システム
15日前
シチズンファインデバイス株式会社
液晶表示装置
23日前
学校法人関西医科大学
腹腔鏡手術訓練装置
14日前
セイコーエプソン株式会社
表示方法
23日前
セイコーエプソン株式会社
表示方法
23日前
キヤノン株式会社
発光装置
7日前
TOPPANホールディングス株式会社
ラベル
4日前
株式会社半導体エネルギー研究所
表示装置、画像データの処理方法
4日前
セイコーエプソン株式会社
表示装置及び電子機器
23日前
セイコーエプソン株式会社
電気光学装置の製造方法
25日前
リンテック株式会社
擬似接着ラベル
4日前
日本電気株式会社
予兆検出システム、予兆検出方法及びプログラム
今日
株式会社ジャパンディスプレイ
表示装置
22日前
株式会社ジャパンディスプレイ
表示装置
15日前
セイコーエプソン株式会社
電気光学装置および電子機器
25日前
セイコーエプソン株式会社
電気光学装置および電子機器
25日前
日本フォームサービス株式会社
マルチディスプレイ取付け装置
25日前
東京ケーブルネットワーク株式会社
コミュニケーションデジタルサイネージ
今日
トヨタ自動車株式会社
ステアリングシステム
16日前
一般社団法人ハートウエアラボ
会話システム及び会話装置
4日前
株式会社リクルート
学習支援装置およびプログラム
今日
株式会社リクルート
学習支援装置およびプログラム
今日
TOPPANホールディングス株式会社
保護シート
今日
トヨタ自動車株式会社
情報表示システム
22日前
TOPPANホールディングス株式会社
表示システム
1日前
シャープ株式会社
カバー部材取付構造および表示装置
14日前
TOPPANホールディングス株式会社
表示システム
1日前
カシオ計算機株式会社
端末装置及びプログラム
2日前
続きを見る
他の特許を見る