TOP
|
特許
|
意匠
|
商標
特許ウォッチ
Twitter
他の特許を見る
10個以上の画像は省略されています。
公開番号
2025156507
公報種別
公開特許公報(A)
公開日
2025-10-14
出願番号
2025129945,2024131184
出願日
2025-08-04,2019-06-19
発明の名称
表示パネル
出願人
株式会社半導体エネルギー研究所
代理人
主分類
G09F
9/30 20060101AFI20251002BHJP(教育;暗号方法;表示;広告;シール)
要約
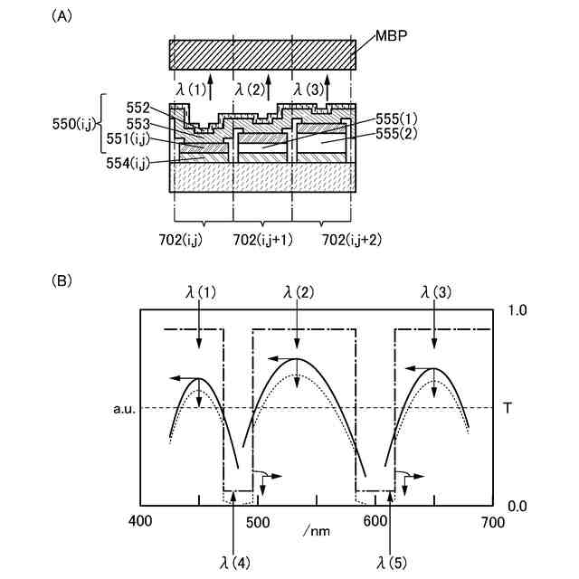
【課題】利便性、有用性または信頼性に優れた新規な表示パネルを提供する。
【解決手段】表示領域を有する表示パネルであって、第1の画素、第2の画素、第3の画
素およびフィルターを備え、第1の画素は第1の波長に極大を有するスペクトルの光を射
出し、第2の画素は第2の波長に極大を有するスペクトルの光を射出し、第3の画素は第
3の波長に極大を有するスペクトルの光を射出する。また、フィルターは第1の画素と重
なる領域、第2の画素と重なる領域および第3の画素と重なる領域を備え、フィルターは
第4の波長および第5の波長に極小を有する透過率スペクトルを備え、第2の波長は第1
の波長より長く、第3の波長は第2の波長より長く、第4の波長は第1の波長および第2
の波長の間にあり、第5の波長は第2の波長および第3の波長の間にある。
【選択図】図2
特許請求の範囲
【請求項1】
第1の基材と、第2の基材と、前記第1の基材と前記第2の基材との間の封止材と、を有する表示パネルであって、
前記表示パネルは第1乃至第3の画素を有し、
前記第1の画素は、第1の反射膜、第1の発光素子、第1のトランジスタ及び第2のトランジスタを有し、
前記第2の画素は、第2の反射膜、第1の調整層、第2の発光素子、第3のトランジスタ及び第4のトランジスタを有し、
前記第3の画素は、第3の反射膜、第2の調整層、第3の発光素子、第5のトランジスタ及び第6のトランジスタを有し、
前記第1の発光素子から射出された光は、フィルターを透過して第1の波長に極大を有するスペクトルの光として射出され、
前記第2の発光素子から射出された光は、前記フィルターを透過して第2の波長に極大を有するスペクトルの光として射出され、
前記第3の発光素子から射出された光は、前記フィルターを透過して第3の波長に極大を有するスペクトルの光として射出され、
前記フィルターは、前記第1の画素と重なる領域、前記第2の画素と重なる領域および前記第3の画素と重なる領域を備え、
前記フィルターは、第4の波長および第5の波長に極小を有する透過率スペクトルを備え、
前記第2の波長は、前記第1の波長より長く、
前記第3の波長は、前記第2の波長より長く、
前記第4の波長は、前記第1の波長および前記第2の波長の間にあり、
前記第5の波長は、前記第2の波長および前記第3の波長の間にあり、
前記フィルターは、前記第4の波長を含む幅20nmの波長帯において、0.5以下の透過率を備え、
前記フィルターは、前記第5の波長を含む幅30nmの波長帯において、0.5以下の透過率を備え、
前記フィルターは、前記第1の波長、前記第2の波長および前記第3の波長において、0.85以上の透過率を備え、
前記第1の基材上に、前記第1のトランジスタ、前記第3のトランジスタ、前記第5のトランジスタ、第1の導電膜、第2の導電膜及び第3の導電膜を有し、
前記第1のトランジスタ上、前記第3のトランジスタ上、前記第5のトランジスタ上、前記第1の導電膜上、前記第2の導電膜上及び前記第3の導電膜上に、絶縁膜を有し、
前記絶縁膜上に、前記第2のトランジスタの半導体膜、前記第4のトランジスタの半導体膜及び前記第6のトランジスタの半導体膜が設けられ、
前記第1のトランジスタのソース電極またはドレイン電極の一方は、前記第2のトランジスタのゲート電極として機能し、
前記第2のトランジスタのソース電極またはドレイン電極の一方は、前記第1の発光素子の一方の電極と電気的に接続され、
前記第2のトランジスタのソース電極またはドレイン電極の他方は、前記第1の導電膜と電気的に接続され、
前記第3のトランジスタのソース電極またはドレイン電極の一方は、前記第4のトランジスタのゲート電極として機能し、
前記第4のトランジスタのソース電極またはドレイン電極の一方は、前記第2の発光素子の一方の電極と電気的に接続され、
前記第4のトランジスタのソース電極またはドレイン電極の他方は、前記第2の導電膜と電気的に接続され、
前記第5のトランジスタのソース電極またはドレイン電極の一方は、前記第6のトランジスタのゲート電極として機能し、
前記第6のトランジスタのソース電極またはドレイン電極の一方は、前記第3の発光素子の一方の電極と電気的に接続され、
前記第6のトランジスタのソース電極またはドレイン電極の他方は、前記第3の導電膜と電気的に接続され、
前記第1の発光素子の一方の電極は、前記第1の反射膜上に接して設けられ、
前記第1の調整層は、前記第2の発光素子の一方の電極と前記第2の反射膜との間に設けられ、
前記第2の調整層は、前記第3の発光素子の一方の電極と前記第3の反射膜との間に設けられ、
前記第2の調整層の光学距離は、前記第1の調整層の光学距離より長く、
前記第1の画素、前記第2の画素及び前記第3の画素のそれぞれに対応する複数のカラーフィルターを有さない、表示パネル。
発明の詳細な説明
【技術分野】
【0001】
本発明の一態様は、表示パネル、表示装置、入出力装置、情報処理装置または半導体装置
に関する。
続きを表示(約 1,300 文字)
【0002】
なお、本発明の一態様は、上記の技術分野に限定されない。本明細書等で開示する発明の
一態様の技術分野は、物、方法、または、製造方法に関するものである。または、本発明
の一態様は、プロセス、マシン、マニュファクチャ、または、組成物(コンポジション・
オブ・マター)に関するものである。そのため、より具体的に本明細書で開示する本発明
の一態様の技術分野としては、半導体装置、表示装置、発光装置、蓄電装置、記憶装置、
それらの駆動方法、または、それらの製造方法、を一例として挙げることができる。
【背景技術】
【0003】
吸収層と、吸収層が重なる導電膜と、導電膜と電気的に接続される発光モジュールと、を
有し、導電膜は可視光を反射し、発光モジュールは、可視光領域の一の波長に極大を備え
るスペクトルの光を吸収層に向けて射出し、吸収層は、一の波長より短い波長を有する光
の一部および一の波長より長い波長を有する光の一部を一の波長を有する光より吸収する
、発光装置が知られている(特許文献1)。
【先行技術文献】
【特許文献】
【0004】
特開2014-239032号公報
【発明の概要】
【発明が解決しようとする課題】
【0005】
本発明の一態様は、利便性、有用性または信頼性に優れた新規な表示パネルを提供するこ
とを課題の一とする。または、利便性、有用性または信頼性に優れた新規な表示装置を提
供することを課題の一とする。または、利便性、有用性または信頼性に優れた新規な入出
力装置を提供することを課題の一とする。または、利便性、有用性または信頼性に優れた
新規な情報処理装置を提供することを課題の一とする。または、新規な表示パネル、新規
な表示装置、新規な入出力装置、新規な情報処理装置または新規な半導体装置を提供する
ことを課題の一とする。
【0006】
なお、これらの課題の記載は、他の課題の存在を妨げるものではない。なお、本発明の一
態様は、これらの課題の全てを解決する必要はないものとする。なお、これら以外の課題
は、明細書、図面、請求項などの記載から、自ずと明らかとなるものであり、明細書、図
面、請求項などの記載から、これら以外の課題を抽出することが可能である。
【課題を解決するための手段】
【0007】
(1)本発明の一態様は、表示領域を有する表示パネルである。
【0008】
表示領域は、第1の画素、第2の画素、第3の画素およびフィルターを備える。
【0009】
第1の画素は、第1の波長λ(1)に極大を有するスペクトルの光を射出する。
【0010】
第2の画素は、第2の波長λ(2)に極大を有するスペクトルの光を射出する。
(【0011】以降は省略されています)
この特許をJ-PlatPat(特許庁公式サイト)で参照する
関連特許
個人
回転式カード学習具
1か月前
日本精機株式会社
表示装置
26日前
個人
計算用教具
22日前
中国電力株式会社
標示旗
1か月前
個人
モデルで薔薇の花嫁様を描く為
1か月前
個人
微細構造を模した理科学習教材
5日前
日本精機株式会社
車両用センサ装置
22日前
株式会社一弘社
情報表示板
1か月前
シャープ株式会社
表示装置
1か月前
株式会社ウメラボ
学習支援システム
18日前
株式会社ウメラボ
学習支援システム
12日前
ニチレイマグネット株式会社
磁着式電飾装置
1か月前
リンテック株式会社
表示体
11日前
株式会社リコー
画像投射システム
1か月前
学校法人関西医科大学
腹腔鏡手術訓練装置
1か月前
BEST株式会社
吊り下げ表示部材
2か月前
シチズンファインデバイス株式会社
液晶表示装置
1か月前
セイコーエプソン株式会社
表示方法
1か月前
セイコーエプソン株式会社
表示方法
1か月前
リンテック株式会社
粘着ラベル
12日前
ニプロ株式会社
シミュレータ
1か月前
TOPPANホールディングス株式会社
ラベル
22日前
ローム株式会社
暗号化装置
12日前
キヤノン株式会社
発光装置
25日前
株式会社JVCケンウッド
液晶表示装置および制御方法
7日前
セイコーエプソン株式会社
投射型表示装置
12日前
公立大学法人札幌市立大学
化学構造模型
13日前
アルプスアルパイン株式会社
表示装置
今日
株式会社半導体エネルギー研究所
表示装置、画像データの処理方法
22日前
アルプスアルパイン株式会社
情報処理システム
13日前
矢崎総業株式会社
発光制御装置
1か月前
日本放送協会
情報提示システム、領域抽出装置及びプログラム
11日前
株式会社小糸製作所
照明表示装置
11日前
セイコーエプソン株式会社
表示装置及び電子機器
12日前
セイコーエプソン株式会社
表示装置及び電子機器
1か月前
大日本印刷株式会社
学習支援装置及びプログラム
13日前
続きを見る
他の特許を見る